Для тяжелых грузовых операций с трубами будем
использовать лебедку бурового станка СКБ-4 с талевой оснасткой. Буровой станок
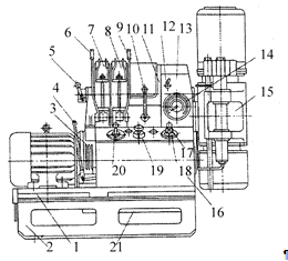
СКБ-4 представлен на рис.4, является шпиндельным станком моноблочной компоновки
с продольным расположением лебедки и системой гидравлической подачи
инструмента.
Рис. 4. Буровой станок СКБ-4
- станина; 2 - рама; 3 - сцепление; 4 - рукоятка
сцепления; 5 - рукоятка включения лебедки; 6, 9 - рычаги тормозов подъема и
спуска; 7, 8 - тормоза подъема и спуска; 10 - рычаг коробки передач; 11 -
лебедка; 12 - рукоятка раздаточной коробки; 13 - трансмиссия; 14 - указатель
давления; 15 - вращатель; 16 - гидросистема станка с автоперехватом; 17 -
дроссель; 18 - прибор управления; 19 - регулятор подачи; 20 - распределитель;
21 - цилиндр перемещения станка.
На станине собраны: электродвигатель, коробка передач со сцеплением от автомобиля ЗИЛ-131, раздаточная коробка с закрепленным на ее фланце вращателем, лебедка, тормоза спуска и подъема, маслонасос с индивидуальным электроприводом, пульт управления гидросистемой, маслобак, ручной маслонасос и цилиндр перемещения станка с гидрозамком. Станина установлена на раме, которая является основанием станка, соединяющимся с основанием буровой установки или каким-либо другим фундаментом с помощью анкерных болтов.
К особенностям станка относятся: высокая частота
вращения шпинделя и рациональное распределение диапазона скоростей; плавность
подачи бурового инструмента с помощью новой гидросистемы с напорным золотником
и дросселем на сливе; возможность бурения снарядами со съемным керноприемником
(для чего увеличен диаметр проходного отверстия шпинделя); оснащение
усовершенствованной системой автоматического перехвата ведущей трубы в процессе
бурения без остановки вращения; установка указателя давления на забой
киловаттметра, которые обеспечивают достаточную информацию о технологическом
процессе. В станке применены автомобильная коробка скоростей и муфта сцепления
автомашины ЗИЛ-131, имеющие высокую надежность. Технические характеристики
бурового станка СКБ-4 представлены ниже в табл. 4.
Таблица 4.
Технические характеристики бурового станка СКБ-4.
|
Параметры |
СКБ-4 |
|
Привод: |
|
|
Тип |
АД |
|
Мощность, кВт |
22 |
|
Лебедка: |
|
|
Тяговое усилие максимальное, кН |
26 |
|
Скорость намотки каната на барабан, м/с: |
|
|
Максимальная |
1,8 |
|
Минимальная |
0,45 |
|
Регулирование скорости намотки |
Дискретное 4 ск. |
|
Вращатель: |
|
|
Крутящий момент максимальный, кН·м |
127 |
|
Частота вращения шпинделя: |
|
|
Диапазон, об/мин |
155-1600 |
|
Регулирование |
Дискретное 8 ск. |
|
Усилие подачи шпинделя, кН: |
|
|
Верх |
60 |
|
Вниз |
40 |
|
Диаметр проходного отверстия шпинделя, мм |
55 |
|
Длина хода подачи, мм |
400 |
|
Дополнительные устройства: |
|
|
Гидропатрон |
2 |
|
Автоперехват |
- |
|
Длина |
1800 |
|
Ширина |
1200 |
|
Высота |
1800 |
|
Масса, кг: |
|
|
Станок (без маслостанции, шкафа управления, преобразователя). |
1800 |
В качестве одного из важнейших узлов - вращателя
- будем использовать вращатель ВМБ-5. Наиболее простым в изготовлении, надежным
и удобным в работе для бурения с ПБУ скважин глубиной до 100 метров, при глубине
моря до 50 метров является вращатель для моского бурения ВМБ-5, представленный
на рис. 5. Он состоит из станины на которой смонтировано серийно выпускаемое
оборудование: электродвигатель, муфта сцепления, коробка передач, ротор буровой
установки УРБ-3АМ. Конструктивная особенность ВМБ-5 - стол ротора, снабженный
двумя вкладышами: наружным и внутренним. Причем внутренний вкладыш соединен с
наружным, а последний со столом ротора шарнирно при помощи пальцев,
установленных в двух диаметрально перпендикулярных плоскостях. Это исключает
изгиб ведущей штанги при наклоне палубы ПБУ до 10°.
Рис. 5. Вращатель морской буровой ВМБ-5:
- станина; 2 - рото; 3 - наружный вкладыш; 4 -
внутренний вкладыш; 5 - пальцы; 6 - коробка передач; 7 - электродвигатель; 8 -
рельсовые пути; 9 - четырехгранная ведущая штанга; 10 - груз для передачи
усилия на забой.
ВМБ-5 монтируют на установленных на ПБУ рельсах,
с возможностью его перемещения по ним на роликах к скважине и от скважины и
стопорения в этих положениях при помощи шаровых стопоров. Передвижение
вращателя осуществляют тросом лебедки через канифас-блоки. Технические
характеристики вращателя ВМБ-5 представлена ниже в табл.5.
Таблица 5.
Технические характеристики вращателя ВМБ-5.
|
Параметры |
ВМБ-5 |
|
Способ устранения влияния качки |
Шарнирный вкладыш ротора |
|
Проходное отверстие ротора, мм |
250 |
|
Частота вращения ротора, об/мин |
45, 94, 170, 290, 37 (обратный ход) |
|
Мощность привода, кВт |
7,5 |
|
Габариты, мм |
|
|
Длина |
2055 |
|
Ширина |
950 |
|
Высота |
1100 |
|
Масса, кг |
820 |
Для ликвидации прихватов инструмента в
неглубоких скважинах (до 100 - 150 м) будем использовать поверхностные
вибраторы. Благодаря расположению их над устьем скважины и без ограничения в
размерах, удается передать на бурильную или обсадную колонну продольную
вибрацию значительной мощности. Выбираем вибратор ВБ-7М технические
характеристики которого представлены ниже в табл. 6:
Таблица 6.
Технические характеристики вибратора ВБ-7М
|
Параметры |
ВБ-7М |
|
Момент эксцентриков, Н·м |
24 |
|
Угловая
скорость, |
141,4 |
|
Масса, кг |
600 |
По устройству вибратор состоит из корпуса в котором на горизонтальном валу расположен эксцентричный груз-дебаланс. Вал с дебалансом получает вращение через клиноременную передачу от электродвигателя, установленного через прокладку на корпусе вибратора.
Корпус имеет резьбовой ниппель для соединения с аварийной колонной и серьгу для соединения с канатом лебедки. Вибратор закрепляют на бурильной колонне, дают натяжку колонне лебедкой и после этого включают. Освобождение от легкого прихвата наступает через 15-20 минут работы вибратора. На тяжелый прихват может быть затрачено 4-5 часов. Эффективность применения вибратора снижается с увеличением глубины прихвата ввиду поглощения вибрации массой бурильных труб.
Буровые насосы предназначены для подачу в
скважину промывочной жидкости с целью очистки забоя и ствола скважины от шлама
и выноса его на поверхность, охлаждения ПРИ и привода в действие гидравлических
забойных двигателей. Выбранный буровой насос представлен ниже на рис. 6.
Рис. 6. Буровой насос НБЗ-120/40.
- насос; 2 - приводной блок; 3,4 - раздельные рамы, соединенные болтами; 5 - клиноременная передача; 6 - ограждение; 7 - сальник с плунжером; 8 - манометр; 9 - предохранительный клапан.
Технические характеристики насоса НБЗ-120/40
представлены в табл. 7:
Таблица 7.
Технические характеристики насоса НБЗ-120/40
|
Параметры: |
НБЗ-120/40 |
|
Подача, л/мин |
15-120 |
|
Максимальное давление, мПа |
4; 2 |
|
Число цилиндров (плунжеров) |
3 |
|
Диаметр цилиндра (плунжера), мм |
63 |
|
Длина хода поршня (плунжера), мм |
60 |
|
Число двойных ходов поршня в 1 мин |
31-49 |
|
Диаметр внутреннего рукава: |
|
|
Всасывающего |
50 |
|
Напорного |
38 |
|
Шифр двигателя |
АО2-51-4 |
|
Мощность привода, кВт |
7,5 |
|
Габаритные размеры (без двигателя), мм: |
|
|
Длина |
945 |
|
Ширина |
610 |
|
Высота |
400 |
|
Масса (без двигателя), кг |
400 |
.3 Выбор бурового инструмента
Буровой инструмент для бурения инженерно-геологических скважин делится на 4 основные группы: технологический, вспомогательный, специальный, аварийный.
Технологический инструмент предназначен для разбуривания проходимых пород и отбора керна. При разведке морских россыпных месторождения и проведении инженерно-геологических изысканий с ПБУ применяют в основном не стандартный инструмент: стаканы забивные и гидропоршневые, гидростатические желонки и раскрепляемые в обсадной колонне керноприемники, ударная штанга при ударно забивном бурении и колонковый набор, бурильные трубы и т.д. при вращетельном бурении.
Вспомогательный инструмент предназначен для обслуживания технологического инструмента при бурении. Так же служит для проведения спускоподъемных операций с буровыми снарядами и обсадными колоннами, предотвращения или устранения геологических осложнений в скважине, разобщении пластов и др.
Вспомогательный инструмент представлен полуавтоматическим элеватором, шарнирным ключем для бурильных труб, шарнирным хомутом, подкладной вилкой, клещами короночными и шарнирным ключом для колонковых и обсадных труб.
Аварийный инструмент предназначен для предотвращения возникающих аварийных ситуаций. В качестве аварийного инструмента применяют: ерши, ловильные вилки, канаторезки, шлипсы и т.д.
А вот для специальных работ в скважинах, которые исправляют искривления и бурят в заданном направлении, служит специальный буровой инструмент, представленный обсадными трубами и принадлежностями к ним (наголовник, забивной снаряд, башмаки).
Из стандартного инструмента при бурении с ПБУ используют долота, делонки обыкновенные с плоским клапаном, штанги ударные, штанги раздвижные, канатные замки.
Технологический инструмент.
Забивные стаканы - служат для бурения связных
пород типа увлажененных глин и суглинков с отбором образцов в виде керна. Схема
забивных стаканов представлена на рис. 7:
а) глухой стакан:
- башмак; 2 - корпус; 3 - переходник; 4 - головка.
б) разрезной стакан:
- башмак; 2 - лепестковый клапан; 3 - корпус; 4 - крышка стакана; 5 - переходник; 6 - головка; 7 - язычок.
Рис. 7. Забивные стаканы.
Ударные штанги предназначены для увеличения
массы инструмента в целях повышенной эффективности разрушения породы,
сохранения вертикального направления бурового инструмента. Схема ударной штанги
представлена ниже на рис. 8:
- ловитель (овершот, шлипс)
- штанга (m = 200-400 кг)
- канатный замок
- канат
Рис. 8. Ударная штанга.
Желонки - предназначены для непосредственного
бурения в рыхлых породах (песках, супесях, галечниках) и для удаления из
скважины шлама при бурении долотами в плотных твердых породах. В практике
бурения при разведке россыпных месторождений применяют поршневые желонки
конструкции ВНИИ-1 типа Р-8ЖА-4У с шаровым клапаном. Схема поршневых желонок
представлена на рис. 9:
а) с плоским клапаном и поршнем: 1 - башмак; 2 - клапан; 3 - поршень; 4 - резиновый клапан; 5 - шарнир: 6 - корпус; 7 - окно; 8 - шток; 9 - кольцо для присоединения каната.
б) с шаровым клапаном и поршнем: 1 - башмак; 2 -
шаровой клапан; 3 - поршень; 4 - поршень; 5 - втулка; 6 - гайка; 7,9 -
резиновые амортизаторы; 8 - шток; 10 - дужка для присоединения клапана; 11 -
манжеты.
При вращательном способе бурения в состав
технологического инструмента входят: колонковый набор, представленный на рис.
10 (буровая коронка, кернорвательное устройство, колонковая труба, переходники,
шламовая труба), бурильные трубы геологоразведочного сортамента.
Рис. 10. Набор инструмента для колонкового бурения:
- буровая коронка; 2 - колонковая труба; 3 -
трубный переходник; 4 - шламовая труба; 5 - бурильные трубы; 6, 7, - ниппели
для соединения бурильных труб (6 - ниппель типа Б; 7 - ниппель типа А); 8 -
переходник для соединения бурового сальника с бурильной колонной; 9 - буровой
сальник; 10 - полуавтоматический элеватор; 11 - пробка; 12 - элеватор; 13 -
шарнирный ключ для бурильных труб; 14 - шарнирный хомут; 15 - вилка
подкладная; 16 - вилка ведущая; 17 - клеши короночные; 18 - шарнирный ключ для
колонковых и обсадных труб; 19 - шланг нагнетательный; 20 - хомутики для
крепления шланга к сальнику; 21 -шарик; 22 -корпус кернователя; 23 -
кернорвательное кольцо
Буровая коронка - это породоразрушающий инструмент, предназначенный для разрушения горных пород. В зависимости от категории пород по буримости используют твердосплавные или алмазные коронки. Любая коронка состоит из стального корпуса и режущих элементов. В нижней части коронки находятся отверстия для прохода промывочной жидкости, верхняя часть коронки имеет резьбу для присоединения к трубе. Используем твердосплавные самозатачивающиеся коронки типа СА1. Режим бурения с твердосплавными коронками с наружным диаметром 112 мм:
тип коронки :СА1;
осевая нагрузка на коронку, кН: 8-12,8;
частота вращения снаряда, об/мин: 135-260;
расход промывочной жидкости, л/мин:90-140.
- корпус кернорвателя;
- рвательное кольцо
Рис. 11. Кернорвательное устройство для
твердосплавного бурения.
Кернорвательное устройство (кернорватель) - это часть колонкового набора, предназначенная для отрыва керна от массива горной породы и удержания его в колонковой трубе при подъеме бурового снаряда. Кернорватели и способы отрыва и удержания керна обеспечивают: беспрепятственное поступление керна в керноприемную трубу; свободный доступ промывочной жидкости к забою скважины; беспрепятственное формирование керна буровой колонной; надежный срыв и удержание керна при подъеме инструмента.
Кернорватель расположен между коронкой и колонковой трубой. Он состоит из полого цилиндрического корпуса с внутренней конической расточкой, расширяющейся кверху, в которой помещается рвательная пружина, представляющая собой разрезанное по образующей коническое пружинное кольцо с внутренними выступами. Во время бурения пружина кернорвателя не мешает вхождению керна в колонковую трубу, а при подъеме колонкового снаряда пружина вследствие трения о поверхность керна входит в суженную часть конической расточки корпуса, крепко сжимает керн и срывает его.
Колонковые трубы предназначены для приема керна, последующего транспортирования его на поверхность и поддержание заданного направления ствола скважины в процессе бурения. Колонковые трубы изготовляют из заготовок, предназначенных для обсадных труб. На обоих концах колонковой трубы нарезана внутренняя тапецеидальная резьба. Для их изготовления применяется сталь с пределом прочности при растяжении 650 МПа и пределом текучести не менее 380 МПа. Колонковые трубы изготовляются длиной 1,5 м, 3,0 м, 4,5 м и 6,0 м в зависимости от наружного диаметра трубы. В длинный колонковый набор трубы собираются с помощью ниппелей. Основные размеры колонковых наборов в мм: