Материал: Морское бурение разведочных скважин

Внимание! Если размещение файла нарушает Ваши авторские права, то обязательно сообщите нам

Морское бурение разведочных скважин

Министерство образования и науки Российской Федерации

ФГБОУ ВПО «РОССИЙСКИЙ ГОСУДАРСТВЕННЫЙ ГЕОЛОГОРАЗВЕДОЧНЫЙ УНИВЕРСИТЕТ имени Серго Орджоникидзе» (МГРИ-РГГРУ)

Кафедра геотехнологии и комплексного освоения месторождений полезных ископаемых





Курсовой проект

На тему «Морское бурение разведочных скважин»


Проверил: старший преподаватель

Богданов П. В.

Выполнил: студент группы РТМО-10

Комиссаров А. О.






Москва 2014

Содержание

Введение

Глава 1. Краткая геологическая характеристика участка работ

Глава 2.  Выбор способа бурения и построения конструкции скважины

.1 Выбор способа бурения

.2 Обоснование конструкции скважины

Глава 3. Выбор плавучей буровой установки, бурового оборудования

и инструмента

.1 Выбор плавучей буровой установки

.2 Выбор бурового оборудования

.3 Выбор бурового инструмента

.4 Проверочный расчет буровой вышки

Глава 4. Технология бурения скважин

.1 Технология погружения обсадной колонны

.2 Технология отбора керна

.3 Технология вращательного бурения

.4 Составление геологического наряда

Глава 5. Организация работ по морскому бурению скважин

.1 Подготовительные работы

.2 Организация процесса морского бурения

.3 Ликвидационные работы

.4 Охрана окружающей среды

.5 Технологии безопасности при морском бурении скважин

Список используемой литературы

Введение

Основной целью курсового проектирования является закрепление теоретических знаний по курсу «Морское бурение инженерно-геологических скважин», выработка навыков самостоятельной работы по решению инженерных задач по морскому бурению скважин с использованием специальной технической и справочной литературы.

Россыпями называются рыхлые отложения содержащие скопление зерен полезных минералов таких как золото, серебро, платина, олово (касситерит), магнетит, рутил, ильменит, цирконий, алмазы, сапфиры, янтарь и другие.

Бурение при поисках и разведке россыпей и стройматериалов - наиболее распространенный способ оценки большинства видов полезных ископаемых на всех стадиях геологоразведочных работ. В прошлом широко применялось бурение вручную и с помощью лошадиной тяги (комплект Эмпайр и др.). В настоящее время обычно используется механическое бурение, хотя в некоторых странах до сих пор сохранилось и ручное оборудование. Наиболее распространено ударно-канатное бурение. Однако намается тенденция к увеличению объема колонкового бурения, позволяющего получить ненарушенный керн, проводить качественную и информативную документацию, надежное опробование. К недостаткам колонкового бурения относятся ограниченная возможность его применения и резкое снижение выхода керна при сложном геологическом разрезе, особенно при наличии крупнообломочных и слабосцементированных отложений, плывунов, а также более высокая по сравнению с ударно-канатным бурением стоимость. Ударно-канатное бурение более универсально в отношении технических возможностей проходки в сложных условиях. Недостатками его являло гораздо меньшая информативность из-за полного разрушения пород при бурении, возможность заметных погрешностей при определении границ и мощности пласта за счет неполного извлечения полезных минералов при желонении, нарушение объема проб, что обусловлено невыдержанностью диаметра скважин, а также измельчение некоторых минералов (касситерит, вольфрамит и др.) долотом - вплоть до пылевидных частиц, не улавливаемых при промывке. В настоящее время разработаны достаточно совершенные конструкции пробоотборников, а так же каверномеров для точного и оперативного определения фактического диаметра скважин, что позволяет значительно повысить достоверность данных ударно-канатного бурения. Диаметр скважин в зависимости от вида бурения для россыпей различных полезных ископаемых и стройматериалов в пределах 100÷200 мм. Применяются также скважины большого диаметра - 500мм и более, особенно на россыпях алмазов и благородных металлов. Наибольшими техническими возможностями при поисках и разведке россыпей и стройматериалов обладают установки комбинированного ударно-канатного и вращательного бурения. Эффективно также ударно-забивное бурение, при котором из забивного стакана извлекается ненарушенный керн, что дает возможность осуществлять качественную документацию и опробование. При поисках и разведке подводных россыпей используется бурение с понтонов и барж, а в северных морях - со льда.

В данной работе, исходя из условий геологического разреза, необходимо выбрать плавучую буровую установку, с которой будет осуществляться бурение, способ бурения, буровое оборудование и инструмент. От правильности этого выбора будет зависеть успешность, стоимость и безопасность бурения. Так же выполняются проверочные расчеты буровой вышки, определяется число струн талевой системы. В работе рассматривается организация работ и технология морского бурения скважины.

Глава 1. Краткая геологическая характеристика участка работ

Таблица 1. Геологический разрез

Номер слоя

Геологическая колонка

Интервал, м

Мощность, м

Краткая характеристика пород

Категория по буримости



от

до






0

30

30

Вода


1

044Песок мелкозернистыйII






2

4128Алевриты песчаные с галькойIII






3

122210Глина с дресвой,плотнаяIV






4

22319Пески разнозернистые, глинистыеII






5                31387Песчано-гравийные отложения (золото)

IV






 

6

38

40

2

Габбро

VIII


В данном геологическом разрезе преобладают осадочные породы, представленные на интервале 0 - 3 м - илами (II категории по буримости); 3 - 11 м - песками разнозернистыми (II категории по буримости); 11 - 20 м - алевриты с галькой (III категории по буримости); 20 - 30 м - глинами песчаными (III категории по буримости); 30 - 37 м - песчано-гравийными отложениями с алевролитами (III категории по буримости); 37 - 46 м - песчано-дресвяными отложениями, в которых залегает полезное ископаемое - золото (IV категории по буримости); 46 - 48 м - сиениты выветрелые ( VI категории по буримости).

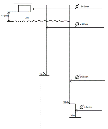
Глубина моря на данном участке 18 м, планируемая глубина скважины 48 м.

В разрезе присутствуют породы (II - VI категории по буримости).

Глава 2. Выбор способа бурения и построение конструкции скважины

2.1 Выбор способа бурения

Выбор способа бурения выбирается с учетом поставленной геологической задачи, глубины моря и глубины скважины, геологического разреза, гидрометеорологических условий работ и удаленности района работ. Однако, существует более общий способ выбора способа бурения и зависит он от категории пород по буримости. Категория по буримости является одним из основных параметров, характеризующих породу и дающее общее представление о слагающих геологический разрез породах. В данном случае для интервала 0 - 46м используем ударно-забивной способ бурения, так как этот интервал представлен рыхлыми и связными породами II - IV категории по буримости. Для интервала 46 - 48м воспользуемся вращательным способом бурения, так как данный интервал слегает твердая коренная порода VI категории по буримости.

2.2 Обоснование конструкции скважины

Под конструкцией скважины подразумевается схема ее устройства с указанием диаметров и интервалов бурения, а так же диаметров и длин водоотделяющей и обсадных колонн. Обоснование и разработка конструкции скважины начинается с выбора конечного диаметра скважины с учетом ее глубины, геологического разреза и способа бурения. Построение конструкции начинается снизу вверх. Конечный диаметр по плотику для пород V - VIII категории по буримости принимается равным 112 мм. В свою очередь, диаметр скважины по продуктивному пласту определяется видом полезного ископаемого содержащегося в данном пласте. В заданном геологическом разрезе ведется разведочное бурение на золото, и, в соответствии с рекомендациями для данного типа полезного ископаемого, диаметр скважины в продуктивном пласте должен составлять 168 мм.

Также необходимо определить число используемых обсадных колонн. То есть, будем ли мы бурить с использованием лишь водоотделяющей колонны или воспользуемся схемой: водоотделяющая колонна + обсадная колонна.

Количество колонн определяется в зависимости от глубины скважины. При глубинах скважин менее 30 метров используется одноколонная схема, при больших глубинах - двухколонная. В данном случае глубина скважины составляет 48 метров при глубине моря 18 метров. Следовательно, принимается двухколонная схема. Так же исходя из рекомендаций водоотделяющая колонна должна внедряться в грунт на 2/3 от глубины моря. Данный факт был учтен при разработке конструкции скважины. Конструкция скважины представлена на рис.1.

Рис.1. Конструкция скважины.

Глава 3. Выбор плавучей буровой установки, бурового оборудования и инструмента

.1 Выбор плавучей буровой установки (ПБУ)

Тип плавучей буровой установки зависит от глубины скважины, глубины моря, способа бурения, гидрометеорологических условий и удаленности района работ. В связи с тем, что объект не находится в удаленном районе, мы будем использовать для работы тримаран «Приморец».

Рис 2. Плавучая буровая установка «Приморец»:

- надстройка; 2 - буровая мачта; 3 - буровая лебедка; 4 - талевая лебедка; 5 - вибратор; 6 - вращатель.

Плавучая буровая установка «Приморец» представляет собой самоходный тримаран со смещенным средним корпусом в корму относительно боковых (рис. 2). Корпуса соединены плоским мостом из стального проката. Ходовой двигатель и винторулевое устройство размещены в среднем корпусе, а дизель-генератор и промывочный насос - в боковых. На палубе в кормовой части расположена надстройка бытовых и служебных помещений, в носовой - буровое оборудование, содержащее буровую мачту, лебедку для ударно-забивного бурения, талевую лебедку для подъема труб, вибратор и вращатель. Установка предназначена для бурения ударно-забивным, ударно- и вибровращательным способом. Для спускоподъемных операций и ударно-забивного бурения используется лебедка бурового станка ЗИФ-650М, а для тяжелых грузовых операций с трубами - лебедку станка СКБ-4 с талевой оснасткой. Для вращательного бурения в комплекте имеется вращатель с ротором, обеспечивающим бурение при угловом отклонении палубы до 10° и вертикальном перемещении 0,5 м.

Техническая характеристика плавучей буровой установки для бурения разведочных скважин «Приморец» представлена в таблице 2:

Таблица 2.

Характеристики ПБУ для бурения разведочных скважин «Приморец».

Параметры:

ПБУ «Приморец»

Глубина бурения, м

50

Максимальный диаметр скважины, мм

245

Глубина моря, м

50

Длина, м

18,6

Ширина, м

11,8

Высота, м

1,85

Осадка, м

0,95

Клиренс вертикальный, м

0,9

Водоизмещение, т

65

Главный двигатель:


Число

1

Мощность, кВт

50

Скорость судна, узлы

4

Грузоподъемность мачты, т

30

Число и масса (кг) якорей

4х250

Масса якоря, кг

250

Параметры скважины, м :


По воде

50

По породам

50



3.2 Выбор бурового оборудования

В состав бурового оборудования входят: буровая мачта, лебедка бурового станка ЗИФ -650 для ударно-забивного бурения, а для тяжелых грузовых операций с трубами - талевая лебедка станка СБА-500 или СКБ-4, вращатель ВМБ-5, вибратор ВБ-7М, насос НБ3-120/40. Рассмотрим каждое из используемого оборудование.

В качестве буровой мачты используем Л-образную буровую мачту. Мачта Л-образной формы с опорой ферм на боковые корпуса так как в результате ее применения образуется большая рабочая площадь у бурового проема, и фермы не мешают размещению оборудования. Мачта состоит из двух сварных трубчатых ферм, соединенных кронблоком и опирающихся на палубу шарнирными башмаками. Что позволяет укладывать ее с опорой на кормовую надстройку для повышения остойчивости ПБУ при буксировках на дальнее расстояние. На кронблоке расположены подпружиненный (для смягчения рывков) ролик троса инструментальной и ролики талевой лебедок. Высота мачты 30 м, максимальная нагрузка на кронблочную раму 30 т.

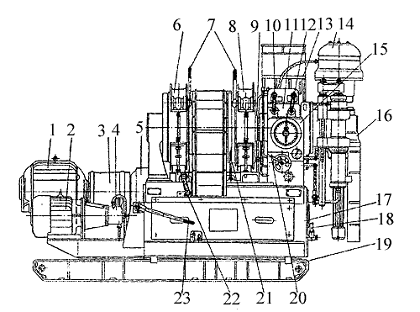
Для спускоподъемных операций и ударно-забивного бурения используется лебедка бурового станка ЗИФ-650М. Буровой станок ЗИФ-650М, представленный на рис. 3 выпускается с 1949 года, прошел ряд модификаций. Станок имеет один гидропатрон, без автоперехвата. Выпускается в 2 исполнениях с приводом от дизеля и электродвигателя.

Рис. 3 Буровой станок ЗИФ-650М:

- электродвигатель станка; 2 - электродвигатель маслонасоса;3 - соединительная муфта; 4 - маслонасос; 5 - муфта сцепления; 6 - тормоз спуска; 7 - рукоятка управления тормозами; 8 - тормоз подъема; 9 - лебедка; 10 - рукоятка включения лебедки; 11 - коробка скоростей; 12 - рукоятка включения вращателя; 13 - рукоятка крана гидропатрона; 14 - пружинно-гидравлический патрон; 15 - пульт гидравлического управления; 16 - вращатель; 17 - станица; 18 - рукоятка ручного маслонасоса; 19 - рама; 20 - рукоятка управления гидросистемой; 21 - рукоятка;

Технические характеристики бурового станка ЗИФ-650М приведены ниже в табл. 3

Таблица 3.

Технические характеристики бурового станка ЗИФ-650М

Параметры

Тип станка

 


ЗИФ-650М

 

Привод


 

Тип

АД

 

Мощность, кВт

30

 

Лебедка

 

 

Тяговое усилие максимальное, кН

35

 

Скорость намотки каната на барабан, м/с

 

 

максимальная

6,25

 

минимальная

0,7

 

Регулирование скорости намотки

Дискретное

 

Вращатель

 

 

Крутящий момент, максимальный, даН*м

302

 

Частота вращения шпинделя:

 

 

диапазон, об/мин

87 - 800

 

 



 

Регулирование Дискретное 8ск.  Усилие подачи шпинделя, кН   Вверх 88  Вниз 66  Диаметр проходного отверстия шпинделя,мм 66  Длина хода подачи, мм 500  Дополнительные устройства:   Гидроподъем 1  Автоперехват  -   Длина  2700  Ширна 1200  Высота  2200