Материал: Модернізація агрегату синтезу аміака з розробкою колони синтезу, котла – утилізатора та виносного теплообміника

Внимание! Если размещение файла нарушает Ваши авторские права, то обязательно сообщите нам

Перевагою даної конструкції є розсіюванню напружень в декількох напрямках, запобігаючи виникненню опуклостей або тріщин, що підвищує жорсткість трубної решітки та веде до зменшення її маси. Досягається рівномірний розподіл потоку трубного простору по всіх трубках, а також більш інтенсивний теплообмін поблизу трубних решіток.

Недоліком даної конструкції є великий гідравлічний опір, складність конструкції.

Розглянемо конструкціюкотла-утилізатора високого тиску.

В якості котла-утилізатора за основу приймається вертикальний кожухотрубний теплообмінний апарат.

Теплообмінний апарат містить вертикальний циліндричний корпус, теплообміні трубки.

Предметом пошуку є: 1) теплообмінний кожухотрубний апарат з трубчатими теплообмінними елементами; 2) конструкція й матеріал трубчатих теплообмінних елементів.

Суттєвими ознаками апарата є: вертикальний корпус; трубчасті теплообмінні елементи нероз’ємне закріплення теплообмінних елементів у трубних плитах за допомогою підвальцовки з обваркою.

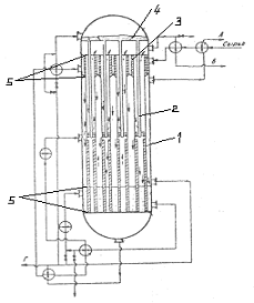
.        Вертикальний теплообмінник[8], що зображений на рисунку 3.7 відноситься до області енергетики і може бути використаний в теплообмінних апаратах регенеративних систем, систем теплопостачання, призначених для підігрівання води за рахунок конденсації пари на трубах поверхні теплообміну.

Очікуваний ефект:підвищиння економічності роботи теплообмінника і забезпечення оптимальних умов для теплообміну.

Засоби досягнення ефекту: за рахунок спрощення конструкції. Запропонований теплообмінник, що включає корпус з патрубками входу пари і виходу його конденсату, розподільну водяну камеру з перегородкою і патрубками входу і виходу води, що нагрівається, трубну систему з вбудованим охолоджувачем конденсату з бічними вертикальними стінками і горизонтальними перегородками. Прицьому в бічних стінках охолоджувача конденсату між трубною дошкою і першою направляючою горизонтальною перегородкою, а також між останньою і передостанньою горизонтальними перегородками виконані отвори, сполучені між собою герметичними коробами, розташованими за межами охолоджувача конденсату, а друга горизонтальна перегородка охолоджувача конденсату сполучена з корпусом над патрубком виходу конденсату. Рішення, що заявляється, дозволяє забезпечити на більшій частині поверхні теплообміну протиточний рух теплоносіїв, а отже, зменшити поверхню теплообміну на 10-15% в порівнянні з прямоточним рухом за однакових початкових умов. Одночасно у верхню частину охолоджувача конденсату поступає переохолоджений (по відношенню до температури насичення) конденсат, що унеможливлює його скипання і появи гідроударів, здатних зруйнувати охолоджувач конденсату. Таким чином, рішення, що заявляється, дозволяє підвищити економічність роботи теплообмінника за рахунок спрощення конструкції і забезпечення оптимальних умов для теплообміну. Недоліком є складність внутрішньої будови та збільшений гідравлічний опір.

- корпус; 2, 5 - патрубки входа теплоносіїв; 3,6 - патрубки вихода теплоносіїв; 4 - розподільна камера; 7 - трубна плита; 8 - теплообмінні трубки

Рисунок 3.6 - Схема теплообмінника

. Вертикальний теплообмінник, який зображений на рисунку 3.8.

Винахід відноситься до галузі енергетики і може бути використане в теплообмінних апаратах регенеративних систем, систем теплопостачання, призначених для підігріву води за рахунок теплоти перегрітого пара, конденсації на трубах поверхні теплообміну та переохолодження конденсату що гріє пара.

Очікуваний ефект:підвищення надійності і економічності теплообмінника.

Засоби досягнення ефекту: за наявності лише одного джерела теплоти для підігріву води (пар з одного відбору турбіни) здійснює підігрів води у двох самострільних трубних системах, які мають «свої» автономні трубні дошки, перепад температур в яких буде с оставлять половину заданого максимального перепаду, тобто максимальний підігрів води порівну між двома трубними системами, що знижує можливість «викривлення» трубних дощок, порушень щільності фланцевого з'єднання трубної дошки з фланцями вод ної камери і корпусу, а також вальцювальних з'єднань труб поверхні теплообміну в трубних дошках, зменшує вигин трубних систем і можливість стирання трубок поверхні теплообміну в місцях проходу їхчерез отвори в перегородках.

Недоліком є складність конструкції та збільшений гідравлічний опір.

- корпус; 2 - трубні плити; 3 - теплообмінні трубки; 4 - перегоротки; 5 - розподільча камера

Рисунок 3.7 - Схема теплообмінника

. Вертикальний теплообмінник [10] зображений на рисунку 3.9. Винахід призначене для застосування в конструкціях теплообмінних апаратів, переважно водо-водяних підігрівачів, а також може бути використане в системах теплопостачання.

Очікуваний ефект:підвищення надійності і економічності теплообмінника, підвищиення технологічність виготовлення теплообмінника при забезпеченні універсальності його використання, забезпечення ефективності роботи, зниження габаритів і металоємність при забезпеченні заданої ефективності роботи.

Засоби досягнення ефекту. Теплообмінник містить кожух з розташованими в ньому теплообмінними трубами, поперечними і поздовжньої перегородками, трубні дошки, що утворюють з кожухом міжтрубний простір, компенсатор, виконаний на кожусі, що має внутрішню перегородку камеру подачі середовища в труби і відведення з них і камеру повороту середовища, що примикають до трубним дощок, що утворюють з трубами трубне простір і виконані шарнірно відкривають, і патрубки подачі та відводу середовища в міжтрубний простір і камеру подачі середовища. Теплообмінник виконаний з можливістю організації руху середовищ по трубному і міжтрубний простір в 2 або 4 ходи і секціонування.

- корпус; 2 - теплообмінні трубки; 3 - перегоротки; 4 - теплоізольована перегоротка; 5 - трубні плити

Рисунок 3.8 - Схема теплообмінника

Продольная перегородка кожуха виконана плоскою або хрестоподібної. Поперечні і поздовжня перегородки кожуха забезпечені ущільненнями.

Перевагою є те, що винахід дозволяє підвищити технологічність виготовлення теплообмінника при забезпеченні універсальності його використання при зміні положення його поздовжньої осі, а також знизити габарити і металоємність при забезпеченні заданої ефективності роботи.

Розглянемо конструкції колони синтезу аміаку.

Колонний апарат містить вертикальний циліндричний корпус, дві кришки, внутрішню насадку з полками.

Предметом пошуку є: 1) колонний апарат з насадкою; 2) конструкція й матеріал насадки.

Суттєвими ознаками апаратів є: вертикальний корпус ;верхня й нижня кришки; полчата насадка.

.        Колона синтезу [11].зображений на рисунку 3.9. Винахід відноситься до конструкцій колон для проведення тепло-масообмінних процесів і може бути використане в нафтохімічній, хімічній та харчовій промисловості.

- корпус; 2 - трубчаті контактні пристрої; 3 - пристрій для відводу тепла; 4 - розподільчий пристрій; 5 - трубні решітки

Рисунок 3.9 - Схема колони

Очікуваний ефект:підвищення ефективності.

Засоби досягнення ефекту: запобігання термічного розпаду термолабільних компонентів і раціонального розподілу потоків мас.

Колонна містить корпус 1, у верхній частині якого розміщено пристрій для відводу тепла у вигляді холодильника 2 з трубними гратами 3 і 4, а в нижній частині - пристрій, для теплоподвода у вигляді нагрівача 5 з трубними гратами 7 і 8. Тим трубними гратами вздовж всього корпусу розміщені трубчасті контактні пристрої 9, верхня частина яких має потовщення 10 (в порожнину контактних пристроїв), а нижня частина - потовщення 11 (на зовнішню поверхню контактних елементів). Над холодильником 2 встановлено розподільчий пристрій у вигляді тарілки 12 з трубними пристроями 13 введення і розподілу кубового залишку атмосферної частини в влкуумірованную порожнину пристроїв 9. Колона забезпечена штуцерами 14-23 і пристрій розподілу вихідної суміші (не показано). Колона також має виносні теплообмінники 24-28 та нагрівачі 29 і 6.

8. Колонасинтезу [12]зображений на рисунку 3.11. Винахід відноситься до масообмінних обладнання, що застосовується в лабораторіях НДІ і промислових підприємств хімічної, нафтохімічної, газової, хіміко-фармацевтичної та суміжних галузях промисловості.

- корпус; 2 - тубус; 3, 4 - вхідний та вихідний сферичні шліфи; 5 - перфорована воронка; 6 - насадка; 7 - патрубки; 8 - робочий простір заповнений насадкою

Рисунок 3.10 - Схема колони

Очікуваний ефект:- підвищення ефективності процесу массопередачі на насадці.

Засоби досягнення ефекту:за рахунок посилення турбулізації взаємодіючих потоків пари (газу) - рідини.

Насадокова колона, яка містить вертикальний циліндричний корпус, опорну перфоровану воронку, розташовану в нижній частині корпусу, тубус, закріплений на нижній частині корпусу зовні опорної воронки і виконаний з шліфують, насадку, вміщену в корпус на лійку, і поміщені в воронку зігнуті патрубки, вхідні кінці яких упаяні у верхню частину воронки, а вихідні розташовані нижче їх і на відстані щодо воронки, що відрізняється тим, що з метою підвищення ефективності процесу массопередачі за рахунок посилення турбулізації взаємодіючих потоків, інші кінці вигнутих патрубків відігнуті до центру, при цьому вісь патрубків розташована коаксіалию поверхні тубуса, патрубки розташовані щодо стінки воронки на відстані 0.5 діаметру патрубка.

9.      Ректифікаційна колона[13]зображений на рисунку 3.12. Винахід відноситься до тепло-масообмінний пристрій і може знайти застосування в хімічній та суміжних галузях промисловості при регенерації відпрацьованої азотної кислоти.

Очікуваний ефект:інтенсифікація процесу абсорбції оксидів азоту, зменшення втрат товарного продукту від термохімічних розкладання і з дистилятом, виключення забруднення навколишнього середовища.

Засоби досягнення ефекту:контактні тепломассообменні пристрої складаються з переплетених труб, розташованих на сітчатой конусної решітці, при цьому в центральній частині решітки труби укладені в кожух, закріплений верхній відкритою частиною решітці і має зрошувач, що знаходиться у верхній частині кожуха.

Ректифікаційної колони для концентрування азотної кислоти, що містить вертикальний циліндричний корпус, розділений по висоті на окремі секції, парціальний конденсатор, шламовідстійників, зрошувачі, трубчасті контактні тепло-масообмінний пристрій, конденсатор і випарник.

- корпус; 2 - насадка; 3 - решітка; 4 - колектор; 5 - конусна решітка; 6 - трубчаті тарілки

Рисунок 3.11 - Схема колони

У результаті проведення патентних досліджень встановлено:

. Винахідницька активність промислово-розвинутих країн у галузі розроблення та вдосконалення обладнання синтезу аміаку спрямована на зменшення енергоспоживання та підвищення якості одержуваного продукту.

Зокрема, основними цілями модернізації колон синтезу є зменшення робочого тиску та підвищення стабільності температурного режиму. Переважно патентуються технічні рішення, що стосуються насадок, каталізаторів та іншого застосування в процесі синтезу.

Вдосконалення конструкцій котлів-утилізаторів та теплообмінників спрямовано на інтесифікацію теплообміну, зменшення гідравлічного опору та оптимізацію режиму руху теплоносіїв. При цьому патентовані винаходи й корисні моделі стосуються як апаратів у цілому, так і їхніх складових частин.

. Державами, що переважно патентують технічні рішення в галузі синтезу аміаку, є країни з розвинутою хімічною промисловістю - США, Німеччина, Японія та Китай. Кількість українських винаходів і корисних моделей за темою проекту останнім часом скоротилося.

. Компенсувати температурне розширення труб можна за допомогою компенатора, який знаходиться у виносному стакані.

. Попередній аналіз конструкцій проектованих апаратів дозволяє припустити, що модернізація не потребуватиме придбання ліцензій на випуск нової продукції.

. Прийняті технічні рішення відповідають сучасному рівню науки й техніки.

. Розрахунки, що підтверджують працездатність та надійність конструкцій

.1 Розрахунок матеріального балансу колони

Метою розрахунку матеріального балансу колони є визначення основних матеріальних потоків, обчислення концентрацій компонентів на різних стадіях процесу, визначення основних геометричних розмірів.

Розрахунок ведеться за допомогою програми, на мові QBasic за методикою, викладеною в [1].

Вихідні дані:

Продуктивність по аміаку, G, т/добу 1420;

Тиск, Р, МПа 30;

Вміст аміаку в початковій суміші, z1(2), % 3,1;

Вміст аргону в початковій суміші, z 1(3), % 4;

Вміст метану в початковій суміші, z1(5), % 3,6;

Температура реакції, Tp,0C 500.

Розрахункова схема представлена на рисунку 4.1

Рисунок 4.1 - Схема до розрахунку матеріального балансу колони

Коефіцієнти з індексом 1, відповідають процесам і речовинам, що надходять до реактора, 2 - речовини, що виходять з реакторау.

Скористаємось алгоритмом, запропонованим авторами [1].

З метою спрощення вводимо наступні індекси позначень окремих компонентів - 1-азот, 2-аміак, 3-аргон, 4-водень, 5-метан. Визначаємо початковий склад циркуляційного газу. З вихідних даних відомо вміст аміаку, аргону і метану.

За довідником [14] визначаємо молярні маси компонентів циркуляційного газу


Синтез аміаку може бути описаний оборотною екзотермічною реакцією:

,5Н2+0,5N2 = NH3+Q

Відомо, що до колони подається циркуляційний газ стехіометричного складу (z1(4):z1(1)=3:1). Звідции випливає, що вміст азоту z1(1) та водню z1(4) можна визначити наступним чином:


де z1(2) - вміст аміаку, z1(3) - вміст аргону, z1(5) - вміст метану.

Згідно з принципом Ле-Шательє вихід продукту буде збільшуватись при збільшенні тиску і зниженні температури[1].

Продуктивність реактора по аміаку:


Для розрахунку значень константи рівноваги Кр при різних температурах і тисках запропоновано ряд емпіричних і теоретичних рівнянь, з яких найбільш простим є емпіричне рівняння А.Ларсона і Р.Доджа [ ]:


де та i- константи інтегрування: