Материал: Методы решения задач проектирования технологических процессов обработки давлением. Шагунов А.В., Корольков В.И

Внимание! Если размещение файла нарушает Ваши авторские права, то обязательно сообщите нам

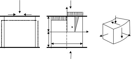
Осадкой называется операция, при которой происходит увеличение поперечного сечения за счет уменьшения высоты заготовки (рис.2).

 

V

 

 

 

НС в тA

 

K

K

z

K=- s s

z

 

 

 

 

 

z

 

 

 

 

 

 

 

 

 

z

 

 

h

тA

 

 

 

 

 

 

 

 

 

z

 

 

 

 

 

 

 

 

 

 

 

 

 

h

D

 

 

 

 

 

 

 

 

 

Рис.2.

При осадке цилиндрической заготовки обычно нижняя плита неподвижна, а верхняя движется вниз с некоторой скоростью V. Заготовка уменьшается по высоте, одновременно увеличивая свой наружный диаметр. В результате на контактных поверхностях возникают силы трения, направленные в сторону, противоположную движению металла – т.е. к оси заготовки. Иными словами силы трения препятствуют движению металла по контактным поверхностям. Силы трения приводят к тому, что внешняя поверхность осаживаемой заготовки искажается – она имеет т.н. «бочкообразную» форму. При отсутствии сил трения напряженное состояние – линейное сжатие. Наличие сил трение делает напряженное состояние при осадке объемным.

Если пренебречь инерционными процессами, т.е. считать процесс осадки квазистатическим, то можно считать среднее сечение, расположенное на расстоянии h от верхнего торца неподвижным, а бойки движущимися навстречу друг другу с равными скоростями. Напряженное состояние – осесимметричное, что означает равенство нулю компоненты

21

скорости v , направленной по касательной к окружностям. (Но это не означает равенство нулю деформаций в окружном направлении.) Кроме того осесимметричное напряженное состояние в силу симметрии предполагает отсутствие касательных напряжений в меридиональных плоскостях (проходящих через ось z ). Все компоненты напряжений не зависят от координаты .

Примем следующие допущения:

Контактное трение постоянно по всей контактной поверхности и зададим его в форме Прандля-Зибеля, т.е. пропорциональным напряжению текучести:

k s s

( s

- фактор трения). Знак "минус"

используем

потому,

что

удельные

силы

трения,

воздействующие на заготовку, направлены в сторону, противоположную направлению оси .

Бочкообразностью пренебрегаем, иными словами считаем, что внешняя поверхность остается цилиндрической.

Удельные контактные силы трения - малые k 0.7k .

Материал

заготовки – идеальный жестко-пластический

s const .

Такое допущение справедливо при осадке в

условиях горячего деформирования.

Очевидно, что в силу граничных условий:

 

z

 

z h

k

 

 

 

 

Всилу симметрии задачи :

z z 0 0

Всоответствие с постулатами инженерного метода

предполагаем линейное распределение касательных напряжений по высоте заготовки:

z k z h

22

Напомним уравнение равновесия для осесимметричной задачи:

 

 

 

z

 

 

0

 

 

z

 

 

 

 

 

 

 

 

 

z

 

 

 

z

 

z

0

 

 

 

 

 

 

 

 

 

z

 

 

 

 

Попытаемся упростить эту систему.

1. Согласно постулатам инженерного метода принимаем

. Определим насколько это правомерно для данного случая. Согласно условию постоянства объема с учетом перехода цилиндра в цилиндр (бочкообразностью мы пренебрегаем):

 

 

V

 

0 2 h h 2h 0

 

 

 

 

 

 

V

 

 

 

 

 

 

 

2h

 

 

 

 

 

 

 

 

 

 

 

Пренебрегая бесконечно малыми величинами второго и

выше порядков:

 

 

 

 

 

 

 

 

 

 

 

 

 

 

 

 

2h 2 h 2 h 2h

0 2

 

 

h

0

 

 

 

 

 

 

 

 

 

 

 

 

 

2

h

 

 

h

 

 

 

 

 

 

 

 

 

 

 

 

 

 

 

 

 

 

 

 

 

 

 

 

 

 

 

 

 

 

 

 

 

 

 

 

 

 

 

 

 

 

 

 

 

 

 

 

 

 

 

 

 

z

 

 

 

 

 

 

 

 

 

 

 

 

 

 

 

 

 

 

 

 

 

 

 

 

 

 

или

 

 

 

 

 

 

 

 

 

 

 

 

 

 

 

 

 

 

2

 

 

z

0

 

 

 

 

 

 

 

 

 

 

z

0

 

 

 

 

 

 

 

,

но с другой стороны

 

 

 

 

 

,

 

 

 

 

 

 

 

 

 

 

 

 

 

 

 

 

 

 

 

 

 

 

 

 

 

 

 

 

 

 

 

 

 

 

 

 

откуда

 

 

 

 

 

 

 

 

 

 

 

 

 

 

 

 

 

 

 

 

 

 

 

 

 

 

 

 

 

 

 

 

 

 

 

 

 

 

 

 

Физические уравнения деформационной теории пластичности могут быть записаны, в частности, следующим образом:

 

 

 

 

 

3

 

i

 

 

 

 

 

 

i

 

 

2

 

 

 

 

 

 

 

 

 

 

 

,

23

 

откуда с учетом равенства деформаций

 

 

 

 

 

следует

равенство соответствующих напряжений .

 

 

2. Интегральное

выражение

условия

 

пластичности

 

 

 

z

 

 

 

 

 

 

 

 

 

 

.

Согласно постулатам инженерного метода

 

 

 

 

принимаем z f и не зависит от z , тогда от частных

 

 

 

 

 

 

 

 

 

z

 

d z

 

 

 

 

 

 

 

 

 

 

 

производных можно перейти к полным

 

 

d .

 

С

учетом

упрощений, а

также используя

допущение

z k

 

z

 

 

 

 

 

 

 

 

 

 

 

 

 

 

 

 

 

 

 

 

 

 

h первое уравнение равновесия принимает вид:

 

 

 

 

 

 

d z

k

0

 

 

 

 

 

 

 

 

 

 

 

 

 

 

 

 

 

d

 

h

 

 

 

 

 

 

 

Интегрируя его, с учетом k s s получим:

z s s C h

Произвольную постоянную определим из следующих соображений. Поскольку удельные силы контактного трения

приняты малыми k 0.7k , то упрощенное условие пластичности для осесимметричного состояния принимает вид:

z s

Поскольку

согласно

схеме

напряженного

состояния

0,

z 0 ,

то

в

условии

 

пластичности

следует

использовать знак +, т.е.:

z s

.

 

 

 

 

 

 

 

 

На внешней цилиндрической поверхности радиальное

напряжение

равно

нулю

(нормально

к

внешней

цилиндрической поверхности не действуют никакие силы), тогда:

24

 

 

r 0

 

Отсюда

 

 

 

 

 

 

s

C s 1

h

 

 

 

 

Окончательно

z

 

 

 

s

s 1

h

 

 

 

 

z r s

r

r

Эпюра распределения нормальных сил на контактной поверхности имеет вид (рис.3):

- s(1+ sr/h)

- s

Рис.3.

Для определения силы деформирования необходимо проинтегрировать нормальные контактные силы по площади контакта.

 

 

 

 

r

 

 

 

 

 

 

r

 

 

s r

 

s

P z dF z 2 d s 2

1

 

 

d

F

 

 

0

 

 

 

 

 

 

 

0

 

 

h

 

 

h

 

 

r 2

 

s r

3

s r

3

 

 

 

 

 

 

 

 

s

2

 

 

 

 

 

 

 

 

 

 

 

 

 

 

 

 

 

 

 

 

 

 

 

 

 

 

 

 

 

2h

 

3h

 

 

 

 

 

 

 

 

 

 

 

2

 

 

 

 

 

 

 

 

 

 

 

s

r

2

 

s r

 

 

 

 

s D

 

 

 

 

 

1

 

 

s F 1

3H

 

 

 

 

 

 

 

 

 

3h

 

 

 

 

 

 

 

 

 

Частное от деления деформирующей силы на площадь

контактной

поверхности

 

называется

удельной силой

25