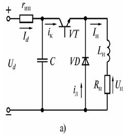
Мал. 1.3 Схема підcилюючого ППН (а) та діаграми напруг і струмів,що ілюструють його роботу (б)
З урахуванням вірності рівняння
потужностей на вході та виході (див. 1.4)
(1.10)
Тоді рівняння
регулюючої характеристики у відносних одиницях
(1.11)
З формули (1.11) випливає можливість
безкінечного збільшення напруги при навантаженні. Однак, через ріст втрат в
дроселі (він не може бути виконаний без втрат) при збільшенні
отримати
дуже велику напругу неможливо. Цілеспрямоване збільшення напруги максимум в 3…4
рази. Регулююча характеристика показана на мал. 1.2.
Зовнішня характеристика цього ППН дуже м’ягка.
Необхідно відмітити, що в цій схемі
гірший ККД. Він різко спадає з ростом коефіцієнта перетворення напруги
.
2.2.3 Інвертуюючий ППН
На мал. 1.4а показано схему безпосереднього ППН, інвертую чого напругу (тобто змінюю чого не тільки величину, а й знак напруги на виході), на мал. 1.4б - діаграми напруг на навантаженні uн та на колекторі uк та струмів: поглинаючого від джерела живлення id, колектора iк, діода iд та навантаження iн.
Розглянемо роботу схеми. В момент
часу t1
вмикається транзистор VT,
струм через індуктивність L
зростає. В момент t2
вимикається транзистор, і за рахунок енергії збереженої в індуктивності, струм
проходить по колу L, C, VD.
Як наслідок, на ділянці t2-t3
відбувається заряд ємності С, і струм спадає. В момент t3
процеси
повторюються. На ділянці t3-t4
одночасно з запасом енергії в дроселі відбувається заряд конденсатора на опорі
навантаження. Рівняння регулюючої характеристики в відносних одиницях
(1.12)
Тут
відносний
час ввімкненого стану транзистора.
З формули (1.12) випливає можливість
нескінченного збільшення напруги на навантаженні. Однак, через ріст втрат в
реакторі (він не є ідеальною індуктивністю) при збільшенні
отримати
більшу напругу неможливо. Цілеспрямоване збільшення напруги максимум в 2 - 3
рази. Регулююча характеристика показана на мал. 1.2
Ця схема має м’яку зовнішню
характеристику. Необхідно відмітити, в цій схемі низький ККД. Він різко падає з
ростом коефіцієнту перетворення напруги
інвертуючого
ППН.
Мал. 1.4б Діаграми напруг та струмів, що описують роботу ППН
2.3. Неперервні понижуючі ППН
Розглянемо спочатку неперервний режим, при якому струм навантаження не спадає до нуля. Такий режим забезпечується у всьому діапазоні струмів, якщо Lн=∞.
Регулююча характеристика понижуючого
ППН, побудована на мал. 1.5 а. Так для побудови транзистора необхідно деякий
час, то при поступовій зміні неможливо отримати крайні значення та Тому
діапазон поступової зміни зазвичай не перевищує 0,05…0,95. Непрацюючі ділянки
характеристики по краям діапазону регулювання (див. мал. 1.5 а) показано
пунктиром.
Мал. 1.5 Регулюючі характеристики
понижуючого ППН (а), його системи управління (в) та перетворення разом з
системою управління (г), а також діаграми напруг, що описують роботу модулятора
(б)
Система управляння ППН повинна забезпечувати ввімкнення транзисторів з заданим значенням в залежності від напруги управління Uупр. Для цього в системі управління має бути модулятор. На мал. 1.5б показано, як реалізується процес модуляції. Від генератора опорної пилкоподібної напруги подається пилоподібно напруга з частотою, що називається несучою. Опорна напруга uоп урівнюється на вході компаратора з напругою управління Uупр. На виході компаратора з’являється імпульс необхідної тривалості який після підсилення подається на входи силових транзисторів. Напруга управління називається моделюючою, і вона може змінюватися за довільним законом. При цьому пропорційно йому буде змінюватись.
Для модуляції можуть бути використані і інші форми пилкоподібних напруг, але дана форма опорної напруги найбільш часто використовується в ППН. При цьому транзистори вимикаються переднім фронтом пилкоподібної напруги, тому така модуляція називається модуляцією переднім фронтом.
Якщо при модуляції напруга при навантаженні одно полярна (див. мал. 1.5б), то така модуляція називається одно полярною. Існує і двополярна модуляція, але вона буде розглядатись пізніше.
Регулююча характеристика системи
управління (РХСУ) з урахуванням мал. 1.5 б виражається рівнянням
(1.13)
Регулююча характеристика системи управління наведена на мал. 1.5 в.
Регулююча характеристика
перетворювача разом з системою управління (РХПРСУ) з урахуванням рівнянь (1.3)
та (1.13) виражається рівнянням (1.14) і наведено приклад на мал. 1.5 г:
(1.14)
Вона також лінійна при невеликим струмі навантаження.
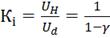
На мал. 1.6 наведено принципіальну
схему силових ланцюгів понижуючого ППН. Конденсатор Сф
на вході є обов’язковим елементом перетворювачів, в яких застосовуються ключі з
повним управлінням (по ланцюгу управління примусово вимикаються ключі). Він має
двояке призначення.
Мал. 1.6 Принципова схема силових
ланцюгів понижуючого ППН з урахуванням індуктивності з’єднувальних провідників
По-перше, він забезпечує постійне споживання енергії від джерела живлення навіть при замкненому стані ключа. Якби не було Сф, то струм вживаний від джерела живлення, відповідав би струму колектора iк (див мал. 1.1). Якби Сф =∞ то струм іd, вживаний від джерела живлення, стає постійним (див мал. 1.1б). Це зменшує втрати в джерелі живлення, так як вони задаються діючим, а не середнім значенням струму. При усуненні пульсацій діюче значення постійного струму рівне середньому.
По-друге, між джерелом живлення,
транзистором та діодом існують з’єднувальні проводи, що мають власну
індуктивність Lc. Вона показана на
мал. 1.6 при виключення транзистора від перенапруження на індуктивності
навантаження Lн
захищає діод, а від перенавантажень на індуктивності з’єднувальних проводів
ніщо не захищає. Ці перенавантаження можуть бути доволі великі. Наприклад, якщо
довжина з’єднувального проводу рівна 1м, то його індуктивність приблизно 1мкГн.
Якщо при цьому за 1 мкс вимикається струм, рівний 100 А, то перенавантаження
становитиме 100 В (
), навіть якщо
напруга живлення рівна 10 В. таким чином, конденсатор Сф
захищає напівпровідникові елементи і має бути ввімкнений якомога ближче до них,
щоб зменшити величину
.
На мал. 1.7 а наведено часові
діаграми напруг та струмів з урахуванням не ідеальності вентилів при припущенні
Cф
= ∞, Lн = ∞. На ділянці
провідності транзистора напруга на навантаженні менша ніж ідеальна на величину
падіння напруги на транзисторі
Uк,
а на ділянці провідності діода вона негативна і рівна падінню напруги на діоді
Uа.
Для спрощення приймемо, що
. (1.15)
Тоді з урахуванням того, що
(1.16)
І на ділянці провідності транзистора
,
рівняння зовнішньої характеристики
(1.17)
Тут
-
напруга навантаження на холостому ході, визначається за формулою (1.1).
На мал. 1.7 б наведено приклад еквівалентної схеми ППН, що відповідає рівнянню (1.17).
Не мал. 1.7 в наведено показано зовнішні характеристики понижуючого ППН, побудовані у відносних одиницях. За базові величини прийнято напруга Ud та струм короткого замикання
.
При роботі на активно-індуктиве
навантаження з ПЕДС всі отримані раніше співвідношення та характеристики
залишаються справедливими, якщо зберігається неперервний режим. В перериваному
режимі співвідношення і характеристики змінюються. Ділянки зовнішніх та
регулюючих характеристик, що відповідають перериваному режиму при роботі на
ПЕДС, на мал. 1.5 а і на мал. 1.7 в показано штрихованими лініями. Граничний
струм може бути визначений за наближеною формулою
(1.18)
Мал. 1.7 Тимчасові діаграми в
понижуючому ППН при неідеальних ключах (а), еквівалентна схема ППН (б) та його
зовнішні характеристики (в)
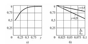
Основним енергетичним показником ППН
є ККД η. З урахуванням
рівнянь (1.17) та (1.5)
(1.19)
Залежності ККД ППН від
та
струму
показано
на мал. 1.8 схема має достатньо великий ККД при великих значеннях
.
При малих значеннях
ККД істотно падає.
При розрахунку ККД не враховано
комутативні втрати. При їх врахуванні загальні втрати в правильно спроектованих
перетворювачах збільшуються не більше ніж на 15…30%.
Мал. 1.8 Залежності ККД ППН від а)
та струму
(б)
З точки зору зменшення пульсацій
напруги та струму на виході ППН, а, отже, і втрат в двигуні, доцільно підвищення
несучої частоти. Однак при цьому ростуть комутативні втрати в транзисторах.
Тому несуча частота вибирається з компромісних міркувань.

Мал. 1.9 Схема заміщення (а)та еквівалентна схема ППН (б), а також його зовнішні характеристики (в)з урахуванням внутрішнього опору джерела живлення
На характеристики ППН впливає
внутрішній опір джерела живлення. На мал. 1.9 а - б наведено схема заміщення та
еквівалентна схема ППН з урахуванням внутрішнього опору джерела живлення
аналізуватимемо при припущенні Cф=
∞, Lн=∞.
Врахуємо рівняння втрат у
внутрішньому опорі джерела живлення для схеми заміщення та еквівалентної схеми
ППН
, (1.20)
де
-
внутрішній опір джерела живлення, приведений до сторони навантаження. Звідси з
урахуванням (1.5)
2 d
іп=rіп2
(1.21)
рівняння зовнішньої характеристики
ППН з урахуванням внутрішнього опору джерела живлення
(1.22)
Еквівалентна схема (див мал. 1.9 б) відповідає цьому рівнянню.
Зовнішні характеристики понижуючого ППН навіть при урахуванні внутрішнього опору джерела живлення залишаються жорсткими (див мал. 1.9 в). Їх нахил визначається внутрішнім опором джерела живлення, опором ввімкнутого транзисторного ключа та відносною тривалістю ввімкненого стану транзистора.
ППН може виконуватись на за миючих на звичайних не замикаючих транзисторах. Схема ППН на звичайних транзисторах та відповідні їй тимчасові діаграми наведені на мал. 1.10. В схемі застосовано пристрій для штучної комутативності транзисторів, виконаний на основі резонансного інвентора.
Мал. 1.10 Схема ППН на тиристорах (а) та діаграми напруг та струмів,що ілюструють його роботу (б)
2.3.2 Рекуперуючі неперервні ППН
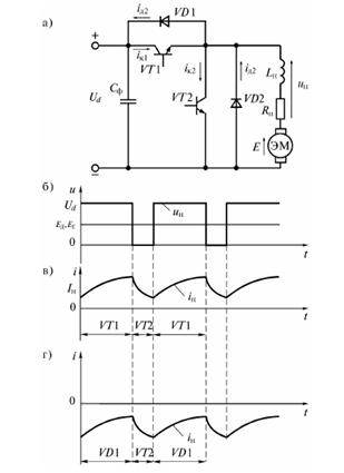
Понижуючі одно ключові ППН знайшли соє застосування в електроприводі постійного струму, але вони не забезпечують при гальмуванні рекуперацію (повернення енергії в джерело живлення). Ця проблема вирішується в двоключовому ППН (мал. 1.11), що являє собою комбінацію понижуючого та підсилюючого ППН.
В руховому режимі схема працює, як звичайний понижуючий ППН, тобто, по черзі проводять транзистор VT1 та діод VD2. Процеси ілюструють діаграми мал. 1.11 б - в. В гальмуючому режимі електромашина переходить в режим генератора, але її ЕРС не може миттєво змінитись. ЕРС генератора нижче ніж напруга джерела живлення, тому діод VD1 закритий і струм від генератора не може проходити в джерело живлення. При ввімкненні транзистора VT2 генератор замикається на індуктивність Lн і струм в ланцюгу збільшується. При вимкненні VT2 ЕРСсамоіндукції діє згідно з ЕРС генератора, діод VD1 відкривається, енергія передається в джерело живлення. Ці процеси ілюструють діаграми мал. 1.11 б, г.
При гальмуванні рекуперуючий
перетворювач працює як підсилюючий ППН.
Мал. 1.11 Двоключовий реперуючий ППН
(а), а також діаграми напруг та струмів, що ілюструють його роботу на якір
двигуна в руховому та гальмівному режимах (б)
2.4 Реверсивні ППН
.4.1Схема та способи управління реверсивними ППН
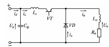
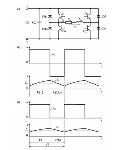
В електроприладах використовують реверсивні ППН, що дозволяють змінювати не тільки величину, а й знак напруги на навантаженні. На мал. 1.12 а показано схему реверсивного ППН, що отримала найбільше розповсюдження. Пари транзисторів V1, V2 та V3, V4 утворюють діагоналі мосту, а пари транзисторів V1, V4 та V2, V3 утворюють стійки мосту. При попарному включенні транзисторів V1, V2 або V3, V4 знаки напруги на навантаженні протилежні.
Існують симетричні та несиметричні способи управління ключами
Якщо транзистори діагоналі моста
вмикаються та вимикаються одночасно, то такий спосіб управління називається
симетричним. При цьому напруга на навантаженні завжди двополярна, а проводять
або два транзистори, або два діоди. Таким чином, при симетричному управлінні
відбувається двополярна модуляція.
Мал. 1.12 Реверсивний ППН (а), діаграми напруг та струмів, що ілюструють його роботу при активно-індуктивному навантаженні при симетричному (б) та несиметричному (в) управлінні
Якщо вимкнення транзисторів відбувається неодночасно, то таке управління називається несиметричним. При цьому напруга на навантаженні завжди одно полярна. Таким чином, при несиметричному управлінні відбувається одно полярна модуляція.
Несиметричне управління буває звичайним та почерговим.