Материал: Методичка

Внимание! Если размещение файла нарушает Ваши авторские права, то обязательно сообщите нам

Nu = 0,15 Re 0,33Gr 0,1Pr 0,43 , (12)

где – длина трубы.

Для определения среднего коэффициента теплоотдачи при переходном режиме движения используется формула:

Nu = (0,563 Re0,5 23,346) Pr 0,43 . (13)

Для турбулентного режима движения жидкости в стальной трубе средний коэффициент теплоотдачи рекомендуется определять по уравнению подобия:

Nu = 0,021Re0,8Pr 0,43 . (14)

Формулы для определения среднего коэффициента теплоотдачи (11) – (14) действительны при соотношении .

Если течение происходит по каналам некруглого сечения, то в качестве определяющего линейного размера принимается эквивалентный диаметр:

dэкв = , (15)

где f – площадь поперечного сечения канала (живое сечение); u – полный смоченный периметр канала.

Экспериментальное определение коэффициента теплоотдачи

Опытное значение коэффициента теплоотдачи определяется согласно формулам (4) и (5). Поэтому для определения значения коэффициента теплоотдачи необходимо создать стационарный тепловой поток, замерить его значение, а также значения температур на поверхности стенки трубы, жидкости и знать геометрические размеры трубы.

Описание опытной установки и методика проведения эксперимента

Экспериментальное определение коэффициента теплоотдачи при вынужденном движении жидкости в трубе проводится методом имитационного моделирования.

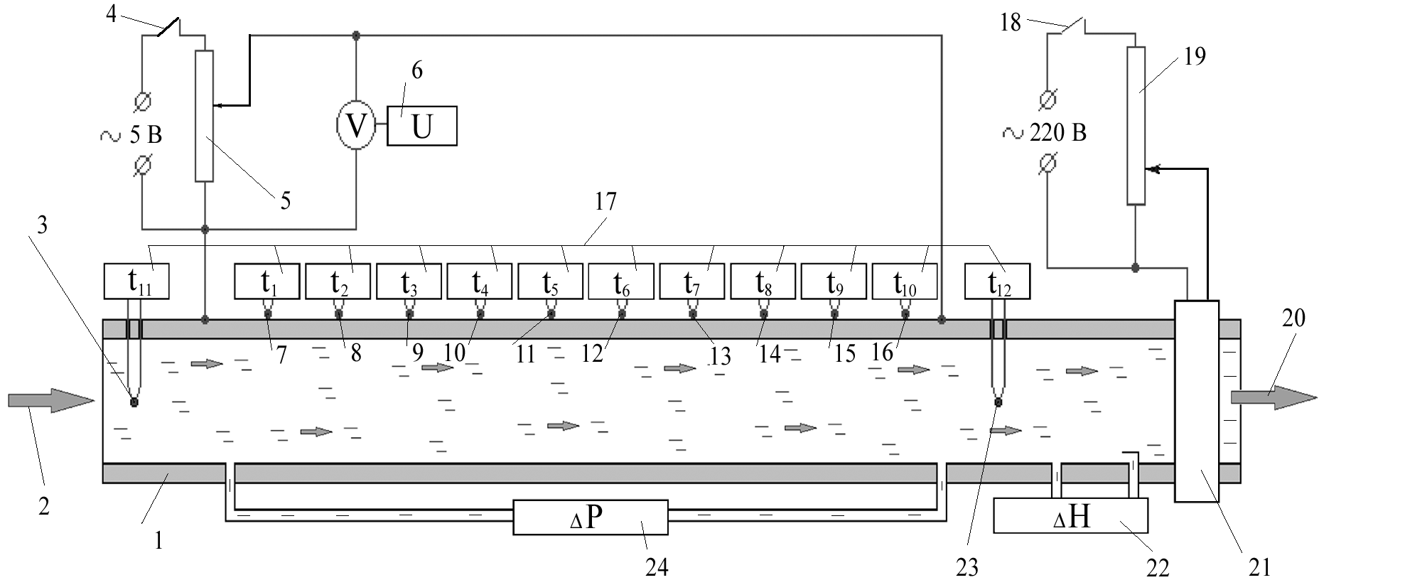
Установка для определения коэффициента теплоотдачи представлена на рис. 2.

Рис.2. Схема установки для определения коэффициента теплоотдачи

при вынужденном движении жидкости в трубе:

1 – опытная труба; 2, 20 – вход и выход жидкости; 3, 23 – термопары на входе и выходе жидкости; 4, 18 – пусковые ключи; 5, 19 – реостаты; 6 – вольтметр;

7, 8, 9, 10, 11, 12, 13, 14, 15, 16 – термопары на поверхности стенки трубы; 17 – милливольтметр; 21 – насос; 22 – трубка Пито; 24 – дифференциальный манометр.

По стальной трубе 1 насосом 21 прокачивается вода. Включение насоса в работу осуществляется пусковым ключом 18. Изменение мощности насоса, а следовательно и расход воды по трубе регулируется электрическим сопротивлением реостата 19. Расход воды по трубе определяется динамическим напором жидкости Н, который фиксируется трубкой Пито 22. Местные потери давления жидкости на участке трубы определяются дифференциальным манометром 24.

На опытную трубу 1 пусковым ключом 4 через реостат 5 подается электрический ток. Нагрев стенки трубы происходит за счет прохождения по трубе электрического тока. Падение напряжения на трубе фиксируется вольтметром 6. Температуры поверхности стенки трубы замеряются хромель – копелевыми термопарами 7 16.

Количество теплоты в единицу времени, выделяемое при прохождении электрического тока по трубе, определяется по закону Джоуля - Ленца. Этот тепловой поток, за исключением малых тепловых потерь в окружающую среду, передается от стенки трубы к жидкости. Поэтому вода, которая движется по трубе, нагревается. Температуры воды на входе 2 и выходе из трубы 20 фиксируются хромель-копелевыми термопарами 3 и 23.

Электродвижущие силы термопар преобразуются в температуры, значения которых измеряются милливольтметром 17 на экране монитора и фиксируются на пульте управления.

Основные параметры опытной установки и расположение термопар на поверхности трубы представлены в табл. 1, 2.

Основные параметры опытной установки

Таблица 1

№№

пп

Параметр

Значение

1

Диаметр трубы d10 3, м

5,0

2

Длина трубы , м

1,10

3

Площадь поперечного сечения трубы f10 6, м 2

19,635

4

Площадь внутренней поверхности трубы F10 3, м 2

17,279

Таблица 2

Координаты заделки термопар на поверхности стенки трубы

Термопара

t1

t2

t3

t4

t5

t6

t7

t8

t9

t10

Координата x, мм

20

50

150

250

350

500

700

900

1050

1090

Для определения коэффициента теплоотдачи опытным и расчетным способом необходима информация о теплофизических свойствах жидкости. Параметры теплофизических свойств воды при различных температурах приведены в табл.3.

Таблица 3

Теплофизические свойства воды

t, oC

, кг/м3

ср, Дж/(кг.К)

, Вт/м.К)

106, м2

Pr

10

999,7

4191

0,575

1,306

9,52

20

998,2

4183

0,599

1,006

7,02

30

995,7

4174

0,618

0,805

5,42

40

992,2

4174

0,635

0,659

4,31

50

988,1

4174

0,648

0,556

3,54

60

983,2

4179

0,659

0,478

2,98

70

977,8

4187

0,668

0,415

2,55

80

971,8

4195

0,675

0,365

2,21

90

965,3

4208

0,680

0,326

1,95

Параметры теплофизических свойств воды в интервале температур 0  100 oC могут быть определены также по эмпирическим соотношениям:

= 999,8 + 0,196 t – 6,098 10 -2 t 1,5, кг/м3 ; (16)

ср = 4211 – 2,746 t + 28,47 10 -2 t 1,5, Дж/(кг.К); (17)

10 2 = 55,05 + 0,280 t – 37,21 10 -4 t 1,8, Вт/(м.К); (18)

10 6 = 1,788 – 5,97910 -2 t + 1,366 10 -3 t 2 – 1,99210 -5t 3 + 1,59410 -7 t 4 – 5,22110 -10 t 5, м2/с. (19)

Перед проведением исследования лаборант или преподаватель, проводящий лабораторные занятия, устанавливает на стенд модель опытной установки, подключает модель к согласующему устройству, а затем включает компьютер.

Из главного меню компьютера вызывается имитационная модель лабораторной установки «Исследование теплоотдачи при вынужденной конвекции».

Затем лаборант или преподаватель включает в работу насос 21 и задает напряжение электрического тока U, пропускаемого через трубу.

Напряжение, подаваемое на трубу, ограничено нагревом поверхности стенки до 100 оС.

Проводится три опыта при одном значении перепада напряжения U на трубе и различных динамических напорах жидкости в трубе Н, что соответствует различным расходам жидкости.

Студенты для каждого из задаваемых режимов фиксируют либо с экрана монитора, либо на цифровых приборах пульта управления параметры опытов.

Замеренные значения падения напряжения на нагревателе U, динамического напора жидкости Н, температур поверхности стенки трубы t1t10 и жидкости на входе и выходе из трубы t11, t12 записываются в таблицу опытных данных (табл. 4 ).

Таблица 4

Опытные данные по исследованию коэффициента теплоотдачи

Напряжение U = В

№№

пп

Показания

№ опыта

1

2

3

1

Динамический напор жидкости H, кГ/м2

2

Температуры стенки трубы, оС : t1

3

t2

4

t3

5

t4

6

t5

7

t6

8

t7

9

t8

10

t9

11

t10

12

Температура жидкости на входе в трубу t11, оС

13

Температура жидкости на выходе из трубы t12, оС