Материал: Методические указания к выполнению лабораторных работ по дисциплине «Теплопередача». Шматов Д.П., Дахин С.В

Внимание! Если размещение файла нарушает Ваши авторские права, то обязательно сообщите нам

4. Оценка предельной погрешности результатов измерений с указанием типов применяемых приборов и их точности.

КОНТРОЛЬНЫЕ ВОПРОСЫ

1.Дать определение температурного поля.

2.Изотермическая поверхность. Определение, примеры.

3.Что такое температурный градиент?

4.Коэффициент теплопроводности, его смысл и размерность?

5.Почему исследуемый в работе образец можно считать бесконечно длинным?

6.Тепловой поток, его смысл и размерность?

7.Граничные условия первого, второго и третьего рода.

8.Дифференциальное уравнение теплопроводности в общем виде.

ЛАБОРАТОРНАЯ РАБОТА № 5

ИЗУЧЕНИЕ ТЕПЛООТДАЧИ ГОРИЗОНТАЛЬНОГО ЦИЛИНДРА ПРИ СВОБОДНОЙ КОНВЕКЦИИ

В НЕОГРАНИЧЕННОМ ОБЪЕМЕ

Цель работы: углубление знаний по теории теплоотдачи при свободном движении жидкости – естественной конвекции в неограниченном объеме, ознакомление с методикой опытного исследования процесса и получение навыков экспериментирования.

В результате работы должны быть усвоены понятия свободного движения жидкости и зависимость коэффициента теплоотдачи от различных факторов.

69

ЗАДАНИЕ

1.Определить значение среднего коэффициента теплоотдачи для горизонтального цилиндра при свободном движении воздуха и установить его зависимость от температурного напора.

2.Обработать результаты опытов по средней теплоотдаче в обобщенном критериальном виде.

3.

Построить зависимости α = f (t), Nu = f (Ra) .

4.

Составить отчет о выполненной работе.

ОПИСАНИЕ ЭКСПЕРИМЕНТАЛЬНОЙ УСТАНОВКИ И МЕТОДИКА ПРОВЕДЕНИЯ ЭКСПЕРИМЕНТА

Свободное движение – движение, возникающее вследствие разности плотностей нагретых и холодных частиц жидкости. Подобное движение всегда возникает около тела, если температура этого тела отличается от температуры окружающей среды. Тогда в окружающей среде устанавливается неравномерное распределение температуры и свободное движение частиц жидкой или газообразной среды. По мере нагревания частицы жидкости или газа становятся легче и поднимаются вверх, а на их место поступают более холодные частицы. Теплота, воспринятая частицами жидкости или газа от тела, переносится в окружающую среду.

Количество перенесенной теплоты будет тем больше, чем больше скорость жидкости или газа, скорость тем больше, чем больше разность температур тела и окружающей его среды. Кроме того, интенсивность теплоотдачи зависит от теплофизических свойств среды, формы тела и положения его

впространстве.

Внастоящей работе требуется установить влияние температурного напора на значение среднего коэффициента теплоотдачи от горизонтальной трубки к окружающему воздуху при свободной конвекции.

70

Средний коэффициент теплоотдачи определяется по соотношению

 

QK

2

 

α =

 

, Вт/(м К),

(5.1)

(tС tЖ )F

где QK - тепловой поток от нагретого тела, передаваемый путем конвекции, Вт; F - площадь поверхности тела, м2; tс - температура поверхности тела, °С; tж - температура

окружающей среды, °С.

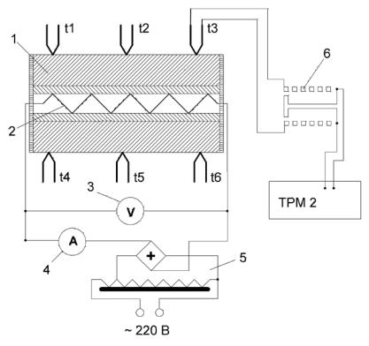
На рис. 5.1. приведена схема лабораторной установки, которая состоит из стальной полированной трубки 1, внешним диаметром d и длиной l . Внутри трубки установлен электронагреватель 2. Напряжение и сила тока, потребляемая нагревателем, измеряются вольтметром 3 и амперметром 4. Регулирование электрической мощности нагревателя осуществляется автотрансформатором 5.

Геометрия трубки указана на стенде: d – диаметр трубки – 25 мм; l – длина трубки – 1000 мм.

Для измерения температурного поля на поверхности трубки вмонтировано шесть термопар типа хромель-копель.

Значения температуры в °С считываются с цифрового прибора ТРМ 2, который подключается к термопарам через переключатель 6 типа ПМТ-12.

Ознакомившись с описанием установки и методикой измерений необходимо детально разобраться в электрической схеме обогрева трубки. Далее следует заготовить протокол

для записи измеряемых величин (U , I, t1 t6 ) и проверить

правильность подключения измерительных приборов.

После того, как установка подготовлена к работе и проверена исправность действий всех ее элементов, включают нагреватель.

До наступления стационарного режима мощность нагревателя поддерживают постоянной в течение 50 - 60 мин.

71

О наступлении стационарного режима свидетельствует постоянство показаний любой из шести термопар, установленных на внешней поверхности трубки.

Рис. 5.1. Принципиальная схема установки

Все измерения при данном температурном режиме проводятся три раза через 3 - 5 мин. Всего исследуется три температурных режима.

Все измеренные величины заносятся в табл. 5.1 протокола измерений.

72

Таблица 5.1

Форма протокола измерений

№ опыта

U,

I,

Показания термопар, °С

 

tж

 

B

A

t1

t2

t3

t4

t5

t6

 

°С

 

 

 

 

1

 

 

 

 

 

 

 

 

 

 

 

2

 

 

 

 

 

 

 

 

 

 

 

3

 

 

 

 

 

 

 

 

 

 

 

 

ОБРАБОТКА РЕЗУЛЬТАТОВ ОПЫТОВ

 

 

Определяется

величина

средней

температуры по

поверхности цилиндра (трубки) tс :

б

ti

 

t

=

i=1

, °С,

(5.2)

 

n

 

 

 

 

 

где n - количество измерений.

Тепловой поток, передаваемый трубкой путем конвекции, определяется из равенства

QK = Q Qизл ,

(5.3)

гдеQ - полный тепловой поток, который передается от нагревателя:

Q =U I , Вт.

(5.4)

Qизл - поправка на тепловое

излучение трубки,

определяется по формуле

 

73