Материал: Методические указания к выполнению лабораторных работ по дисциплине «Теплопередача». Шматов Д.П., Дахин С.В

Внимание! Если размещение файла нарушает Ваши авторские права, то обязательно сообщите нам

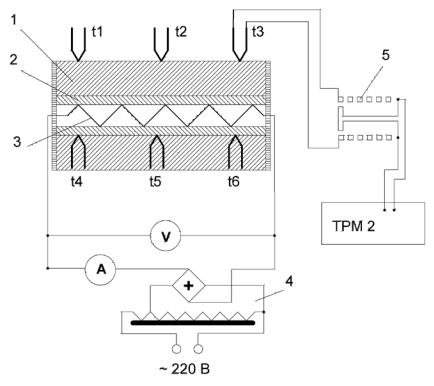
расположен электрический нагреватель из нихромовой проволоки 3. На нагревательный элемент подается переменное напряжение через лабораторный автотрансформатор 4.

Электрическая мощность, подводимая к нагревательному элементу, измеряется методом амперметравольтметра. В стационарном состоянии поток теплоты, создаваемый нагревателем, полностью проходит радиально через исследуемый образец. За счет тепловой изоляции торцевые потери стенок у исследуемого образца сведены к нулю.

Температура внутренней поверхности образца измеряется тремя (хромель-копель) термопарами t1, t2 и t3, а наружной – термопарами t4, t5 и t6 одной и той же

градуировки. Значения температуры в °С считываются с цифрового прибора ТРМ 2, а переключение термопар осуществляется переключателем 5.

64

Рис. 4.1. Принципиальная схема установки

ПРОВЕДЕНИЕ ОПЫТОВ

Перед проведением опытов студенты должны подготовить протокол измерений. После проверки преподавателем готовности студентов разрешается приступить к проведению эксперимента.

Внимание: включение установки производится только лаборантом или преподавателем!

После подачи электрического напряжения на стенд устанавливается первый из заданных преподавателем режим работы. Так как опыты на стенде должны проводиться в стационарном режиме, то начало измерений должно

65

производиться не ранее 50 – 60 минут после установки заданного режима.

На установившемся режиме основные измерения производятся не менее трех раз по каждому прибору.

Внимание. Результаты измерений и их первичной обработки обязательно обсуждаются с преподавателем, после чего можно переходить к следующему режиму работы установки.

Рекомендуемая форма протокола измерений приведена в табл. 4.1.

Таблица 4.1

Протокол результатов измерений

 

I,

 

U

 

 

 

Показания термопар °С

 

реж

 

серии

 

 

 

 

 

 

 

 

 

 

имо

 

замеро

А

 

В

 

t1

 

t2

t3

t4

 

t5

t6

в

 

в

 

 

 

 

 

 

 

 

 

 

 

 

 

 

1

 

 

 

 

 

 

 

 

 

 

 

 

1

 

2

 

 

 

 

 

 

 

 

 

 

 

 

 

3

 

 

 

 

 

 

 

 

 

 

 

 

 

 

среднее

 

 

 

 

 

tc1

 

 

 

tc2

 

 

 

1

 

 

 

 

 

 

 

 

 

 

 

 

2

 

2

 

 

 

 

 

 

 

 

 

 

 

 

 

3

 

 

 

 

 

 

 

 

 

 

 

 

 

 

среднее

 

 

 

 

 

tc1

 

 

 

tc2

 

 

 

1

 

 

 

 

 

 

 

 

 

 

 

 

3

 

2

 

 

 

 

 

 

 

 

 

 

 

 

 

3

 

 

 

 

 

 

 

 

 

 

 

 

 

 

среднее

 

 

 

 

 

tc1

 

 

 

tc2

 

 

Тепловой

 

поток

 

через

исследуемый

образец

определяется мощностью электрического нагревателя

 

 

 

 

 

 

 

 

 

Q = I U , Вт

 

 

 

(4.7)

 

 

 

 

 

 

 

 

66

 

 

 

 

 

Среднее значение температуры на внутренней tc1 и

наружной tc2 поверхностях образца определяется по формулам:

 

 

 

c1 = 0,33(t1 +t2 +t3 ), °С,

(4.8)

t

 

 

c2 = 0,33(t4 +t5 +t6 ), °С.

(4.9)

t

Средняя температура образца определяется по формуле

 

 

= 0,5(t

 

 

c2 ), °С.

(4.10)

t

c1 +t

Среднее значение коэффициента теплопроводности материала при температуре t рассчитывается по формуле

(4.5).

ОБРАБОТКА РЕЗУЛЬТАТОВ ОПЫТОВ

Обработке подлежат результаты только тех измерений, которые получены в стационарном процессе теплопроводности.

По найденным значениям коэффициента

теплопроводности строится график зависимости λ = f(t). Точность полученных экспериментальных значений

коэффициента теплопроводности оценивается по предельной относительной погрешности результата:

 

 

 

λ

 

I +

U + L +

(

 

 

 

),

 

 

λ =

 

=

tc1

tc2

(4.11)

 

 

 

 

 

 

 

 

 

 

 

 

 

 

 

 

λ

 

 

I

 

U

 

 

L

 

tc1 tc2

 

 

I

 

U

 

L

∆(t

 

 

 

 

c2 )

 

 

 

 

 

 

 

 

 

где

 

 

c1 t

 

 

- соответственно

 

I

 

,

U

 

,

L

,

 

c1

 

c2

 

 

 

 

 

 

t

t

 

 

 

предельные относительные погрешности прямых измерений

67

тока, напряжения, длины и перепада температур; абсолютные погрешности приборов, I, U, L, (tc1 tc2 ), определяется исходя из класса точности прибораεпр , если он не известен –

то используют половину минимального деления шкалы измерения. Следует помнить, что в нашем случае, из-за

небольшой разницы междуtc1 и tc2 ,

(

 

 

 

)=

 

 

2t

 

 

 

 

 

 

tc1

tc2

 

 

 

.

 

(4.12)

 

 

 

 

 

 

 

 

 

 

 

 

 

 

 

 

 

 

tc1 tc2

 

tc1 tc2

 

 

Абсолютная погрешность, которую дает прибор,

определяется из выражения (на примере амперметра)

 

 

 

 

 

 

 

I =

 

 

εпр

I

 

 

 

,

(4.13)

 

 

 

 

 

 

100%

 

пр

 

 

 

 

 

 

 

 

 

 

 

 

 

где Iпр – предельное значение шкалы прибора, А. Результаты расчетов оформляются протоколом

следующей формы:

Таблица 4.2

Протокол результатов вычислений

 

I,

U, B

Q,

tc1 ,

tc2 ,

λ ,

(λ / λ),

реж

 

 

A

Вт

°С

°С

Вт/(м К)

100%

има

 

 

 

 

 

 

 

 

1

 

 

 

 

 

 

 

 

2

 

 

 

 

 

 

 

 

3

 

 

 

 

 

 

 

 

 

В отчете по лабораторной работе должны быть

представлены:

 

 

 

 

 

1.Схема лабораторной установки.

2.Протоколы измерений и результатов.

3.График зависимости λ = f (t ).

68