Материал: Методические указания к выполнению лабораторных работ по дисциплине «Теплопередача». Шматов Д.П., Дахин С.В

Внимание! Если размещение файла нарушает Ваши авторские права, то обязательно сообщите нам

 

Nuж

=

ξ

 

 

 

 

Re Prж ψ

 

 

 

 

 

,

(6.1)

 

8

 

 

900

 

 

 

 

 

 

 

 

 

 

23

 

 

 

ξ

 

 

 

1

+

 

 

 

 

 

 

 

 

 

Re

+12,7 Pr

 

1

8

 

 

 

 

 

 

 

 

 

 

 

 

 

 

 

 

 

где

ξ = (1,82lg Re1,64)2 -

коэффициент

 

сопротивления

трению; Prж - критерий Прандтля жидкости; ψ - коэффициент, учитывающий влияние изменения свойств жидкости.

Для приближенных расчетов можно также воспользоваться уравнением

Nuж = 0,021Re0,8 Prж

0,43 ψ ,

(6.2)

При течении в трубе газообразного теплоносителя можно принять

ψ 1.

ЭКСПЕРИМЕНТАЛЬНАЯ УСТАНОВКА

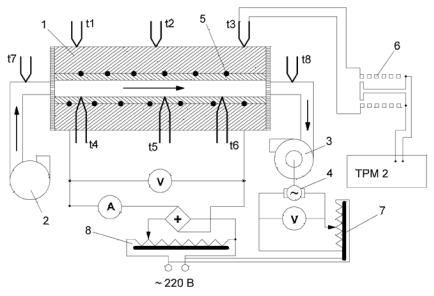
Экспериментальная установка (рис. 6.1) состоит из рабочего узла 1, газового счетчика 2, вентилятора 3 и электродвигателя 4.

Рабочий узел представляет собой трубу длиной l = 1м внутренним диаметром dв = 18 мм и наружным диаметром dн = 50 мм, выполненную из материала с коэффициентом

теплопроводности λ = 0,63

Вт

(строительный цементный

м К

 

 

раствор после затвердевания и длительной осушки). Снаружи на рабочий узел намотан электронагреватель 5 из нихромовой проволоки. Температура наружно поверхности трубы измеряется термопарами t1, t2 и t3, температура внутренней поверхности - термопарами t4, t5 и t6.

79

Рис. 6.1. Схема экспериментальной установки

Температура воздуха на входе в рабочий узел измеряется термопарой t7, на выходе – t8. Все термопары хромелькопелевые, подключены к цифровому прибору ТРМ 2 через многоточечный переключатель термопар 6.

Регулирование расхода воздуха через рабочий узел осуществляется изменением с помощью ЛАТРа 7 напряжения на клеммах электродвигателя 4 вентилятора 3. Аналогично ЛАТР 8 предназначен для регулирования мощности нагревателя 5.

ПРОВЕДЕНИЕ ОПЫТОВ

После ознакомления с описанием опытной установки, необходимо подготовить протокол для записи наблюдений, проверить правильность включения измерительных приборов и наличие льда в сосуде с холодными спаями термопар.

80

Затем производится включение установки. Вначале подается напряжение на клеммы электродвигателя, а после его запуска - на клеммы нагревателя.

Запись показаний приборов производится после выхода установки на стационарный режим (ориентировочное время прогрева рабочего узла - 1 час). Для определения расхода воздуха через рабочий узел определяется с помощью

секундомера и газового счетчика время τ прокачки некоторого стандартного объема воздуха (рекомендуется 0,5 м3).

Впервом опыте рекомендуется подать на клеммы вентилятора напряжение 50 - 60 В, во втором - 80 - 90 В. Напряжение на клеммах нагревателя не должно превышать

200 В.

Вконце каждого опыта необходимо провести измерение величины атмосферного давления P.

Таблица 6.1

Форма протокола эксперимента

 

P

τ

t1

t2

t3

t4

t5

t6

t7

t8

 

 

 

 

 

 

 

 

 

 

опыта

Па

с

°С

°С

°С

°С

°С

°С

°С

°С

 

 

 

 

 

 

 

 

 

 

 

1

 

 

 

 

 

 

 

 

 

 

2

 

 

 

 

 

 

 

 

 

 

3

 

 

 

 

 

 

 

 

 

 

 

 

 

 

 

 

 

 

 

 

 

ОБРАБОТКА РЕЗУЛЬТАТОВ ОПЫТОВ

Вначале определяется режим движения газа

Re = Wdν в ,

где ν - кинематический коэффициент вязкости воздуха при средней температуре

t = t7 +2 t8 , °С

81

W = 4V2 - скорость движения воздуха, м/с,

πdв

V= 0,5 t + 273 - объемный расход воздуха, м3/с.

τt7 + 273

Массовый расход воздуха, кг/с,

 

 

 

 

 

G =V ρ ,

 

 

 

 

P

3

где

ρ =

 

 

- средняя плотность воздуха, кг/м ,

 

 

+ 273)

R(t

 

R = 287 кгДжК - газовая постоянная воздуха. Количество переданной воздуху теплоты, Вт,

 

 

 

 

 

 

 

 

 

π(t

 

 

 

 

в ) l ,

 

 

 

 

 

 

Q =

н t

 

 

 

 

 

 

 

 

 

1

 

 

ln dн

 

 

 

 

 

 

 

 

 

 

2λ

 

 

 

 

 

 

 

 

 

 

 

 

м

 

 

dв

 

 

 

 

н = t1 +t2

+t3

- средняя температура наружной стенки

где t

3

 

 

 

 

 

 

 

 

 

 

 

 

 

 

 

 

трубы, °С,

 

 

 

 

 

 

 

 

 

 

 

 

 

 

 

 

 

 

в = t4 +t5 +t6

-

средняя

 

температура внутренней стенки

t

 

3

 

 

 

 

 

 

 

 

 

 

 

 

 

 

 

 

трубы, °С,

 

 

 

 

 

 

 

 

 

 

 

 

 

 

 

 

 

 

Коэффициент теплоотдачи

 

 

 

 

 

 

 

 

 

 

 

 

 

 

 

Q

 

 

 

 

 

 

Вт

 

 

 

 

 

 

α =

 

 

 

 

 

,

 

.

 

 

 

 

 

 

(t

 

 

)πdвl

 

 

м2 К

 

 

 

 

 

 

в t

 

 

Безразмерный коэффициент теплоотдачи

Nuж = αλdв ,

ж

82

где λж - коэффициент теплопроводности воздуха при температуре t .

Все результаты расчетов заносятся в протокол (табл.

6.2).

Таблица 6.2

Форма протокола результатов

 

 

 

 

 

 

 

 

 

н

G

W

Q

Re

α

 

Nuж

 

 

 

 

 

 

t

в

t

№опыта

 

t

С°

С°

С°

кг/с

/мс

Вт

 

м/Вт

резПо. опыта

формуле (4 формуле (42)

 

 

 

 

 

 

 

 

 

 

 

 

 

 

К

 

1)

 

 

 

 

 

 

 

 

 

 

 

 

 

 

 

2

По

По

 

 

 

 

 

 

 

 

 

 

 

 

 

 

 

 

 

 

1

 

 

 

 

 

 

 

 

 

 

 

 

 

 

 

 

 

2

 

 

 

 

 

 

 

 

 

 

 

 

 

 

 

 

 

Впротокол результатов заносятся также результаты расчетов по формулам (6.1) и (6.2)

Взавершение проводится проверка (расчет по уравнению теплового баланса)

Q = Gcр (t8 t7 ) , Вт,

где cр =1005 кгДжК - теплоемкость воздуха.

ОТЧЕТ О РАБОТЕ ДОЛЖЕН СОДЕРЖАТЬ

1.Принципиальную схему установки.

2.Протокол записи показаний приборов.

3.Протокол результатов опыта.

4.Сравнение результатов опыта с литературными данными.

83