Материал: Методические указания к практическим работам по дисциплине «Интеллектуальные конструкторско-технологические системы». Турецкий А.В., Ципина Н.В

Внимание! Если размещение файла нарушает Ваши авторские права, то обязательно сообщите нам

Рис. 4.5. Привязка крышки

7. Сохранить сборку в файле Сборка РЭС.

Практическая работа № 5 редактирование деталей в сборках

Упражнение № 1. Добавление отверстий в крышку.

В крышке собираемого РЭС нет отверстий над светодиодами, подстроечными резисторами и окна под ЖК индикатор. Эти отверстия удобно выполнять прямо в сборках.

1. Дважды кликнуть на изображении крышки и таким образом войти в режим редактирования. Цвет крышки изменится с серого на коричневый. Прервать команду нажав кнопку стоп.

2. Кликнуть на поверхность крышки и включить режим Эскиз . Вся сборка повернется к вам выбранной плоскостью.

3. Включить режим Каркас для того, чтобы было видно детали внутри устройства.

4. Выбрать кнопку Спроецировать и на поверхность крышки спроецировать отверстия как на рис. 5.1. Кнопкой Спроецировать надо пользоваться аккуратно и нажимать на проецируемые линии один раз.

Рис. 5.1. Проецирование отверстий

5. Выйти из режима Эскиз и выполнить отверстия применив кнопку Вырезать выдавливанием .

6. Произвести редактирование детали нажатием на кнопку Редактировать на месте . При этом вносятся изменения в файл детали.

Упражнение № 2. Создание новых деталей из сборок.

У крышки на поверхности есть небольшое углубление в 1 мм. Это углубление предназначено для приклеивания панели из цветного пластика с надписями. Контур панели достаточно сложный, однако его легко получить, применив проецирование.

1. Режим редактирования на месте также вызывается если в дереве сборки на крышке в контекстном меню выбрать соответствующую команду (рис. 5.2).

Рис. 5.2. Вызов команды Редактировать на месте

2. Кликнуть на поверхности крышки и вызвать команду Эскиз .

3. Один раз кликнуть на поверхности крышки.

4. Выделить полученную проекцию и скопировать ее с привязкой к центру системных плоскостей.

5. Создать новый документ- деталь и в режиме Эскиз вставить полученную проекцию.

6. Выйти из режима Эскиз и выдавить на 1 мм. (рис. 5.3).

Рис. 5.3. Полученная панель

7. Сохранить деталь в файле Панель.

Упражнение № 3. Окончательная сборка РЭС

1. Добавить в сборку полученную в предыдущем упражнении панель, закрепить.

2. Для удобства крепления соединителей, тумблеров и кнопок конструкцию надо временно раскрыть. Для этого надо в дереве модели в разделе Сопряжения найти совпадение крышки и корпуса и в контекстном меню выбрать Исключить из расчета.

3. Установить на крышку тумблеры и соединители как на рис. 4.1. При этом надо пользоваться заранее заготовленными тонкими гайками. Тумблеры имеют резьбу 5 мм, кнопка 6 мм, а ВЧ разъем 9 мм.

4. Гнездо балансное аудио устанавливается поверх всего на крышку и фиксируется стандартными винтами с потайной головкой и гайками с шайбами.

5. Зафиксировать крышку винтами с потайной головкой.

Практическая работа № 6 создание ассоциативных чертежей

Упражнение № 1. Создание главного вида и проекционных видов.

1. Для создания ассоциативного чертежа, например корпуса из предыдущего упражнения необходимо открыть модель этого корпуса и нажать на кнопку Новый чертеж из модели . В открывшемся новом документе- чертеже расположить в произвольном месте главный вид.

2. Выбрать формат А2 и горизонтальную ориентацию.

3. Остальные нужные виды можно получить с помощью кнопки Проекционный вид в панели Виды . Кликнув на главном виде и двигая полученный фантом влево, вправо, вверх или вниз можно получить соответствующие виды. При этом текущий вид (с которым работают будет синим, а остальные черными). Важно. Вид с которым проводят какие либо действия должен быть текущим (синим).

Упражнение №2. Создание местных разрезов.

1. Сделать вид слева текущим и с помощью кривой Безье несколькими кликами окружить верхнюю часть вида. Для создания замкнутого контура на последнем клике кривой Безье в контекстном меню выбрать Замкнутый.

2. Выбрать кнопку Местный разрез и кликнуть на кривой Безье. Затем двигая мышью влево на главном виде выбрать положение секущей плоскости и кликнув автоматически получить местный разрез (рис. 6.1).

Рис. 6.1. Выполнение местных разрезов

Упражнение № 3. Создание разрезов.

1. Надо сделать главный вид текущим и с помощью вспомогательной вертикальной прямой задать линию будущего разреза.

2. В панели Обозначения выбрать кнопку Линия разреза .

3. Кликая на полученной линии сверху и снизу, затем еще 1 клик и в полученных фантомах выбрать стрелку вида слева или справа. Кликнуть, появится фантом разреза и двигая его влево или вправо в соответствии со стрелкой выполнить разрез (рис. 6.2)

Упражнение № 4. Выполнение выносных элементов.

1. Сделать главный вид текущим.

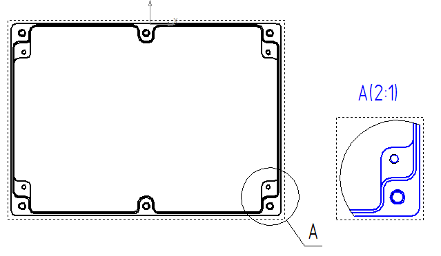
2. В панели Обозначения выбрать кнопку Выносной элемент .

3. Кликая на нижний правый угол выделить область выносного элемента, а затем на свободном поле чертежа создать этот элемент. При этом масштаб элемента может отличаться от основного на чертеже (рис. 6.3).

Рис. 6.2. Выполнение разрезов

Рис. 6.3. Выполнение выносных элементов

Упражнение № 5. Создание вида по стрелке взгляда.

1. Создать от главного вид слева.

2. В панели Обозначения выбрать кнопку Стрелка взгляда .

3. Кликая слева от вида установить направление стрелки, а далее двигая фантом вправо создать вид по стрелке (рис. 6.4).

4. Кликая правой кнопкой мыши на виде можно в контекстном меню можно выключить проекционную связь. Вид по стрелке тогда можно перемещать по всему полю чертежа

Рис. 6.4. Создание видов по стрелке взгляда

Упражнение № 6. Создание разрывов вида.

Длинные детали, в середине которых нет никаких конструктивных элементов разрывают.

1. Вид по стрелке сделать текущим.

2. Выбрать в панели Виды кнопку Разрыв вида .

3. На виде появятся две вертикальные линии, расстояние между которыми подлежит выбрасыванию. Можно двигая за эти линии редактировать область разрыва. Нажав на кнопку Создать объект в панели свойств создать вид (рис. 6.5).

Рис. 6.5. Создание разрыва вида

Упражнение № 7. Создание произвольных видов.

Для создание аксонометрических видов используется в панели Виды кнопка Произвольный вид .

1. Нажать на кнопку Произвольный вид и выбрать файл модели корпуса.

2. В панели свойств выбрать #Изометрия XYZ, а во вкладке Линии нажать на кнопку показа линии переходов .

3. Кликнуть на свободном поле чертежа и создать вид (рис. 6.6).

Рис. 6.6. Создание произвольного вида