Материал: Методические указания к лабораторным работам по курсу «Взаимозаменяемость, стандартизация и технические измерения». Волчихин В.И., Нюхин Р.О

Внимание! Если размещение файла нарушает Ваши авторские права, то обязательно сообщите нам

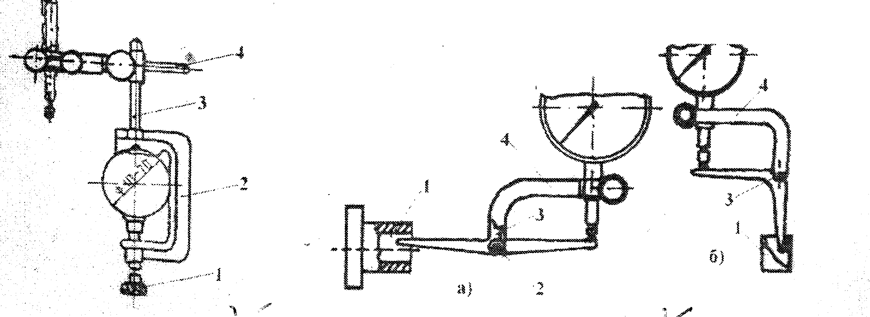
Рис. 3.2. Малогабаритный индикатор торцевого типа

Рис. 3.3. Рычажно-зубчатый индикатор

Измерительное усилие создается плоской пружиной, которая соединена в нижней части с рычагом 8, а верхней - со втулкой. Втулка при помощи поводка 10 может поворачиваться вокруг своей оси и тем самым изменять направление действия пружины, что переводит зубчатый сектор из одного крайнего положения в другое и меняет направление вращения стрелки индикатора. Индикатор может крепиться за гильзу, 2 или присоединительный стержень 7. Установка шкалы на нуль осуществляется смещением циферблата относительно конца стрелки путем поворота ободка 4, который связан со шкалой.

Универсальный штатив

Универсальный штатив предназначен для измерения биения, отклонения от прямолинейности, отклонения положения одной детали относительно другой, взаимного положения поверхностей и т.д.

В пазу основания 1 (рис. 3.4 а.) перемещается сухарь, в котором закреплена стойка 8, фиксируемая гайкой. Со стойкой при помощи разрезной муфты 2 соединен стержень 10, который можно устанавливать под любым углом к стойке 8, перемещать в муфте вдоль своей оси и поворачивать вокруг неё. Положение стержня 10 относительно стойки 8 фиксируется гайкой 9. Индикатор крепят или на стержне 5 или на серьге 12 (рис. 3.4б.) В этом и другом случае гильзу индикатора зажимают винтом 3. Стержень 5 соединяют со стержнем 10 муфтой 7, которую затягивают гайкой 6. Серьгу 12 скрепляют со стержнем 5 и фиксируют гайкой 13. Если индикаторная головка имеет ушко, то её соединяют прямо со стержнем 5 и фиксируют гайкой 14 (рис. 3.4 в). Серьгу 12 при этом снимают.

На рис. 3.5 показано применение штатива для отклонений от параллельности поверхностей А и Б, перемещая штатив по поверхности Б, наблюдают за изменением показаний индикатора, стержень которого

опущен на поверхность А.

На рис. 3.6. показано применение струбцины 2 со стойкой 3 и хомутом 4 с индикаторной головкой для проведения измерений на изделии. При невозможности выполнить измерения по вышеприведенной схеме используют двуплечие рычаги – прямой рис. 3.7 а и угловой рис. 3.7 б.

Рис. 3.4. Универсальный штатив

Рис.3.5.Определение отклонения от параллельности

Рис. 3.6. Комплект Рис. 3.7. Двуплечие рычаги

принадлежностей

к индикатору

Стойка с индикатором

Стойки с индикатором служат для наружных измерений деталей. Стойки лёгкого типа с круглым столом рис. 3.8 а. и с квадратным столом Рис. 3.8 б. состоят из основания 1, стола 2, кронштейна 3, к которому винтом 4 крепится индикатор 5, колонки 6 и винта 7, фиксирующего положение относительно столика. У стоек с квадратным столом и кронштейна 3 крепится державка 9, которая может перемещаться вдоль хомута и фиксироваться винтом 8. При установке и удалении объекта измерения необходимо увеличивать размер Б путем подъема измерительного стержня за головку А.

Р ис. 3.8. Стойка с индикатором

а) легкого типа с круглым столом;

б) квадратным столом

Нутромеры индикаторные (ни)

Нутромеры индикаторные предназначены для измерения внутренних размеров (отверстие).

В ремонтной практике наибольшее распространение нашли нутромеры с пределами измерений 18-35, 35-50, 18-50, 50-100,100-160 и 160-250 мм. Нутромер состоит из корпуса 15 и трубки 4, на которой крепятся ручка 5, зажим 9. Зажим служит для закрепления индикатора 8 за гильзу через пружинную втулку Рис. 3.9. У нутромера с пределами измерения более 100 мм ручка 5 может перемещаться относительно трубки 4. К корпусу присоединяется втулка 12, в которой с одной стороны перемещается подвижный измерительный стержень 2, а с другой

при помощи контргайки 13 закреплен подвижный измерительный стержень.

Рис. 3.9. Индикаторный нутромер с рычажной передачей:

1-шарик; 2-подвижный стержень; 3-ось; 4-трубка; 5-теплоизоляционная накладка; 6-пружина; 7-кожух; 8-индикатор; 9-стопорный винт; 10-стержень; 11-двуплечий рычаг; 12-втулка; 13-стопорная гайка; 14-переставной стержень; 15-корпус; 16-центрируюший мостик; 17-пружина

Порядок настройки и работы индикаторного нутромера

1. Определить размер детали (по чертежу или заданию)и подобрать сменный измерительный стержень 14 с контргайкой 13, и установить в резьбовую втулку 12.

2. Закрепить в стойке микрометр и проверить его по установочной мере на нуль.

3. Установить на микрометре размеры, соответствующие искомому размеру и в таком положении зажать микровинт стопорным устройством.

4. Правой рукой ввести индикаторный нутромер между измерительными поверхностями пятки и микровинта и выворачивать сменный стержень 14 до тех пор, пока большая стрелка индикатора сделает полный оборот, что необходимо при измерении размеров, больших настроенного по микрометру. В таком положении плотно зажать контргайку 13.

Небольшим покачиванием нутромера находят крайнее положение большой стрелки при вращении её по «часовой стрелке», что будет соответствовать наименьшему размеру из всех возможных. Поворотом ободка индикатора совместить нулевой штрих с концом большой стрелки.

5. Осторожно вывести нутромер из микрометра, и отжав центрирующий мостик, ввести его в измеряемое отверстие. Покачиванием нутромера в продольном направлении, добиваются получения наименьшего размера – большая стрелка должна переместиться по «часовой стрелке» до отказа.

Момент остановки при дальнейшем повороте нутромера и даёт действительный размер в данном сечении отверстия рис. 3.10. Знак отклонения размера определяется следующим образом: нажав, на измерительный стержень 2, мы тем самым уменьшаем размер и большая стрелка вращается по «часовой стрелке». Отклонение в этом случае берутся со знаком минус, а в противоположном направлении – со знаком плюс.

После окончания измерения нутромер наклонить в сторону центрирующего мостика и осторожно вынуть из отверстия.

Рис. 3.10. Пример измерения нутромером.

Исследования характера износа гильз цилиндров

Для установления реальной формы изношенных гильз их необходимо измерить в нескольких сечениях и в двух взаимно-перепендикулярных плоскостях. Сечение выбирается следующим образом: а-а в верхней, изношенной части; б-б в зоне наибольшего износа (это в 15-20 мм от верхней части гильзы); в-в и другие сечения через 40-50 мм друг от друга. Всего намечается 7 сечений в двух плоскостях А-А и Б-Б рис. 3.11.

а а

б б

в в

г г

д д

е е

ж ж

Рис. 3.11. Измерение гильзы

Результаты измерения заносятся в таблицу (см. отчет о работе), на основании данных построить кривую износа.

Скобы индикаторные

Скобы индикаторные (СИ) служат для измерения размеров деталей типа валов. Скобы индикаторные Рис. 3.11. имеют пределы измерения 0-50, 50-100, 100-200 мм и деталей до 1000 мм с интервалом через 100 мм.

Рис. 3.12. Индикаторная скоба

Индикаторная скоба имеет жесткий корпус 10 с теплоизоляционной накладкой 12. Подвижная пятка 5 находится в постоянном контакте с измерительным стержнем индикатора. Измерительная сила скобы создается совместным действием пружины 6 и пружины индикатора. Переставная пятка 3, закрываемая колпаком 1, может перемещаться в корпусе от руки и в определённом положении фиксироваться стопором 2. Посредством отводного рычага 9 подвижная пятка 5 может подниматься вверх, что облегчает ввод измеряемых деталей между измерительными поверхностями. Для точной установки деталей относительно подвижной и переставной пятки служит упор 4, индикатор 7 в корпусе скобы крепится стопором 8.

Порядок настройки и работы индикаторными скобами:

1. Подбор размера блоком концевых мер.

2. Отвинтить предохранительный колпак 1, отпустить стопор переставного стержня, установив на него блок концевых мер, подвести их до соприкосновения с подвижной пяткой и дать «натяг» в 1-2 оборота.

3. Поворотом ободка индикатора совместить нулевой штрих основной шкалы индикатора с концом большой стрелки.

4. Нажав большим пальцем правой руки на отводной рычаг 9, удаляют блок концевых мер и на их место устанавливают деталь, после чего отводной рычаг отпускается, а подвижная пятка касается поверхности детали. Порядок определения размеров такой же, как и для стоек с индикаторами.

6. Отчет по работе

6.1. Теоретические сведения об индикаторных инструментах. Заполнить таблицу.

6.2. Метрологическая характеристика инструментов и результаты измерения.

Метрологические показатели инструментов,

применяемых при измерении

Наименование

инструментов

Цена деления, мм.

Предел измерений,

мм.

Диапазон показаний

Контрольные вопросы:

1. К какому методу измерения относятся измерения индикаторными приборами?

2. Область применения индикаторных приборов?

3. Порядок настройки инструментов и отсчет по шкалам при измерении наружных и внутренних размеров.

4. Инструменты и принадлежности к ним для измерений формы и расположения поверхностей.

Методические указания

к лабораторным работам по курсу

«Взаимозаменяемость, стандартизация и технические измерения» для бакалавров направления 140400 «Электроэнергетика и электротехника» (профиль «Электромеханика»)

очной и заочной форм обучения

Составители:

Волчихин Валерий Ильич

Нюхин Роман Олегович

В авторской редакции

Подписано к изданию 20.11.2012.