Материал: Методические указания к лабораторным работам по курсу «Взаимозаменяемость, стандартизация и технические измерения». Волчихин В.И., Нюхин Р.О

Внимание! Если размещение файла нарушает Ваши авторские права, то обязательно сообщите нам

ФГБОУ ВПО

«Воронежский государственный технический университет»

Кафедра электромеханических систем и электроснабжения

Методические указания

к лабораторным работам по курсу

«Взаимозаменяемость, стандартизация и технические измерения» для бакалавров направления 140400 «Электроэнергетика и электротехника» (профиль «Электромеханика»)

очной и заочной форм обучения

Воронеж 2012

Составители: канд. техн. наук В.И. Волчихин,

канд. техн. наук Р.О. Нюхин

УДК 621.9.02621.9.06 (075.8)

Методические указания к лабораторным работам по курсу «Взаимозаменяемость, стандартизация и технические измерения» для бакалавров направления 140400 «Электроэнергетика и электротехника» (профиль «Электромеханика») очной и заочной форм обучения / ФГБОУ ВПО «Воронежский государственный технический университет»; сост. В.И. Волчихин, Р.О. Нюхин. Воронеж, 2012. 41 с.

Данные методические указания содержат теоретические сведения о взаимозаменяемости и стандартизации в машиностроении. Методические указания предназначены для выполнения лабораторных работ студентами очной и заочной форм обучения по дисциплине «Взаимозаменяемость, стандартизация и технические измерения».

Методические указания подготовлены в электронном виде в текстовом редакторе MS Word 2003 и содержатся в файле ВСТИ.doc.

Табл. 5. Ил. 21.

Рецензент канд. техн. наук, доц. А.В. Тикунов

Ответственный за выпуск зав. кафедрой канд. техн. наук, доц. В.П. Шелякин

Издается по решению редакционно-издательского совета Воронежского государственного технического университета

 ФГБОУ ВПО «Воронежский государственный

технический университет», 2012

Введение

Взаимозаменяемость, стандартизация и технические измерения представляют собой единую дисциплину, освоение которой является частью профессиональной подготовки инженеров.

В дисциплине рассматриваются принципы взаимозаменяемости, основы технических измерений при изготовлении и ремонте машин, системы допусков и посадок типовых сопряжений деталей машин, а так же средства контроля, принципы и методические основы системы государственной стандартизации.

Данные методические указания определяют порядок выполнения лабораторных работ по взаимозаменяемости, стандартизации и техническим измерениям.

Целью лабораторных работ является ознакомление студентов с средствами и методами технических измерений, а так же устройством и техническими характеристиками измерительных средств.

Методическое указание предназначено для студентов дневного и заочного отделения факультета автоматики и электромеханики Воронежского государственного технического университета. Может быть использовано студентами инженерных специальностей других вузов.

Лабораторная работа №1 основные понятия метрологии и измерительной техники, штангенинструменты

1. Метрология – это наука об измерениях, методах и средствах обеспечения их единства, которая охватывает все области технических измерений и контроля разнообразных процессов промышленного производства.

Под измерением понимается процесс сопоставления измеряемой величины с такой же величиной условно принятой за единицу. Число, выражающее отношение измеряемой величины, к величине условно принятой за единицу, есть результат измерения.

Под контролем понимается процесс сопоставления измеряемой величины с предписанными пределами. При контроле не устанавливается численное значение измеряемой величины, а выясняется, укладывается ли она в предписанных пределах. В этом и заключается основное различие между измерением и контролем. Сходство между ними состоит в том, контроль и измерение выполняются с одной и той же точностью.

2. Средства измерений – это всевозможные устройства, с помощью которых осуществляется сравнение измеряемой величины с величиной принятой за единицу.

Все средства измерений и контроля классифицируются на три основные группы: меры, измерительные инструменты (или приборы) и калибры.

Мерами называются средства измерений в виде тела или устройства, предназначенные для воспроизведения физической величины заданного значения. Меры могут быть однозначными и многозначными.

Однозначные меры воспроизводят непосредственно единицу величины, либо кратное или дробное её значение (концевые и угловые мерные плитки и т.д.) Многозначные меры воспроизводят ряд кратных или дробных значений единицы какой-либо величины между определенными пределами (масштабные линейки, лимбы и т.д.). К мерам относятся также стандартные образцы и образцовые вещества.

Стандартные образцы и образцовые вещества – представляют собой меры в виде тела или вещества определенного и строго регламентированного содержания (образцы шероховатости, твердости и т.д.)

Калибрами называются бесшкальные инструменты, служащие для контроля соответствия действительных размеров, отклонения формы и взаимного расположения частей изделия техническим условиям или заданным размерам.

Калибры нельзя отнести к мерам, т.к. они не воспроизводят единицы величин; их нельзя отнести и к измерительным приборам, т.к. они не позволяют сравнить измеряемую величину с соответствующими мерами. Калибры входят в группу средств контроля. Они являются одним из наиболее распространенных технических средств контроля производства в машиностроении.

Деление средств измерения на приборы и инструменты является условным. Такие средства измерения как, линейки, штангенинструменты и микрометрические инструменты для измерения линейных величин, обычно относят к группе измерительных инструментов, а более сложные к группе измерительных приборов.

По условному назначению средства измерения делятся на две группы:

а) для контроля и измерения размеров и формы деталей в процессе их изготовления (штангенинструменты, микрометры, угломеры и т.д.).

б) для контроля и измерений режимов работы узлов и агрегатов в процессе их испытания и эксплуатации, а также для контроля и измерения самих технологических процессов (тахометры, термометры, динамометры и т. п.).

По характеру применения измерительные средства бывают универсальные и специального назначения.

Универсальные средства подразделяются на следующие группы:

а) простейшие средства измерения, к которым относятся шкальные и бесшкальные кронциркули, телескопические нутромеры и т.д.;

б) штриховые раздвижные инструменты, снабженные линейным нониусом (штангенинструменты, угломеры и др.);

в) микрометрические инструменты, основанные на применении микропары (микрометры, микрометрические нутромеры и глубиномеры);

г) рычажно-механические приборы, которые, в свою очередь делятся на собственно рычажные (миниметры), зубчатые (индикаторы), рычажно-зубчатые пружинные (микрокаторы) и комбинированные;

д) рычажно-оптические приборы (оптиметры и инструментальные микроскопы;

е) пневматические приборы;

ж) электрические приборы.

Средства измерений линейных величин подразделяются на следующие группы:

а) средства измерения плоскостности и горизонтальности (проверочные линейки, плиты и различные уровни);

б) средства измерения шероховатости поверхности;

в) средства измерения цилиндрических резьб (микрометрические резьбомеры, резьбовые штихмасы и т.п.);

г) средства измерения зубчатых цилиндрических и конических колес, а также деталей червячных передач (кромочный зубомер, тангенциальный зубомер, нормалемер, биение мер, и т.п.);

д) средства измерения деталей шлицевых соединений;

е) средства измерения режущих инструментов.

3. Измерение (ГОСТ 16263-70) – нахождение значения физической величины опытным путем с помощью технических средств.

По настройке инструмента метод измерений может быть абсолютный и косвенный, по отсчету – прямой и косвенный, по техническим условиям – комплексный и дифференцированный, по контакту с измеряемой деталью – контактный и бесконтактный.

Под абсолютным измерением понимается такое при котором измеряемая величина определяется непосредственно по шкале прибора, например измерение штангенциркулем;

При относительном измерении определяют только отклонение значения какой-либо величины от установленной меры или образца. Например, определяют размер детали индикатором после его настройки по концевым мерам;

Прямое измерение – значение измеряемой величины устанавливают прямо по показаниям прибора.

Косвенное измерение – значение измеряемой величины определяют по результатам прямых измерений других величин, связанных с искомой определенной зависимостью. Например, длину окружности определяют вычислением после измерения соответствующего диаметра.

Комплексное измерение или контроль осуществляют специальными приборами или калибрами позволяющими дать заключение о годности детали по всем или нескольким параметрам. Например, контроль шлицевыми калибрами.

Дифференцированное измерение и контроль – независимая проверка каждого элемента детали в отдельности. Например, определение наружного и внутреннего диаметра, а также ширины шлица в шлицевых соединениях.

Контактным называется измерение, при котором измерительная поверхность прибора или инструмента соприкасается непосредственно с поверхностью измеряемой детали.

4. Метод измерений – это совокупность приемов использования принципов и средств измерения.

Известны следующие основные методы измерений ГОСТ 16263-70: непосредственной оценки, дифференциальный, нулевой и метод совпадений.

Метод непосредственной оценки – определение значения измеряемой величины непосредственно по отсчетному устройству измерительного прибора прямого действия (микрометр, термометр, амперметр и т.п.). Точность измерения невысока из-за погрешностей, связанных с градуировкой шкал и влиянием посторонних величин.

Дифференциальный метод – характеризуется измерением разности между значением измеряемой и известной величинами. Например, отклонение контролируемого размера детали на оптиметре после его настройки на ноль по блоку концевых мер длины. Позволяет получить результат с высокой точностью.

Нулевой метод – метод сравнения с мерой, при котором результирующий эффект воздействия измеряемых величин на прибор сравнения доводят до нуля. Например, измерение электрического сопротивления, емкости по схеме моста с полным его уравновешиванием.

Метод совпадений – метод сравнения с мерой, в котором разность между измеряемым значением величины и значением, воспроизводимым мерой, измеряют, используя совпадение отметок шкал или периодических сигналов известной и неизвестной величин. Например, измерение штангенциркулем или сравнение радиосигналов точного времени с показаниями хронометра и т.д.

5. Основные метрологические показатели средств измерений

Метрологические показатели средств измерений: - цена деления шкалы, интервал деления шкалы, допустимая погрешность измерительного средства, пределы измерений и измерительное усилие.

Цена деления шкалы - установленная разность значений измеряемой величины соответствующей двум соседним отметкам шкалы. Например, у индикатора часового типа цена деления равна 0,01 мм. Это значит, что измерительный наконечник перемещается на 0,01 мм.

Интервал деления шкалы – расстояние между серединами двух соседних отметок шкалы.

Погрешность показания прибора – разность между показанием прибора и действительным значением измеряемой величины, которая устанавливается путем измерения образцовым прибором.

Погрешность измерения – суммарная погрешность, в которую входит погрешность установки при измерении, погрешность настройки, температурная погрешность и ряд других факторов.

Пределы допускаемой погрешности – наибольшая погрешность средства измерения, при которой оно признано годным к применению.

Пределы измерений измерительного средства – это наибольшее и наименьшее значение размера, которое можно измерить данным средством измерения.

Пределы измерений по шкале – наибольшее и наименьшее значение размера, которое можно измерить непосредственно по шкале.

Измерительное усилие – усилие, возникающее при контакте измерительной поверхности с контролируемым изделием.

1. Цель работы:

1.1. Изучить конструкцию, правила измерения и метрологические показатели инструментов.

1.2. Научиться оценивать качество изготовления деталей.

2. Регламент работы:

Общее время выполнения работы – 90 мин.

10 - 15 мин – пояснения преподавателя по конструкции измерительных средств, приемам измерений и правилам отсчета размеров по шкалам инструментов.

50 мин – самостоятельная работа студентов по изучению основных понятий метрологии, конструкция и принципы измерения штангенинструментом. Начертить эскиз детали. Произвести измерения действительных размеров детали всеми видами штангенинструментов (не менее двух) и представить их на эскизе. Построить схему полей допусков и установить соответствие заданных размеров действительным. Дать заключение о годности детали.

20 мин – оформление отчета.

5 мин – упаковка инструмента и уборка рабочего места.

3. Штангенинструменты, детали для выполнения работы

3.1. Детали для измерений.

3.2. Штангенинструмент.

3.3. Методические указания для выполнения работы.

Теоретические сведения Штангенинструменты

Штангенинструменты применяют для линейных измерений, не требующих высокой точности. В группу этих инструментов входят штангенциркули, штангенглубиномеры, штангенрейсмусы и штангензубомеры.

Вид измерения штангенинструментами – абсолютный.

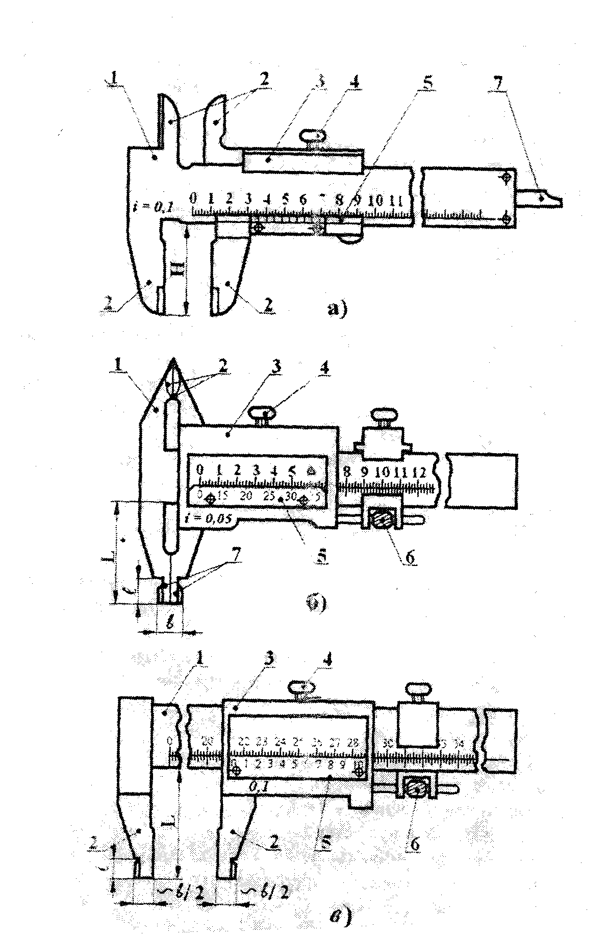
Наиболее распространенными из штангенинструментов является штангенциркули (рис. 1.1), которые выпускаются по ГОСТ 166-63 трех типов:

- ШЦ-1 - с двусторонним расположением губок, для наружных и внутренних измерений и с линейкой для измерения глубины (рис. 1.1 а). Величина отсчета по нониусу 0,1 мм;

- ШЦ-2 – с двусторонним расположением губок, для измерения и разметки. Величина отсчета по нониусу 0,05 или 0,1 мм (рис. 1.1 б).

- ШЦ -3 – с односторонними губками для наружных и внутренних измерений с величиной отсчета 0,05 или 0,1 мм.

Основными частями штангенинструментов являются, штага 1, измерительные губки 2, рамка 3, зажим рамки 4, нониус 5, микрометрическая подача 6, и линейка глубиномера 7.

Штангенглубиномеры

Штангенглубиномеры служат для измерения глубин , пазов до 500 мм и высот, выступов до 400 мм. Рамка 3 штангенглубиномера имеет основание 4, являющееся измерительной поверхностью (рис. 1.2 а).

Штангенрейсмусы

Штангенрейсмусы (ГОСТ 164-64, рис. 1.2 б) служат для разметки и контроля размеров до 2500 мм разметочной ножкой, а также для измерения высоты деталей измерительной ножкой 6.

Рис.1.1. Штангенциркули

а) б)

Рис. 1.2. Штангенглубиномер и штангенрейсмус

При измерении штангенинструментами размер определяется в целых долях миллиметра по основной шкале на штанге, части деления по нониусной шкале. Примеры отсчетов приведены на рис. 1.3 для различных величин отсчета нониусов.