Зміст
1. Мета і задачі дисципліни
1.1 Значення випробування матеріалів і зварних з’єднань
.2 Методи випробувань
.3 Види зовнішніх навантажень на зварні з’єднання і матеріали
Статичні випробування
.1 Методи випробування на розтягування за ГОСТ 1497-73
.1.1 Розтягнення зразків
.1.2 Розтягнення зварних з’єднань
.1.3 Випробування на розтяг при підвищених і понижених температурах
.1.3.1 Методи випробувань на розтяг при підвищених температурах регламентуються ГОСТ 9651-73
.1.3.2 Методи випробувань на розтяг при понижених температурах
.2 Методи випробувань на тривалу міцність ГОСТ 10145-62
.2.1 Форма і розмір зразків
.2.1.1 Встановлюються наступні основні зразки для випробувань
.2.1.2 Форма і розміри головок зразків і перехідної частини визначаються прийнятим способом закріплення зразка в затискачах випробувальної машини
.2.2 Устаткування та апаратура для проведення випробувань
.2.2.1 Машини для випробувань на тривалу міцність повинні
забезпечувати
2.2.2.2 Продовження штанги для закріплення зразків повинно забезпечувати встановлення зразків без переносу і осьове прикладання
навантаження
2.2.2.3 Нагрівальні пристрої повинні забезпечувати рівномірний нагрів зразків до заданої температури і зберігання її на протязі всього періоду випробування
.2.2.4 Термопари повинні систематично перевірятися
.2.2.5 Вимірювання температури потрібно проводити приладами з похибкою не більше 0,5
.2.3 Проведення випробувань
.2.3.1 Встановлений в захват випробувальної машини і розміщений в печі зразок, нагрівають до заданої температури, час нагріву зразка переважно не більше 8 год. і вимірюють його при потрібній температурі не менше 1 години
.2.3.2 Для вимірювання температури зразків на кінцях робочої частини повинно встановлюватися не менше 2 термопари, таким чином, щоб гарячі спаї щільно доторкались до поверхні зразка
.2.3.3 Необхідно періодично не рідше ,ніж через 2 год. змінювати температуру з допомогою потенціометра
.2.3.4 Після нагрівання зразка, і витримці його при заданій температурі до нього плавно прикладають навантаження
.2.3.5 Після руйнування зразка визначають
.2.3.6 Тривалість випробування встановлюється для кожного металу в залежності від марки матеріалу
.2.3.7 У випадку вимушеного переривання випробувань, розвантаження зразків можна не проводити
.2.3.8 Результати випробувань вважати недійсними
.2.4 Підрахунок (розрахунок) результатів
.2.5 Форма запису (оформлення) результатів випробувань металів і сплавів на тривалу міцність
.3 Метод випробувань на повзучість
.4 Форма і розміри зразків
.4.1 Встановлюються наступні основні зразки
2.4.1.1 Допустимі відхилення від заданої
розрахункової довжини зразка, довжини ділянки робочої частини зразка, на якому
вимірюється видовження ліній, не повинні перевищувати ![]()
.4.1.2 Форма та розміри головки зразків визначають прийнятим способом закріплення вимірювача видовження на зразку і способом закріплення зразка в захватах випробувальної машини
.4.1.3 Зразки повинні мати однакову площу поперечного перерізу по всій довжині
.4.1.4 Поверхня зразків повинна бути гладка, без рисок і пошкоджень
.4.1.5 Якщо метал підлягає випробуванню в термічно обробленому стані, то термообробці піддаються заготовки для зразків
2.4.2 Устаткування та апаратура для випробувань
.4.2.1 Машини для випробування металів на повзучість повинні забезпечувати
.4.2.2 Прилади для вимірювань деформації повинні забезпечувати точність підрахунку не менше 0,002мм
.4.2.3 Нагрівний пристрій повинен забезпечувати рівномірний нагрів зразка до заданої температури і зберігання її на протязі всього часу випробувань
.4.2.4 Для вимірювання температури на зразках з розрахунковою довжиною до 100мм включно, повинно встановлюватись не менше двох термопар
.4.2.5 Термопари повинні систематично провірятись по еталонній
.4.2.6 Вимір температури потрібно проводити приладами з похибкою
.4.3 Проведення випробувань
.4.3.1 Правильність (відсутність ексцентриситету) встановлення зразків в захват випробувальної машини провіряється вимірюванням при нормальній температурі пружних видовжень зразка на двох діаметрально-протилежних сторонах
.4.3.2 Встановлений в захват випробувальної машини і поміщений в нагрівальну піч зразок нагрівається до заданої температури (час нагрівання не більше 8 годин) і витримують при цій температурі не менше 1 години
.4.3.3 Температура випробувань (°С) вибирається кратною 50
.4.3.4 Після нагріву зразка до заданої температури і витримки, до нього плавно прикладають попереднє навантаження, що повинно бути рівне приблизно 10% від заданого загального навантаження
.4.3.5 Норми на тривалість випробувань і допуск на деформацію при заданому напруженні і температурі встановлюється для кожного матеріалу в залежності від його призначення
.4.3.6 Температура приміщення під час випробування повинна бути по можливості постійною
.4.3.7 Після закінчення випробувань на повзучість зразок розвантажують до величини попереднього навантаження і визначають абсолютну величину залишкового видовження
.4.4 Підрахунок результатів випробувань
.4.4.1 Процес випробувань відображають у вигляді первинної кривої повзучості в координатах
.4.4.2 Умовна границя повзучості - напруження, які викликають за встановлений час випробувань при заданій температурі, задане видовження зразка (сумарне або залишкове), або задану швидкість повзучості на прямолінійній ділянці кривої повзучості
.4.4.3 Визначення умовної границі повзучості повинно проводитися наступним чином
.4.5 Форма запису результатів випробування металів на повзучість
Перелік
посилань
1. Мета і задачі дисципліни
зварне з’єднання навантаження сплав
Сучасні зварні конструкції експлуатуються в складних умовах в широких діапазонах роботи (температура, тиск, рівень радіації, статичні і динамічні навантаження та ін.) Тому при виготовленні зварних конструкцій необхідно чітко виявляти основні фактори, що діють на конструкцію в процесі експлуатації. Ці дані необхідні для моделювання зовнішніх навантажень, як в процесі створення нових металевих конструкцій, так і для визначення якості готових конструкцій. Якість зварних з'єднань перевіряють вибірковими руйнівними випробуваннями на міцність і не руйнівними випробуваннями за допомогою радіаційних, ультразвукових, магнітних, електромагнітних та інших методів контролю.
Якість продукції, згідно з
Держстандартом - це сукупність властивостей продукції, що обумовлюють її
працездатність задовільняти визначені потреби відповідно до її призначення:
міцності, надійності, відсутності дефектів, структури металу шва і біляшовної
зони, корозійної стійкості, числа та характеру виправлення. З метою економії
матеріалів і забезпечення високої якості зварних виробів на перший план
виступає питання технічного матеріалознавства. Для визначення доцільності
використання того чи іншого матеріалу для виготовлення зварної конструкції
необхідно комплексно вивчити його властивості і поведінку під час різних
навантажень, близьких до умов експлуатації, застосовуючи для цього сучасну
методику випробувань матеріалів.
1.1 Значення
випробування матеріалів і зварних з'єднань
Найважливішою метою випробувань матеріалів і зварних з'єднань є визначення їх властивостей за характерними ознаками, відтворення цих ознак у кількісній формі у вигляді визначених параметрів, регулярний контроль за зміною цих властивостей, що відбувається в процесі виготовлення конструкцій (виробничий контроль) і, зокрема, виявлення дефектів, які можуть при цьому виникнути.
1.2 Методи випробувань
1) механічні і технологічні методи випробувань застосовують для дослідження міцності, пластичності, деформування, в'язкості та характеру пошкодження. Отримані числові показники використовують для розрахунку інтенсивності механічного навантаження вузлів та конструкцій, для характеристики технологічних властивостей (деформування під час обробки тиском, зварювання, прожарювання). До цієї групи можна віднести і визначення властивостей поверхні (твердості, опору спрацювання);
) фізичні методи випробування застосовують для кількісного визначення механічних, термічних, оптичних, електричних і магнітних властивостей матеріалу, для виявлення зміни стану;
) хімічні та фізичні методи застосовуються для дослідження хімічного складу та структури матеріалу, а також для визначення його стійкості в агресивних середовищах (корозійні випробовування);
) методи визначення деформацій і напружень;
) методи неруйнівного контролю призначені для виявлення виду, величини і частоти розподілу не суцільностей (дефектів) і часто використовується для безперервного визначення параметрів якості;
) методи дослідження тонкої побудови
та структури їх зміни - металографія.
1.3 Види зовнішніх навантажень на зварні з'єднання і матеріали
Основна задача випробувань полягає в тому, щоб максимально наблизити умови випробувань до експериментальних умов експлуатації, та кількісно визначити зміни в цих умовах основних властивостей, функцій і характеристик конструкцій (виробів) та матеріалів. Види діючих факторів та їх значення в залежності від умов експлуатації матеріалів і зварних конструкцій, обумовлені державними стандартами та технічними умовами. А для створюваної продукції технічним завданням на їх розробку.
До основних діючих факторів відносяться:
механічні, кліматичні, біологічні і спеціальні середовища, іонізуючі та
електромагнітні випромінювання.
2. Статичні випробування
2.1 Методи випробувань на
розтягнення за ГОСТ 1497-73
.1.1 Розтягнення зразків - є одним з основних видів механічних випробувань металів (матеріалів) і зварних з'єднань. Воно дозволяє виявляти їх важливі властивості. З випробовуваного матеріалу виготовляють спеціальні зразки (найчастіше циліндричної форми, а якщо з листового - то плоскі). Ці зразки спеціальних розмірів (рис. 1).
Випробування на розтяг проводять на розривних машинах, що дозволяють визначати зусилля та відповідні деформації зразка. За одержаними даними будують первинну діаграму розтягу, де по осі ординат відкладають зусилля, а по осі абсцис - відповідне видовження. Характер діаграми залежить від властивостей випробовуваного матеріалу або зварного з'єднання.
Методи випробування на розтяг
ГОСТ 1497-73, який введений в дію з 1.01.75. Даний ГОСТ розповсюджується на
чорні і кольорові метали і сплави, і вироби з них, за винятком дроту, труб,
стрічки і листового металу товщиною до 0,5 мм. Даний ГОСТ встановлює методи
статичних випробувань на розтяг для визначення при температурі ![]()
°С наступних характеристик
механічних властивостей: границя пропорційності ![]()
, границя пружності ![]()
, границя текучості (фізична ![]()
, і умовна ![]()
- 0,2 деформація), тимчасовий опір ![]()
, дійсний опір розриву ![]()
, відносне
видовження після розриву ![]()
, відносне звуження після розриву ψ.
Границя текучості (фізична ![]()
) в ГОСТі, яскраво виражена на
графіку, найменше напруження при якому зразок деформується без помітного
збільшення розтягуючого навантаження.
Границя текучості (умовна ![]()
![]()
- напруження, при якому залишкове
видовження досягає 0,2% довжини ділянки зразку, видовження якого приймається в
розрахунок при визначенні вказаної характеристики.
Тимчасовий опір 
- напруження, що відповідає
найбільшому навантаженню Рmах , що
передує руйнуванню зразка.
Дійсний опір ![]()
розриву ![]()
- напруження, яке визначається
відношенням навантаження - ![]()
в момент розриву до площі
мінімального поперечного перерізу зразка після розриву - ![]()
.
Для випробувань на розтяг застосовують циліндричні зразки діаметром 3 мм і більше, а також плоскі товщиною 0,5 мм і більше.
Випробування на розтяг - це основний і найбільш поширений метод дослідження та контролю механічних властивостей, металу і зварних з'єднань. Розтяг використовують для дослідження нових сталей при розрахунку їх механічних характеристик, для визначення розмірів і величини статичного навантаження деталей і для контролю якості металу та зварних з'єднань. Випробування на розтяг досліджують поведінку металу при одноосьовому навантаженні з рівномірним розподілом по всьому перерізу.
Характеристики пластичності і
міцності сильно відрізняються.
Рисунок 1 - Загальний вигляд зразків:
а) циліндричного
б) плоского (виготовленого з
листового металу)
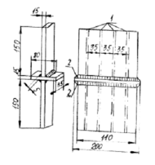
2.1.2 Розтягнення зварних з'єднань
Для випробування плоских (рис.2 і 3)
і трубчастих зварних з'єднань використовують зразки, що мають надріз у тому
місці, де виконувалось зварювання. Надріз виконують для того, щоб при розтягу
руйнування проходило по шву. Це дозволяє оцінювати якість зварного шва.
Ступінь, деформування металу тої чи іншої зони зварювання оцінюють за
переміщенням контрольних рисок на еластичній плівці. Випуклість зварного шва
(підсилення), попередньо знімають торцевою вертикальною фрезою. Випробування на
розтяг кутових (рис.4) швів проводять на хрестоподібних зразках без надрізів.
Кутові зварні шви зразків повинні бути симетричними і не мати великої товщини
для запобігання руйнуванню основного металу. Контроль товщини зварного шва
здійснюється в трьох місцях за шириною зразка з точністю до 0,2мм.
Рисунок 2 - Загальний вигляд
плоского Рисунок 3 - Загальний вигляд зразка з надрізом трубчастого зразка з
надрізом