Материал: Материальный баланс производства триацетатцеллюлозной пленки

Внимание! Если размещение файла нарушает Ваши авторские права, то обязательно сообщите нам

Подготовка целлюлозы заключается в ее разрыхлении, очистке от механических загрязнений и высушивании.

После охлаждения до 300С активированную целлюлозу пневмотранспортом подают на ацетилирование. Ацетилирующие смеси готовят в специальных смесителях. Ацетилирование проводят в горизонтальном цилиндрическом аппарате - ацетиляторе.

Вследствие экзотермичности реакции ацетилирования ее проводят в три приема несколько различающимися по составу смесями. В ацетиляторе целлюлозу сначала обрабатывают уксусным ангидридом. Частичное омыление полученного триацетата целлюлозы осуществляют в две стадии. Катализатором процесса омыления служит серная кислота. Гидролиз прекращают нейтрализацией катализатора горячим раствором ацетата натрия. После отгонки метиленхлорида, которую осуществляют в две стадии, осаждают ацетат целлюлозы при помощи разбавленной уксусной кислоты, поступающей потом на регенерацию [3].

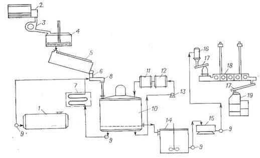
Приведем описание еще одного технологического процесса производства ацетата целлюлозы гомогенным методом. Этот процесс известен как «Дормаген»-метод, схема которого приведена на рисунке 3.

Рисунок 3 - Схема технологического процесса производства ацетата целлюлозы по гомогенному методу с непрерывной промывкой («Дормаген»-метод):

- активатор; 2 - бункер; 3 - ацетилятор; 4 - осадитель; 5 - траспортер; 6 - резервуар с мешалкой; 7- промывная машина; 8 - центрифуга; 9 - сушилка.

Целлюлозу подвергают обработке уксусной кислотой. После загрузки целлюлозы в ацетилятор, в него в два (или более) приема вводят ацетилирующую смесь. Необходимой степени гидролиза достигают регулированием времени воздействия ацетилирующей смеси на ацетат целлюлозы. Реакцию гидролиза прекращают введением в реакционную среду 30%-ного раствора ацетата натрия. Содержимое осадителя непрерывно перемешивается. Осажденный ацетат с конца ленты траспортера попадает в резервуар, а жидкость, проходя через отверстия в ленте, снова возвращается в осадитель, циркулируя по замкнутому циклу. Из нижней части резервуара ацетат целлюлозы подают на промывку. Промывная машина может быть использована и для частичного омыления триацетата целлюлозы, что позволяет получить продукт, использующийся при изготовлении основы. Малое количество серной кислоты, вводимой в качестве катализатора, позволяет избежать стадии стабилизации. Далее ацетат целлюлозы попадает в вакуумную сушилку, где перемешивается обогреваемыми изнутри лопастями [3].

Эффективность этерификации целлюлозы позволяет повысить непрерывный процесс получения ацетата целлюлозы гомогенным методом. Этот процесс предусматривает ацетилирование как в среде уксусной кислоты, так и в среде метиленхлорида, что позволяет сократить количество уксусной кислоты, направляемой на регенерацию. Схема такого процесса представлена на рисунке 4.

Рисунок 4 - Схема непрерывного технологического процесса производства ацетата целлюлозы по гомогенному методу

1 - гидроизмельчитель; 2- ленточный фильтр; 3 - всасывающие камеры; 4 - аппарат этерификации; 5 - кожух; 6 - патрубок для предупреждения сифонирования; 7 - вал; 8 - лопасти.

В гидроизмельчитель загружают целлюлозу и 80%-ную уксусную кислоту. Диспергирование ведут 15 мин. Суспензию целлюлозы подают насосом на ленточный фильтр, где ее слой орошается ледяной уксусной кислотой. При этом вода полностью вытесняется из целлюлозы.

Активированную целлюлозу, отжатую примерно до трехкратной массы, направляют в аппарат этерификации. Растворенный ацетат целлюлозы выгружают в смеситель, в котором замедляют реакцию введением разбавленной уксусной кислоты. Частичное омыление триацетата целлюлозы проводят в присутствии воды в вертикальных баках. После гидролиза ацетат целлюлозы, обладающий необходимой степенью ацетилирования, осаждают большим объемом воды. Осажденный ацетат подвергают водным промывкам, отжимают на прессах и высушивают во вращающихся сушилках [3].

.2 Получение ацетатов целлюлозы гетерогенным методом

Наиболее старой разновидностью этого метода является осуществление ацетилирования и сопутствующих ему процессов в одном аппарате, представляющем собой горизонтальную центрифугу объемом 5 м3 (рис.5).

Рисунок 5 - Ацетилятор для производства ацетата целлюлозы по гетерогенному методу

- трубка для термометра; 2 - патрубок для выхода паров бензола; 3, 4, 18 - штуцер заглушения; 5 - патрубок для подачи холодной воды; 6 - обечайка; 7 - корзина; 8 - смотровой люк; 9 - сальник; 10 - звездочки; 11 - вал; 12 - стойки; 13 - патрубок для подачи промывной воды; 14 - патрубок для выхода отработанной ацетилирующей смеси; 15 - патрубок для слива воды; 16 - загрузочный люк; 17 - патрубок для подачи ацетилирующей смеси; 19 - разгрузочный люк.

Ацетилирующая смесь состоит примерно из 60% уксусного ангидрида, 20% уксусной кислоты и 20% бензола. Вслед за ацетилирующей смесью в ацетилятор подают катализатор - хлорную кислоту в количестве 0,7-0,8% от массы сухой целлюлозы. В процессе ацетилирования в аппарат вводят дополнительное количество бензола, предотвращающего растворение образующегося эфира целлюлозы. По окончании ацетилирования в ацетилятор подают 10%-ный раствор ацетата натрия или калия, связывающего хлорную кислоту и прекращающего реакцию этерификации. Образовавшийся триацетат целлюлозы отжимают при максимальной частоте вращения барабана ацетилятора, а отработанную ацетилирующую смесь направляют на регенерацию. Затем триацетат промывают бензолом. Обычно делают четыре бензольные промывки, после чего в аппарат подают острый пар, которым отгоняют бензол, и промывают триацетат целлюлозы водой.

Для частичного омыления триацетат целлюлозы в том же аппарате обрабатывают 10-12%-ной азотной кислотой в течение 4-6 ч при 30-350С. Частично гидролизованный триацетат целлюлозы отжимают от кислоты, промывают несколько раз водой и высушивают в ленточных сушилках [3].

Схема периодического процесса получения ацетата целлюлозы гетерогенным методом в статических условиях представлена на рисунке 6.

Рисунок 6 - Схема получения гетерогенного триацетата целлюлозы периодическим методом, не предусматривающая омыления

- емкость для ацетилирующей смеси; 2 - рыхлительная машина; 3 - молотковая дробилка; 4 - кондиционер; 5 - активатор; 6 - поворотное устройство; 7 - холодильник; 8 - загрузочный шнек; 9 - насосы; 10 - ацетилятор; 11, 12 - теплообменники; 13 - циркуляционный насос; 14 - смеситель; 15 - пульсирующая центрифуга; 16 - циклон; 17 - транспортирующие шнеки; 18 - коридорная сушилка; 19 - пресс.

Особенностью процесса является возможность получения высокозамещенного эфира целлюлозы, который непосредственно, без частичного омыления, может быть использован для изготовления основы. Кроме того, процесс позволяет при необходимости подвергать ацетилированию смеси хлопковой и древесной целлюлозы, получаемые на стадии активации.

Взвешенную целлюлозу загружают в рыхлительную машину, из которой она попадает в молотковую дробилку, где дополнительно измельчается. Оттуда целлюлоза попадает в кондиционер, где высушивается горячим воздухом, а затем поступает в активатор. Влажность целлюлозы, загружаемой в активатор, составляет 3-3,5 %. Одновременно с целлюлозой в активатор подают активирующую азеотропную смесь ксилола, уксусной кислоты и уксусного ангидрида. По истечении времени активации целлюлозу одновременно с ацетилирующей смесью подают в ацетилятор. После ацетилирования следуют промывки ксилолом, назначение которых - удалить оставшуюся на поверхности триацетата целлюлозы ацетилирующую смесь. Далее оставшийся ксилол удаляют отгонкой с водяным паром. Одновременно с отгонкой происходит стабилизация триацетата целлюлозы. Затем триацетат поступает на пульсирующие центрифуги непрерывного действия, где отжимается от воды до влажности 44-50%. Высушивается триацетат в коридорной противоточной сушилке с предварительным подогревом и циркуляцией воздуха по зонам [3].

Еще один способ производства триацетата целлюлозы гетерогенным методом, схема которого представлена на рисунке 7, был разработан в Советском Союзе. Основной частью агрегата является транспортер с бесконечной лентой. Линт располагается ровным слоем на поверхности рабочей ленты и вместе с ней проходит через зоны активации, ацетилирования, бензольных промывок и т.д., где орошается из горизонтальных перфорированных патрубков соответствующими реагентами. В такой установке недостаточна герметизация отдельных зон, что приводит к смешению паров различных компонентов, вследствие чего ухудшается качество триацетата целлюлозы и возрастает расход исходных материалов [3].

Рисунок 7 - Схема получения гетерогенного триацетата целлюлозы непрерывным методом

- разрыхляющая машина; 2 - рабочая лента; 3 - разравнивающий механизм; 4 - зона активации; 5 - зона ацетилирования; 6 - теплообменник; 7 - насос; 8 - отжимные приспособления; 9 - зона, в которой HCl нейтрализуется раствором ацетата калия в водной уксусной кислоте; 10-13 - зоны, в которых отработанная ацетилирующая смесь удаляется бензолом; 14 - зона, в которой бензол отмывают горячей водой; 15 - зона частичного омыления; 16-20 - зоны промывки и высушивания.

.        ФОРМОВАНИЕ ПЛЕНОК ИЗ ТРИАЦЕТАТА ЦЕЛЛЮЛОЗЫ

.1 Механизм процесса пленкообразования и структура технических пленок

Технологический процесс изготовления пленок из растворов аморфных полимеров заключается в нанесении раствора полимера на твердую зеркальную поверхность и испарении из него растворителей. Испарение растворителей и связанное с ним повышение вязкости приводят к переходу полимера из растворенного в стеклообразное состояние. В период такого перехода возникает и фиксируется определенная структура пленки [4].

Различают микро- и макроструктуру пленок. Под микроструктурой следует понимать взаиморасположение и форму макромолекул полимера в первичных надмолекулярных образованиях. Макроструктура - это порядок расположения и характеристика первичных и других более сложных вторичных надмолекулярных образований в пленках.

Основные положения процесса пленкообразования сформулировал Козловский [5].

Сразу же после нанесения пленкообразующего раствора на твердую поверхность начинается испарение растворителей, приводящее к уменьшению объема раствора. Так как раствор удерживается на поверхности силами адгезии, уменьшение объема возможно только за счет уменьшения толщины слоя раствора при сохранении плоскостных размеров. Это приводит к растягиванию макромолекул полимера в плоскости слоя. Поэтому макромолекулы пленки, снятой с твердой поверхности, обладают значительными внутренними напряжениями. Стеклообразное состояние пленки ограничивает возможность протекания в ней релаксационных процессов, и уменьшение внутренних напряжений в таких пленках будет проходить чрезвычайно медленно, если этому не будут способствовать такие факторы, как повышение температуры или набухание. Как известно, любое напряженное состояние макромолекул является неравновесным и стремится перейти в равновесное состояние, когда молекулярные цепи в целом, их сегменты и звенья дезориентированы по отношению друг к другу, т.е. осуществляются процессы релаксации.

Возможные типы структур технических пленок схематически показаны на рисунке 8.

Рисунок 8 - Схематическое изображение типов микроструктур технических пленок

а - изотропная; б - анизотропная неустойчивая; в - анизотропная устойчивая; г - плоскоориентированная неустойчивая; д - плоскоориентированная устойчивая.

Схема г характеризует структуру эфироцеллюлозной пленки, полученной на твердой поверхности при быстро наступающем переходе раствора в стеклообразное состояние. В результате испарения растворителей уменьшается толщина нанесенного на поверхность пленкообразующего раствора. Это приводит к плоскостной ориентации макромолекул полимера и к растягиванию их в различных направлениях. Вместе с испарением растворителей протекают релаксационные процессы, осуществление которых возможно только до того, как система перейдет в стеклообразное состояние.

Медленное высушивание приводит к возникновению более устойчивой плоскоориентированной структуры, так как в этом случае релаксационные процессы успевают пройти более полно (рис.8, схема д). При создании условий, способствующих релаксации (набухание, тепловая обработка), можно получить из структуры г структуру д. Пленки с такой структурой обладают значительной прочностью при растяжении, одинаковой во взаимно перпендикулярных направлениях, и характеризуются менее значительной усадкой, чем пленки со структурой г.

На нетвердой поверхности, а именно - на поверхности ртути, была получена пленка с изотропной структурой (рис 8., схема а). Такие пленки мало прочны и мало усадочны, причем усадка вызывается только испарением из пленки летучих компонентов и сближением макромолекул полимера или их агрегатов.

Схема б характеризует анизотропную неустойчивую структуру. Такая пленка весьма прочна и обладает повышенной усадкой (в одном направлении). Частный случай такой структуры - структура в, отличающаяся высокой прочностью и малой усадкой. [3]



Рисунок 9 - Схематическое изображение слоев пленки

а - плотная упаковка макромолекул; б - рыхлая упаковка; в - плоскоориентированные макромолекулы.

Возникновение верхнего, плотно упакованного слоя обязано тому, что составляющие его молекулярные цепи наиболее полно подверглись релаксационным процессам, чему способствует диффузия молекул растворителя из глубинных слоев пленки на ее поверхность. Нижний слой, связанный с твердой поверхностью, имеет наиболее напряженную микроструктуру, вызывающую повышенную усадку и скручиваемость пленки в процессе ее эксплуатации вследствие тенденции макромолекул к релаксации. Промежуточные слои находятся в наиболее благоприятных условиях для осуществления макромолекулами релаксационных процессов, однако в них всегда содержится значительное количество растворителей, препятствующих плотной упаковке свернутых молекулярных цепей [4].

.2 Оборудование для изготовления пленок из раствора триацетата целлюлозы и описание технологической схемы процесса

Получение широкой полосы пленки длиной в несколько сот метров может быть обеспечено только применением машин непрерывного действия. Известно два типа машин для непрерывного изготовления основы из растворов полимеров. Первый тип - барабанная машина - представляет собой металлический барабан большого диаметра (3 м и более) с зеркальной поверхностью, вращающийся в герметизированном корпусе, в котором циркулирует теплоноситель (рис. 10).

Рисунок 10 - Схема барабанной машины для изготовления пленок из растворов полимера

- фильера; 2 - барабан; 3 - дисковые ножи и смотка; 4 - сушильные каналы.

Пленкообразующий раствор при помощи специального устройства - фильеры, установленной над верхней частью вращающегося барабана, наносится на его поверхность и последовательно проходит стадии стеклования и высушивания. Сформировавшуюся пленку направляют в сушильные шкафы для окончательного высушивания [3].