Материал: Материальный баланс производства триацетатцеллюлозной пленки

Внимание! Если размещение файла нарушает Ваши авторские права, то обязательно сообщите нам

Материальный баланс производства триацетатцеллюлозной пленки

МИНИСТЕРСТВО КУЛЬТУРЫ РОССИЙСКОЙ ФЕДЕРАЦИИ

Федеральное государственное бюджетное образовательное учреждение высшего образования

«САНКТ - ПЕТЕРБУРГСКИЙ ГОСУДАРСТВЕННЫЙ УНИВЕРСИТЕТ КИНО И ТЕЛЕВИДЕНИЯ»

Кафедра технологии полимеров и композитов







КУРСОВАЯ РАБОТА

по дисциплине «ПОЛИМЕРНЫЕ МАТЕРИАЛЫ ОСНОВЫ НОСИТЕЛЕЙ ЗАПИСИ ИНФОРМАЦИИ»

ТЕМА: «Материальный баланс производства триацетатцеллюлозной пленки»

Выполнила Кириченко Н.А.

Приняла: Ильина В.В.



Санкт - Петербург 2014

ЗАДАНИЕ

В курсовой работе необходимо описать схему технологического процесса получения пленки-основы для кинофотоматериалов и магнитных лент и произвести расчет материального баланса по данным таблицы 1.

Таблица 1 - Исходные данные

Вариант 1.8

Наименование

Величина параметра

Триацетат целлюлозы, масс. %

13,94

Трифенилфосфат, %

2,31

Красители, %

0,02

Метиленхлорид, %

75,12

Метанол, %

7,46

Бутанол, %

1,15

Предполагаемый выход рекуперации растворителей, %

85,00

Предполагаемый выход обезвоживания, %

95,00

Предполагаемое количество кромки, %

6,00

Предполагаемый выход безвозвратных потерь пленкообразующего вещества, %

1,5

Ширина готовой пленки, м

1,2

Толщина готовой пленки, мкм

140

Скорость движения ленты, м/мин

5,5



РЕФЕРАТ

В ней представлены одиннадцать рисунков и одна таблица. Работа написана на основании шести источников.

Объектом исследования является триацетат целлюлозы как основа кинофотопленок. В ходе работы были рассмотрены методы и различные технологические схемы получения триацетата целлюлозы. В результате технологического расчета был составлен материальный баланс производства основы кинофотопленок на основе заданных параметров.

СОДЕРЖАНИЕ

Введение

.        Ацетаты целлюлозы

.        Методы получения ацетатов целлюлозы

2.1 Получение ацетатов целлюлозы гомогенным методом

.2 Получение ацетатов целлюлозы гетерогенным методом

3.      Формование пленок из раствора триацетата целлюлозы

3.1 Механизм процесса пленкообразования и структура технических пленок

.2 Оборудование для изготовления пленок из раствора ТАЦ и описание технологической схемы процесса

4.      Материальный баланс производства основы из раствора ТАЦ

4.1 Технологический расчет материального баланса

Заключение

Список использованной литературы

ВВЕДЕНИЕ

Кинематограф, различные виды научной и технической фотографии, магнитная запись электрических сигналов могут развиваться только при непрерывном совершенствовании технологии гибких прозрачных пленок из искусственных и синтетических полимеров. Этому способствует развитие науки о полимерах и широкое применение полимерных пленочных материалов в различных отраслях народного хозяйства. Интенсивное развитие кинематографии, фотографии и магнитной записи электрических сигналов требует от химико-фотографической промышленности непрерывного расширения ассортимента кинофотопленок и магнитных лент, что вызывает необходимость изготовления основы различных типов.

Основа (подложка) является составной частью преобладающего большинства фотографических материалов. В первые годы развития фотографии в качестве подложки использовали стекло. Однако большая масса, хрупкость и значительная толщина такой подложки ограничивали области применения фотоматериалов и выбор аппаратов для фотографирования и обработки светочувствительных слоев. Стремление к созданию более простой и удобной в эксплуатации аппаратуры привело к возникновению идеи получения гибкой прозрачной основы, позволяющей производить фотопленки в виде ленты, наматываемой на катушку.

В 1881 г. Фуртье сообщил о применении в качестве гибкой подложки пленки из целлулоида - пластмассы на основе нитрата целлюлозы, содержащей пластификатор и краситель. Это стало большим шагом в развитии фотографии, однако такой способ не мог быть использован для изготовления катушечных пленок. Листы целлулоида получают из прессованных блоков, что ограничивает как размеры, так и гибкость получаемой подложки [3].

Огромное значение для дальнейшего развития фотографии имел способ производства катушечных пленок из нитрата целлюлозы, предложенный Гудвином в 1887 г. Сущностью этого способа является идея об изготовлении пленки путем нанесения раствора нитрата целлюлозы на зеркальную поверхность с последующим удалением растворителя. Введением в состав пленкообразующего раствора растворителей, обладающих высоким давлением пара (амилацетат, нитробензол), удалось предотвратить частичную коагуляцию нитрата целлюлозы в процессе пленкообразования и получить высококачественные пленки. Кроме того, было предложено использовать лак, позволяющий частично преодолеть эффект скручивания.

Полученные таким способом пленки имеют настолько удачное сочетание физико-механических свойств, что пока не удается воспроизвести его у пленок из других полимеров. Единственным, но вместе с тем решающим недостатком таких пленок является их высокая огнеопасность.

Из многих предлагавшихся заменителей азотнокислых эфиров целлюлозы широкое применение нашли только ее уксуснокислые эфиры. В 1897 г. Вебер впервые изготовил пленку из триацетата целлюлозы. Был разработан способ получения пленок из триацетата нанесением его раствора в хлороформе на твердую зеркальную поверхность с последующим удалением растворителя. Светочувствительные материалы, изготовленные на такой основе, были огнебезопасны, однако механические свойства, в особенности такие, как малая прочность и повышенная хрупкость, делали их широкое применение невозможным. Кроме того, применение в производственных условиях обладающего наркотическим действием хлороформа практически исключало возможность развития такого способа получения пленок [3]. Практическим решением задачи была разработанная в 1905 г. Милесом идея омыления триацетата целлюлозы до вторичного ацетата. Однако объем производства пленок на такой основе был ограничен из-за высокой стоимости, а также значительно меньшей влагостойкости по сравнению с нитратцеллюлозной пленкой. Кроме того, пленки на основе вторичного ацетата целлюлозы значительно уступали по механическим свойствам.

Триацетатцеллюлозные пленки обладают значительно меньшей водонабухаемостью, чем пленки из вторичного ацетата целлюлозы, а их механическая прочность приближается к прочности нитратцеллюлозных. Однако отсутствие в то время доступного растворителя триацетата целлюлозы, а также высокая хрупкость пленок препятствовали их широкому внедрению в производство. Исследованиями, проводившимися еще до второй мировой войны, было показано, что наличие небольшого числа гидроксильных групп в макромолекуле триацетата целлюлозы нарушает регулярность ее строения и уменьшает хрупкость пленок, изготовленных из такого частично омыленного эфира, не ухудшая заметно их физико-механических свойств.

В настоящее время отечественные и зарубежные предприятия, производящие кинопленки, используют для изготовления основы триацетат целлюлозы, содержащий до 61,8% связанной кислоты. Такой продукт получают омылением полного триацетата или созданием особых условий этерификации, когда небольшая часть гидроксильных групп целлюлозы остается непроацетиллированной. Пленки из такого триацетата целлюлозы, по физико-механическим свойствам приближаются к пленкам из нитрата целлюлозы [3].

.        АЦЕТАТЫ ЦЕЛЛЮЛОЗЫ

Целлюлоза - полимер природного происхождения. Она составляет главную часть клеточных стенок высших растений. Образуется в растениях в результате биохимических превращений, началом которых служит фотосинтез простейших углеводов. Итог этих превращений можно выразить следующим схематическим уравнением:

nCO2 + 5nH2O → (C6H10O5)n + 6nO2

Материалами, имеющими промышленное значение для получения из них целлюлозы, являются: хлопок, лубяные волокна льна, древесные ткани различных пород деревьев. Для изготовления основы применяют эфиры, полученные главным образом из хлопковой целлюлозы.

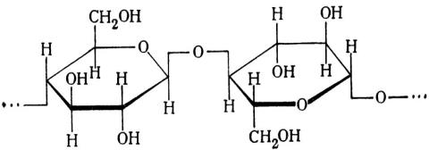
По современным представлениям целлюлоза - это высокомолекулярное соединение, макромолекулы которого состоят из большого числа ангидроглюкозных единиц, связанных между собой 1,4-β-глюкозидными связями (рис. 1).

Рисунок 1 - Структурная формула целлюлозы

Каждое элементарное звено макромолекулы целлюлозы содержит одну первичную и две вторичные гидроксильные группы. Наличие этих групп придает целлюлозе характер спирта, поэтому ей присущи реакции присоединения, замещения и окисления. Химическая переработка целлюлозы в промышленности заключается главным образом в получении ее простых и сложных эфиров [1].

Макромолекулы целлюлозы прочно связаны в пачки межмолекулярными связями. Соединяясь, пачки макромолекул целлюлозы образуют микрофибриллы, а последние в свою очередь - фибриллы. Макромолекулы целлюлозы могут образовывать настолько упорядоченные области, что она приобретает регулярность строения, присущую кристаллическим веществам. Свойства целлюлозы определяются реакционной способностью гидроксильных групп глюкозных звеньев, плотностью упаковки макромолекул, полимолекулярностью и, наконец, морфологической структурой целлюлозного волокна [2].

Эфиры целлюлозы получают обычно из линта - коротких волокон, остающихся на семенах хлопчатника после удаления длинных волокон хлопка, использующихся в текстильной промышленности. Перед химической обработкой прессованные кипы линта разрыхляют, очищают от механических загрязнений и пыли, после чего хлопок подвергают бучению. Этот процесс, называемый также щелочной варкой, заключается в обработке линта раствором едкого натра концентрации 1-4% при 130-1700С и давлении 1,1 Мпа. Бучение приводит к некоторой деструкции материала, причем низкомолекулярные фракции растворяются, что уменьшает молекулярную неоднородность целлюлозы и позволяет, изменяя режим процесса, регулировать вязкость образующегося продукта.

После бучения следует отбелка гипохлоритом натрия или окислителями более мягкого действия (перекиси, хлориты, двуокись хлора). Отбеленную целлюлозу промывают, отжимают от воды и высушивают [2]. Перед ацетилированием целлюлозу подвергают активации для повышения реакционной способности. При активации нарушаются водородные связи между макромолекулами, в первую очередь поверхностного слоя целлюлозных волокон. В результате уменьшается плотность упаковки структурных элементов и облегчается поступление реагентов к отдельным макромолекулам. Условно способы активации целлюлозы разделяют на два вида:

а)      основанные на набухании целлюлозы;

б)      основанные на введении в макромолекулу целлюлозы малого числа новых групп, нарушающих ее регулярность, например оксиэтильных.

В производственных условиях целесообразно активировать целлюлозу уксусной кислотой, входящей в дальнейшем в состав ацетилирующей смеси.

Ацетилирование целлюлозы можно осуществлять уксусным ангидридом, кетеном, хлористым ацетилом. Кроме этерифицирующего агента в состав смеси входят катализатор и растворитель или нерастворитель образующегося ацетата целлюлозы. В промышленности используют уксусный ангидрид, а в качестве катализатора - серную или хлорную кислоту [2]. Реакция ацетилирования идет по схеме:

[C6H7O2(OH)3]n + 3n(CH3CO)2O → [C6H7O2(OCOCH3)3]n + 3nCH3COOH

В процессе ацетилирования выделяется уксусная кислота, в которой растворяется образующийся ацетат целлюлозы. Такой способ получения уксуснокислых эфиров целлюлозы называют гомогенным. В качестве более активного, чем уксусная кислота, растворителя в сферу реакции вводят метиленхлорид. Наряду с этим, существует гетерогенный способ производства, при котором в состав ацетилирующей смеси вводят органические жидкости (обычно бензол или ксилол), не растворяющие ацетат целлюлозы и препятствующие его растворению. В этом случае конечный продукт сохраняет форму исходного волокна целлюлозы. Степень замещения образующегося ацетата целлюлозы практически не поддается регулированию. Для получения ацетата несколько меньшей степени замещения, применяющегося для изготовления основы, необходимо частичное омыление образующегося триацетата целлюлозы.

Существует значительное число технологических процессов, различающихся по используемой аппаратуре и режимам, но все они включают в себя одни и те же стадии: активацию целлюлозы, ацетилирование, частичное омыление, осаждение образовавшегося ацетата целлюлозы (если он получен в гомогенной среде), промывку и высушивание готового продукта [2].

.        МЕТОДЫ ПОЛУЧЕНИЯ АЦЕТАТОВ ЦЕЛЛЮЛОЗЫ

Как уже говорилось, производство ацетатов целлюлозы осуществляется двумя методами: гомогенным и гетерогенным.

Гомогенным методом ацетаты получают по двум технологическим схемам: периодической (в среде метиленхлорида или уксусной кислоты) и непрерывной (в среде уксусной кислоты).

Гетерогенным методом ацетаты целлюлозы получают так же по периодической и непрерывной технологическим схемам. Существуют две разновидности периодической схемы: ацетилирование в горизонтальной центрифуге и ацетилирование, не включающее частичного омыления образовавшегося триацетата целлюлозы. Непрерывный метод гетерогенного ацетилирования предусматривает получение ацетата целлюлозы на бесконечной движущейся ленте, несущей слой разрыхленного линта [3].

.1 Получение ацетатов целлюлозы гомогенным методом

В качестве активного растворителя в реакционную среду вводят метиленхлорид. В присутствии метиленхлорида можно применять в качестве катализатора наряду с серной кислотой также хлорную или их смеси. Хлорная кислота не взаимодействует с целлюлозой, что позволяет избежать специальных способов стабилизации готовых ацетатов.

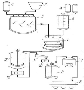
На рис. 2 приведена схема технологического процесса получения ацетата целлюлозы гомогенным методом в среде метиленхлорида.

Рисунок 2 - Схема технологического процесса производства ацетата целлюлозы по гомогенному способу

- мерник уксусной кислоты; 2 - активатор; 3 - промежуточный бункер; 4 - мерники компонентов ацетилирующей смеси; 5 - смеситель; 6 - ацетилятор; 7 - центрифуга; 8 - вакуум-сушилка; 9 - промывной аппарат; 10 - дробилка мелкого помола; 11 - сито; 12 - дробилка крупного помола; 13 - осадитель.