. До начала устройства кровли должны быть выполнены и приняты: все строительно-монтажные работы на изолируемых участках, включая замоноличивание швов между сборными железобетонными плитами, установку и закрепление к несущим плитам или к стальным профилированным настилам водосточных воронок, компенсаторов деформационных швов, патрубков (или стаканов) для пропуска инженерного оборудования, анкерных болтов, антисептированных деревянных брусков (или реек) для закрепления изоляционных слоев и защитных фартуков;
слои паро- и теплоизоляции, стяжки и затем проведена контрольная проверка уклонов и ровности основания под кровлю на всех поверхностях, включая карнизные участки кровель и места примыканий к выступающим над кровлей конструктивным элементам.
Проверочные работы должны включать:
соблюдение проектных уклонов от водораздела и других высших отметок ската кровли до самых низших - водосточных воронок; для этого сначала следует устанавливать нивелир и с помощью рейки определить их отметки . Уклоны определяются отношением превышения отметок к расстоянию между замеряемыми точками. Если окажется, что уклон основания меньше проектного, необходимо исправить стяжку, доведя все отметки до проектных значений;
натянуть шнур между всеми высокими точками или на водоразделе и низкой точкой возле воронкис целью проверки соблюдения уклона по всей поверхности основания на скате и исправить места, где будут обнаружены контруклоны (обратные уклоны);
проверить ровности всей поверхности основания. Для этого приложить к поверхности стяжки вдоль и поперек ската трехметровую рейку; просвет между поверхностью основания и рейкой не должен превышать 10 мм .
Если все требования проекта к качеству основания соблюдены, можно поверхность стяжки огрунтовать.
. При устройстве кровель с применением наплавляемых рулонных материалов должны выполняться требования норм по технике безопасности в строительстве, действующих правил по охране труда и противопожарной безопасности.
. Для устройства кровельного ковра применяют следующие материалы: наплавляемые рулонные материалы Филизол (ТУ 5770-008-05108038-97). Показатели физико-механических свойств материалов Филизол;герметизирующие мастики «Эластосил», УТ-32 и другие, удовлетворяющие требованиям ГОСТ 25621-83 для герметизации мест примыкания кровельного водоизоляционного ковра.
На эксплуатируемых кровлях (крышах-террасах) в качестве разделительного слоя рекомендуется применять холст из синтетических волокон по ТУ 6-19-290-83.
Для компенсаторов деформационных швов, элементов наружных водостоков и отделки свесов карнизов применяют материалы в соответствии с требованиями СНиП II-26-76 или серии 1.010-1.
. Работа по устройству кровли из Филизола в соответствии со схемой организации рабочего места должна быть включена в монтажный цикл с тем, чтобы использовать башенный кран для подъема рулонных материалов, а в случае отсутствия следует использовать крышевой кран .
. Работа по устройству кровли должна быть организована таким образом, чтобы до минимума сократить непроизводительные перестановки механизмов и переходы рабочих, а также перемещение и переноску Филизола.
. Для обеспечения качества кровли, ровности основания:
перед выполнением теплоизоляции производят нивелировку поверхности несущих плит для установки маяков, служащих основанием под рейки для укладки монолитной теплоизоляции полосами на необходимую высоту.
. Теплоизоляционные работы совмещают с работами по устройству пароизоляционного слоя (если он требуется по проекту), выполняя их «на себя». Это повышает сохранность теплоизоляции при транспортировании материалов.
. Теплоизоляционные плиты должны плотно прилегать друг к другу. Если ширина швов между плитами превышает 5 мм, то их заполняют теплоизоляционным материалом.
<#"889164.files/image027.gif">
- стяжка; 2 - шов; 3 - грунтовка по
стяжке; 4 - полоса Филизола В; 5 - герметик; 6 - точечная приклейка полосы (с
одной стороны шва); 7 - Филизол Н; 8 - Филизол В

- головка горелки; 2 - вентиль подачи воздуха; 3 - вентиль подачи горючего; 4 - державка; 5 - штуцер воздуха М 16×1,5; 6 - штуцер горючего М 16×1,51 Н
Наклейка рулона с использованием
дифференциального катка ИР-830 с использованием захвата-раскатчика и катка
ИР-735
Наклейка рулона без применения катка
<#"889164.files/image033.gif">
Раскладка и раскрой полотнищ наплавляемого рулонного материала при устройстве кровельного ковра на поверхности внешнего угла
А, Б, - для основного кровельного ковра; В, Г - для дополнительного кровельного ковра
- стена вентшахты; 2 - нижний слой
основного кровельного ковра; 3 - верхний слой (с крупнозернистой посыпкой)
основного ковра; 4 - наклонный бортик; 5 - основной кровельный ковер; 6 -
нижний слой дополнительного ковра; 7 - верхний слой (с крупнозернистой
посыпкой) дополнительного ковра
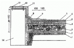
- сборная железобетонная плита покрытия; 2 - пароизоляция; 3 - теплоизоляция; 4 - выравнивающая стяжка; 5 - основной кровельный ковер; б - крупнозернистая посыпка; 7 - рамка из уголка; 8 - зонт; 9 - хомут; 10 - труба; 11 - патрубок с фланцем; 12 - герметизирующая мастика
<#"889164.files/image036.gif"> <#"889164.files/image037.gif">
3.3.5 Производство работ в зимнее время при устройстве рулонных кровель.
Максимально возможное удаление влаги из конструкций кровли.
Утеплитель должен соответствовать по влажности установленным требованиям. Уложенный утеплитель необходимо сразу укрывать от возможных осадков. При устройстве цементно-песчаной стяжки (впрочем, как и летом) на утеплитель уложить защитную пленку. Стяжку, по-возможности, просушить.
При ремонтных работах требуется просушить и выровнять поверхность существующей кровли (если утеплитель не меняется). В данном случае (ремонт кровли, наличие протечек) влага имеется и в утеплителе. Наиболее эффективно вести просушку старой кровли электрическим оборудованием. Отсутствие открытого огня позволяет не разрушать поверхность существующей кровли и дает возможность прогревать сразу несколько слоев водоизоляционного ковра. Это оборудование позволяет вести просушку основания сразу после расчистки снега и непосредственно перед укладкой новых полотнищ кровельного материала.
Просушивание подковрового пространства в процессе эксплуатации кровли
Для удаления оставшейся влаги из-под коврового
пространства при производстве кровельных работ зимой рекомендуется устраивать
"дышащую" кровлю. Для этого полотнища нового водоизоляционного ковра
(при многослойном исполнении - нижний слой) следует частично крепить к
основанию. Оставшиеся непроклеенные полости необходимо соединить между собой и
обеспечить свободное их соединение с атмосферой. Рекомендуется в этих целях
использовать кровельные вентиляционные патрубки с дефлекторами.
.3.6 Указания по технике безопасности
. К обслуживанию и эксплуатации средств механизации при производстве кровельных работ допускаются лица, хорошо изучившие правила эксплуатации, специфические требования по технике безопасности и имеющие удостоверение о допуске к работе.
. Для транспортирования баллонов с сжиженным газом пропан-бутаном в зоне стройплощадки или в пределах крыши допускается использование специальных тележек, рассчитанных на 2 баллона. Баллоны на тележках должны надежно крепиться хомутом.
Категорически запрещается подавать на крышу наполненные газом баллоны колпаком вниз.
Кантовка наполненных баллонов допускается в пределах рабочего места и только по основанию крыши, не дающему искры при ударе по нему металлом.
. Посторонним лицам запрещается находиться в рабочей зоне во время производства работ по наклейке Филизола.
Во всем остальном следует руководствоваться требованиями ТКП 45 - 1.03 - 40 -2006 «Безопасность труда в строительстве».
. Перед началом работы кровельщик должен надеть спецодежду и убедиться в ее исправности. Обувь должна быть не скользящей. Предохранительные приспособления (пояс, веревка, ходовые мостики, переносные стремянки и т.п.) должны быть своевременно испытаны и иметь бирки.
. Необходимо получить у мастера, руководителя работ инструктаж о безопасных методах, приемах и последовательности выполнения предстоящей работы.
. Перед началом работы кровельщику необходимо подготовить рабочее место, убрать ненужные материалы, очистить все проходы от мусора и грязи.
. Убедиться в надежности подмостей и лесов, а на плоской кровле, временного ограждения. Проверить ограждено ли место работы внизу здания, укрепить все материалы на крыше.
. Внешним осмотром проверить исправность баллонов, горелок, рукавов, надежность их крепления (крепить рукава только металлическими хомутами), исправность редукторов, манометров.
. При работе с газовыми баллонами (рабочий газ - пропан) необходимо руководствоваться «Временной инструкцией по безопасной эксплуатации постов, хранению и транспортировке баллонов сжиженных газов пропан-бутановой смеси при гидроизоляционных работах».
. При работе на скатах с уклоном более 20° и при отделке карнизов кровли с любым уклоном кровельщик обязан пользоваться предохранительным поясом и веревкой, прочно привязанной к устойчивым конструкциям здания. Места закрепления должен указать мастер или прораб.
. Сбрасывать с кровли материал и инструмент запрещается, во избежание падения с кровли на проходящих людей каких-либо предметов устанавливаются предохранительные козырьки над проходами, наружными дверьми. Зона возможного падения предметов ограждается, вывешивается плакат «Проход запрещен».
. При складировании на кровле штучных материалов, инструмента и принять меры против их скольжения по скату или сдувания ветром.