Материал: m013800e

Внимание! Если размещение файла нарушает Ваши авторские права, то обязательно сообщите нам

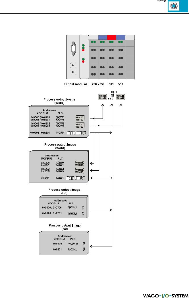
The following example for the process output image comprises of 2 digital and 4 analog outputs. It comprises of 4 words for the analog and one word for the digital outputs.

Fig. 5.12: Example for process output image, controller

MODBUS / Configuration

51

15.12.99

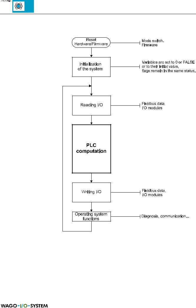
5.2.6 Controller operating system

Fig. 5.13: Operating system, controller

52

MODBUS / Configuration

15.12.99

5.3 Common coupler/controller functions

5.3.1 Implemented MODBUS functions

The following table shows the functions which support both the MODBUS coupler as well as the MODBUS controller:

Function

Function

Description

 

code

 

 

 

 

 

 

 

0x01

Read Coil Status

Read input bits and output bits as an octet string.

Functions are

 

 

 

0x02

Read Input Status

Read input bit as an octet string.

identical

 

 

 

 

 

0x03

Read Holding Registers

Read number of input words.

Functions are

 

 

 

0x04

Read Input Registers

Read number of input words.

identical

 

 

 

 

 

0x05

Force Single Coil

Write output bit.

 

 

 

 

 

0x06

Preset Single Register

Writes a value in an output word.

 

 

 

 

 

0x0B

Fetch Comm Event Ctr

Read status word and event counter.

 

 

 

 

 

0x0F

Force Multiple Coils

Writes a number of output bits.

 

 

 

 

 

0x10

Preset Multiple Regs

Writes a number of output words.

 

 

 

 

 

Table 5.29: Implemented functions

MODBUS / Configuration

53

15.12.99

5.3.1.1 Use of the MODBUS functions

The graphical review shows the MODBUS functions which have access to process illustration data.

Fig. 5.14: Review of MODBUS functions, e.g. with coupler

It is to be recommended to access the analog signals with register functions and binary signals with coil functions . If access is also required to reading and writing binary signals with register functions , the addresses are displayed as soon as a further analog modules are fitted.

54

MODBUS / Configuration

15.12.99

5.3.1.2 Read Coil Status (function code 0x01):

This function reads the status of the input and output bits (coils) in slave, whereby broadcast is not supported. With coupler/controller the number of I/O points is limited to 256.

Inquiry:

яюэьыъщэш The Inquiry determines the starting address and the number of bits to be read.

The first point is addressed with 0. With Modicon the addressing starts with 1 (0x01).

The following table shows an example for an inquiry, with which the bits 0 to 7 of the slaves 11 are to be read:

Field name

Example

RTU

ASCII

 

Start of frame

-

t1-t2-t3

”:”

0x3a

Slave address

0x0B

0x0B

”0B”

0x30, 0x42

Function code

0x01

0x01

”01”

0x30, 0x31

Starting address high

0x00

0x00

”00”

0x30, 0x30

Starting address low

0x00

0x00

”00”

0x30, 0x30

Number of points high

0x00

0x00

”00”

0x30, 0x30

Number of points low

0x08

0x08

”08”

0x30, 0x38

Error Check (LRC / CRC)

-

0x3D

”EC”

0x45, 0x43

 

 

0x66

 

 

End of frame

 

t1-t2-t3

-

0xD, 0xA

Table 5.30: Inquiry example, Read Coil Status

 

 

 

Reply:

The current values of the interrogated bits are packed in the data field. A 1 corresponds to the ON status and a 0 to the OFF status. The lowest value bit of the first data byte contains the first bit of the inquiry. The others follow in an ascending order. If the number of inputs are not a multiple of 8, the remaining bits of the last data byte are filled with zeroes. If the number of bits interrogated exceed the number of inputs or outputs present in the node, the remaining input bits are set to zero and the outputs contain the last valid value.

Field name

Example

RTU

ASCII

 

Start of frame

-

t1-t2-t3

”:”

0x3A

Slave address

0x0B

0x0B

”0B”

0x30, 0x42

Function code

0x01

0x01

”01”

0x30, 0x31

Byte Count

0x01

0x01

”01”

0x30, 0x31

Data (point 8...0)

0x12

0x12

”12”

0x31, 0x32

Error Check (LRC / CRC)

-

0xD2

”E1”

0x45, 0x31

 

 

0x5D

 

 

End of frame

-

t1-t2-t3

-

0xD, 0xA

Table 5.31: Reply example, Read Coil Status

MODBUS / Configuration

55

15.12.99