Материал: Лескин С.Т., Шелегов А.С., Слободчук В.И. Физические особенности и конструкция реактора ВВЭР-1000

Внимание! Если размещение файла нарушает Ваши авторские права, то обязательно сообщите нам

На верхней плите имеются отверстия для транспортировки и технологических операций с БЗТ. Для обеспечения циркуляции теплоносителя под крышкой верхнего блока в средней и верхней плитах предусмотрена перфорация, а во фланце опорной обечайки – щели. На внутренней поверхности опорной обечайки размещаются необлучаемые температурные образцы-свидетели корпусной стали.

Блок защитных труб ставится нижней плитой на подпружиненные головки кассет, тем самым поджимая их и препятствуя возникновению их вибрации, и в свою очередь сам через закрепленные в трех местах опорного фланца планки поджимается сверху фланцем крышки при затяжке главного разъема. Перфорированная обечайка БЗТ предназначена для выравнивания скоростей потоков теплоносителя, выходящего в кольцевую камеру верхних выходных патрубков реактора. Обечайка состоит из нижней цилиндрической части диаметром 3480 мм, средней части в виде усеченного конуса и верхней цилиндрической части диаметром 2930 мм. Толщина обечайки 50 мм.

Верхняя обечайка БЗТ предназначена для размещения и закрепления на ней верхней плиты, для передачи прижимающего усилия от крышки реактора к БЗТ и фиксации в плане верхней части БЗТ. Верхняя обечайка цилиндрической формы диаметром 3360 мм и имеет переменную толщину: у основания 75 мм, в верхней части 45 мм. Верхняя обечайка устанавливается и закрепляется на средней плите. Обечайка имеет в средней части наружной поверхности бурт с закрепленными на нем регулировочными пластинами. Бурт обечайки воспринимает и передает прижимающее усилие от крышки при установленном на корпус реактора ВБ. На внутренней поверхности обечайки установлены и закреплены в пеналах контейнеры со сборками “тепловых” образцов-свидетелей корпусной стали. На внешней поверхности верхней обечайки БЗТ закреплены 3 шпонки. При установке БЗТ в реактор эти шпонки входят в шпоночные пазы, выполненные в верхней обечайке шахты, и фиксируют верхнюю часть БЗТ в плане относительно шахты.

61

2.4.5. Верхний блок с крышкой

ВКУ реактора выполнены выемными для обеспечения возможности осуществления перегрузки и контроля внутренней поверхности корпуса реактора.

На фланец корпуса реактора устанавливается верхний блок (ВБ), который внутренними поверхностями фланца крышки прижимает:

фланец шахты к корпусу реактора через упругие трубчатые элементы;

БЗТ к подпружиненным головкам ТВС через пластины, закрепленные на бурте верхней обечайке БЗТ.

Всобранном реакторе между буртом верхней обечайки БЗТ и фланцем шахты обеспечен зазор 0,5 мм. Уплотнение фланцев корпуса и крышки реактора (главного разъема реактора) обеспечивается комплектом деталей главного уплотнения реактора. На крышке реактора устанавливаются металлоконструкция и траверса, образующие совместно с крышкой

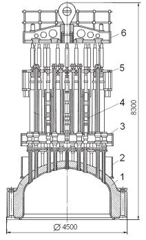
Рис. 2.14. Верхний блок с крышкой:

1 – траверса; 2 – дистанционирующая решетка; 3 – привод ШЭМ; 4 – каркас; 5 – обечайка; 6 – крышка

верхний блок реактора

(рис. 2.14).

На верхний блок устанавливается блок электроразводок (БЭР). На БЭР закрепляется кабельная разводка от электрооборудования приводов СУЗ, от датчиков каналов температурного контроля и каналов нейтронного измерения системы ВРК и сигнализатора течи патрубков крышки ВБ. Шлейфы подсое-

62

диняются с одной стороны к штепсельным разъемам на оборудовании ВБ, а с другой стороны – к штепсельным разъемам на панели бетонной шахты реактора.

Корпус и крышка реактора окружены теплоизоляцией с обеспечением доступа для осмотра и контроля состояния металла.

Верхний блок предназначен для:

1)уплотнения главного разъема реактора;

2)размещения и закрепления приводов СУЗ, каналов нейтронного измерения, каналов температурного контроля, воздушника реактора;

3)уплотнения разъемов и выводов приводов СУЗ, КНИ, ТК и воздушника реактора;

4)создания проектного прижимного усилия на шахту, БЗТ. Верхний блок состоит из следующих основных узлов:

1)крышки;

2)металлоконструкции;

3)траверсы;

4)приводов СУЗ.

Верхний блок представляет собой конструкцию, состоящую из крышки с патрубками, из металлоконструкций с траверсой и установленных приводов системы управления и защиты реактора, выводов разъемов КНИ и ТК.

Материал верхнего блока: крышка – 15Х2МФА, металлоконструкция – ВСт3, чехол, привода, механическая часть – 08Х18Н10Т. Масса верхнего блока – около116 т.

Крышка реактора является одним из основных узлов верхнего блока и предназначена для уплотнения реактора, размещения приводов ШЭМ, размещения выводов коммуникаций системы внутриреакторного контроля (ВРК) и их уплотнения, удержания от всплытия кассет, БЗТ и шахты реактора. Крышка реактора имеет тарельчатую форму и представляет собой штампосварную конструкцию, состоящую из “усеченного” эллипсоида и фланца.

На крышке размещаются:

1)патрубки СУЗ, ТК, КНИ и воздушника реактора;

2)чехловые трубы приводов СУЗ;

3)металлоконструкция верхнего блока;

4)трубопровод воздушника реактора.

63

В эллиптической части крышки выполнено 92 отверстия, в которых установлены и обварены 61 патрубок СУЗ, 16 патрубков КНИ, 14 патрубков ТК и 1 патрубок воздушника реактора. На наружной поверхности крышки приварено также 6 бобышек с резьбовыми гнездами для крепления штанг металлоконструкции верхнего блока. Фланец крышки выполнен цельнокованым. Во фланце выполнено 54 отверстия диаметром 180 мм под шпильки главного уплотнения реактора и резьбовые гнезда для закрепления системы центровки верхнего блока и секторов промежуточного кольца.

Патрубки СУЗ, ТК, КНИ и воздушника реактора приварены к крышке прочноплотными швами через переходную наплавку, выполненную в теле крышки в нижней части отверстий. Внутренняя поверхность каждого патрубка изолирована от контакта с теплоносителем приваренными рубашками из нержавеющей стали.

Крышка изготовлена из углеродистой низколегированной высококачественной стали марки 15Х2НФМА. Нижняя торцевая и внутренняя поверхности крышки покрыты антикоррозионной наплавкой из нержавеющей стали толщиной 8 мм.

На торцевой поверхности фланца предусмотрена контактная поверхность для прутковых прокладок уплотнения главного разъема. Все патрубки СУЗ, КНИ, ТК имеют одинаковые присоединительные размеры фланцевых разъемов с канавками для установки двух прокладок: никелевой для собственно уплотнения разъема и асбестовой для образования полости сбора протечек. Во всех фланцах указанных патрубков (91 патрубок) сделаны отверстия с трубочками, которые группируются и заводятся в 6 датчиков контроля плотности разъемов патрубков.

Металлоконструкция ВБ предназначена для создания единой жесткой конструкции, обеспечивающей транспортировку ВБ и закрепление:

1)чехлов приводов СУЗ;

2)трубопровода воздушника реактора;

3)коллекторов и направляющих каналов охлаждения электромагнитов приводов СУЗ;

4)трубопроводов и сигнализаторов течи системы контроля протечек патрубков СУЗ, ТК и КНИ;

5)траверсы ВБ.

64

Металлоконструкция ВБ реактора состоит из каркаса и 6 штанг. Каркас металлоконструкции состоит из:

1)направляющих труб;

2)воздушного коллектора;

3)плиты верхней;

4)решетки дистанционирующей;

5)шестигранных труб.

Штанги выполнены в виде стержней круглого сечения, которые вворачиваются на резьбе в бобышки, приваренные к наружной поверхности крышки. Штанги обеспечивают создание жесткой конструкции ВБ и его транспортировку. Направляющие трубы устанавливаются на штанги и обеспечивают закрепление на них всех элементов металлоконструкции.

Воздушный коллектор состоит из двух плит и обечайки и обеспечивает отвод воздуха, охлаждающего электромагниты приводов СУЗ. Шестигранные трубы размещаются между верхней плитой коллектора и верхней плитой каркаса. Шестигранные трубы образуют тракт движения охлаждающего воздуха вдоль защитных чехлов приводов СУЗ. Верхняя плита каркаса и верхняя плита коллектора прижимают и дистанционируют шестигранные трубы с помощью штифтов, установленных на плитах в углах шестигранников труб. Решетка дистанционирующая обеспечивает с помощью ограничивающих стаканов центровку приводов СУЗ ограничителем перемещений приводов в горизонтальном направлении при сейсмических воздействиях.

На промежуточную плиту установлены вертикально 61 тонкостенная шестигранная нержавеющая труба, служащая для организации воздушного охлаждения блоков электромагнитов приводов ШЭМ и шесть коробок системы контроля плотности разъемов патрубков.

Каркас устанавливается на шесть штанг, предварительно ввернутых до упора в резьбовые гнезда бобышек крышки реактора, и закрепляется втулками и гайками. На вертикальные трубы каркаса устанавливается дистанционирующая решетка. Дистанционирующая решетка служит для центровки приводов ШЭМ и размещения датчиков указателя положения при монтаже и демонтаже верхнего блока, установленного на корпус реактора.

65