Материал: Лескин С.Т., Шелегов А.С., Слободчук В.И. Физические особенности и конструкция реактора ВВЭР-1000

Внимание! Если размещение файла нарушает Ваши авторские права, то обязательно сообщите нам

выполнена конусная проточка под посадку шаровой поверхности хвостовика ТВС. Опоры ТВС изготовлены из нержавеющей стали марки 08Х18Н10Т.

Дистанционирующая решетка предназначена: для размещения, дистанционирования и закрепления головок опор ТВС; размещения и закрепления на ней выгородки. Дистанционирующая решетка представляет собой круглую плиту толщиной 100 мм, перфорированную 163 отверстиями диаметром 225 для размещения и закрепления головок опор ТВС.

Рис. 2.11. Низ внутрикорпусной шахты:

1 – отверстие; 2 – щель (3 мм); 3 – опорная труба; 4 – винт; 5 – паз; 6 – хвостовик опорной трубы; 7 – гайка; 8 – шайба; 9 – заглушка; 10 – упор

51

ёДистанционирующая решетка закрепляется в нижней части шахты с помощью 12-ти штифтов диаметром 60 мм с последующей их обваркой с наружной стороны шахты. Решетка изготовлена из нержавеющей стали марки 08Х18Н10Т. В решетке шахты реактора В-320 имеются следующие вертикальные отверстия: шесть отверстий с резьбой М85х6, три отверстия с переходным диаметром 86×50 мм, 27 отверстий с переходным диаметром 11,5×30 мм, 54 отверстия с переходным диаметром 8×30 мм.

Отверстия предназначены для ориентации при установке выгородки, ее закрепления, организации охлаждения элементов выгородки, размещения образцов-свидетелей корпусной стали («лучевых» сборок) и обеспечения железоводного соотношения по высоте выгородки.

Нижняя часть шахты состоит из перфорированного эллиптического днища и закрепленных в нем упорных стаканов, верхние части которых образуют упорную плиту для установки и дистанционирования кассет активной зоны. Упорные стаканы установлены с шагом 236 мм и выполнены в виде перфорированных труб, верхняя часть которых представляет собой шестигранные призмы с центральными отверстиями диаметром 195, в которые устанавливаются хвостовики кассет. На торце каждого стакана имеются пазы для ориентации кассеты с помощью фиксирующего штыря в плане. Перфорация труб выполнена в виде узких щелей (ширина щели 3, а длина 30 мм), что способствует задержанию из потока теплоносителя твердых частиц и защите твэлов от механических повреждений.

Хвостовики стаканов закреплены неподвижно в эллиптическом днище шахты, а шестигранные призмы – друг относительно друга с помощью отжимных винтов М36 и сварки. Основной поток теплоносителя в шахту поступает в имеющиеся отверстия в днище и распределяется по ТВС через перфорированную часть опорных труб. Профиль опускной щели между днищем шахты и внутренней поверхностью корпуса, а также степень перфорации шахты выбраны таким образом, чтобы пульсации и неравномерности скоростей потока теплоносителя перед входом в активную зону были минимальными.

В эллиптическом днище и верхней части шахты выполнена перфорация для прохода теплоносителя. Против верхних патрубков

52

САОЗ корпуса в шахте выполнены два отверстия Ду 300, через которые вода, подаваемая в реактор при аварии, проходит в межмежтрубное пространство БЗТ.

Своим верхним фланцем шахта устанавливается на внутреннюю проточку в горловине корпуса и центрируется кольцом – разделителем потока, сверху удерживается от перемещений в плане шпонками, приваренными к фланцу корпуса. Нижняя часть шахты удерживается от вибрации шпонками, приваренными к виброгасителям корпуса и входящими в вертикальные пазы шахты.

На горизонтальной поверхности фланца шахты размещены три торовых сектора, изготовленные из нержавеющих труб 63×5 мм, наружная и внутренняя поверхности которых электрохимполированы или светлотравлены, и закрепленные тремя шпильками М 20 каждый. Закрепление шахты в верхней части обеспечено посредством упругих элементов из труб 63×5, и шпонок, закрепленных на фланце корпуса. При затяжке главного уплотнения реактора эти трубы упруго деформируются, создавая распорное усилие между крышкой и шахтой. Во фланце выполнено 24 гнезда с резьбой М48, предназначенных для закрепления устройства для ее подрыва и транспортировки в вертикальном положении.

Снаружи на фланце шахты имеются 12 пазов шириной 100 мм для ориентации ее по углу в плане. Шпонки, входящие в эти пазы, привариваются к внутренней поверхности фланца корпуса. На внутренней поверхности фланца шахты имеются три направляющих паза длиной 410 мм для ориентации установки блока защитных труб и устройства для транспортировки шахты. В верхней части шахты выполнены отверстия для прохода теплоносителя в выходные патрубки Ду 850 корпуса реактора. Напротив верхних тепловых рубашек патрубков САОЗ в шахте два отверстия диаметром 300 мм, через которые борный раствор подается на активную зону реактора при срабатывании запорной арматуры на трубопроводах САОЗ.

На наружной части обечайки с днищем выполнены восемь продольных пазов шириной 100 мм, оканчивающихся сквозными окнами. Окна предназначены для установки шпонок по месту на скобы-кронштейны, приваренные при изготовлении корпуса к внутренней наплавке корпуса реактора. Такая конструкция шахты

53

обеспечивает тепловое перемещение ее вниз и закрепление от вибрации. Закрепление шахты в средней части обеспечено посредством прижатия (защемления) ее по периметру к разделительному кольцу корпуса при разогреве шахты. Нижняя часть шахты фиксируется в плане шпонками, закрепленными на кронштейнах, приваренных к цилиндрической части корпуса.

От перемещений вверх (всплытие и вибрация) при работе насосов шахту удерживают упругие элементы из труб 63×5. От вибрации в поперечном направлении шахта удерживается в трех сечениях. От падения вниз шахта удерживается фланцем и упорами на днище. Закрепление верхней части шахты в корпусе допускает температурные осевые и радиальные перемещения ее относительно корпуса.

2.4.3.Выгородка

Вшахте размещена выгородка (рис. 2.12), внутренняя поверхность которой повторяет конфигурацию периферийного ряда ТВС

иобеспечивает сохранение геометрических размеров активной зоны. В специальных гнездах, в верхней части вертикальных каналов выгородки, установлены контейнеры со сборками образцовсвидетелей корпусной стали.

Полная загрузка топлива в реактор состоит из 163 ТВС, из кото-

рых 61 имеет органы СУЗ, а 54 ТВС пучки СВП. Для компенсации температурных расширений ВКУ и ТВС головки ТВС выполнены подпружиненными.

Назначение выгородки:

1)обеспечение геометрической конфигурации периферии активной зоны, образованной ТВС периферических рядов;

2)уменьшение всплеска нейтронного потока на границе активной зоны у граничных ТВЭЛов ТВС периферийных рядов;

3)уменьшение интенсивности нейтронного потока на корпус реактора;

4)обеспечение циркуляции теплоносителя по проектному трак-

ту;

5)размещение сборок «лучевых» образцов-свидетелей корпусной стали.

54

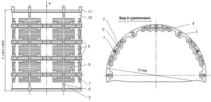
Рис. 2.12. Выгородка:

1 – штырь; 2 – канал для охлаждения выгородки; 3 – канал резъбовой тяги; 4 – канал с лучевым образцом-свидетелем; 5 – кольцо нижнее; 6 – вертикальный паз-канал; 7 – штифт; 8 – кольцевая проточка; 9 – кольцо среднее; 10 – кольцо верхнее; 11 – шпонка

Выгородка редактора В-320, показанная на рисунке, представляет собой обечайку диаметром 3485 мм, высотой 4070 мм, состоящую из четырех кованных колец, скрепленных между собой с помощью шпилек и фиксируемых в плане друг относительно друга штифтами. Материал выгородки – сталь 08Х18Н10Т, масса 35 т. Количество металла в выгородке принято максимальным для эффективного снижения потока нейтронов, падающих на корпус реактора. Внутренняя конфигурация колец повторяет профиль, образованный гранями кассет активной зоны. Для охлаждения на кольцах имеются продольные каналы. При установке выгородки на граненый пояс шахты, каналы в выгородке совпадают с отверстиями в граненом поясе шахты.

В шести сквозных отверстиях выгородки установлены трубы с резьбой в нижней части, предназначенные для жесткого закрепления выгородки в шахте (путем вворачивания их в граненый пояс шахты) от всплытия и одновременно используемые под установку датчиков системы контроля перегрузки (СКП). Кроме того, выгородка предварительно устанавливается на три фиксатора, закрепленные в граненом поясе шахты. Верхнее кольцо выгородки центрируется относительно цилиндрической части шахты шпонка-

55