Материал: Лекция 33 Пуск и торможение ДПТ, специальные МПТ

Внимание! Если размещение файла нарушает Ваши авторские права, то обязательно сообщите нам

секций – это медная фольга, с трех сторон окруженная воздухом (четвертой стороной фольга прилегает к диску).

Все первые половины секций (на рис. 6.1, б они вычерчены сплошными линиями) располагаются на одной стороне диска. Все вторые половины секций (на рис. 6.1, б показаны штриховыми линиями) располагаются на другой стороне диска. Полусекции, расположенные на разных сторонах диска, соединяются между собой за счет отверстий, имеющихся в диске. Изоляцией между отдельными проводниками обмотки якоря служатвоздух дух и материал диска.

Дисковый якорь вращается между полюсами, создающими поток, направленный в воздушном зазоре аксиально (рис. 6.2). К печатной обмотке якоря (она так называется потому, что часто выполняется фотохимическим путем – аналогично тому, как печатаются фотокарточки) посредством щеток, скользящим непосредственно по плоскости проводников обмотки якоря, подводится напряжение. В результате взаимодействия тока обмотки якоря с магнитным полем полюсов создается вращающий момент так же, как и в обычном двигателе постоянного тока.

Одним из недостатков двигателей с дисковым якорем приведенной конструкции является сравнительно малый срок службы диска вследствие износа имеющей небольшую толщину плоской печатной обмотки, по которой скользят щетки. Этот недостаток устраняется либо путем снабжения двигателя запасными дисками, которые со временем легко меняются, либо путем изготовления дискового якоря с коллектором. Во втором случае концы секций обмотки якоря, расположенной на диске, выводятся к коллектору небольшого диаметра, расположенному рядом с диском на одном с ним валу. Долговечность двигателя с таким якорем значительно увеличивается.

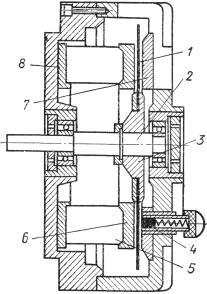
Рис. 6.2. Двигатель постоянного тока с дисковым якорем, имеющим печатную обмотку: 1– дисковый якорь, 2– вал, 3 – втулка; 4 – щеткодержатель; 5 – постоянные магниты; 6 – полюсные наконечники; 7, 8 – кольцевые магнитопроводы (ярма)

Недостатком двигателей с дисковыми якорями является то, что при увеличении диаметра диска, что необходимо, когда требуется увеличение номинальной мощности двигателя, возрастает его момент инерции, а также ухудшается надежность работы вследствие возможного коробления диска при нагреве.

Для устранения этого недостатка при необходимости увеличения номинальной мощности переходят к многодисковым двигателям, которые можно рассматривать как несколько одинаковых машин, имеющих общий вал, т.е. идут на увеличение не диаметра, а длины машины. Другим способом устранения вышеуказанного недостатка двигателей является переход к машинам с полым цилиндрическим якорем, имеющим печатную обмотку.

Цилиндрический якорь с печатной обмоткой (рис. 6.3.)

изготовляется в виде полого цилиндра из изоляционного материала, на обе стороны которого (наружную и внутреннюю) наносятся соединяющиеся между собой части печатной обмотки. Концы секций обмотки выводятся к коллектору, расположенному на валу двигателя. Наружный статор двигателя с дисковым якорем ничем не отличается от статора обычной машины постоянного тока.

Рис. 6.3. Цилиндрический якорь с печатной обмоткой (в сборе): 1 – цилиндр из изоляционного материала с печатной обмоткой; 2 – коллектор; 3 – сердечник внутреннего статора; 4 – вал; 5 – вентилятор

Для уменьшения сопротивления на пути основного магнитного потока внутри полого цилиндрического якоря располагают сердечник внутреннего статора, который укрепляется либо на цилиндрическом выступе одного из подшипниковых щитов, либо с помощью подшипников на валу двигателя (см. рис. 6.3).

Положительными качествами полого цилиндрического якоря с печатной обмоткой (по сравнению с дисковым) являются меньший момент инерции и большая механическая прочность.

Обычно двигатели с дисковым якорем рассчитывают на небольшие мощности – десятки, сотни ватт, двигатели же с цилиндрическим якорем – на мощности от сотен ватт до 10 кВт.

К положительным качествам исполнительных двигателей с дисковым и с цилиндрическим якорями, имеющими печатные обмотки, следует отнести:

-большую технологичность якоря, позволяющую до минимума сократить ручной труд, который составляет значительный процент от общей трудоемкости при изготовлении двигателей с обычными якорями;

-малый момент инерции якоря;

-отсутствие потерь в стали двигателя, так как вращающийся якорь не имеет ферромагнитных частей;

-хорошую безыскровую коммутацию вследствие малой самоиндукции и взаимоиндукции коммутируемых секций, окруженных воздухом;

-отсутствие сил магнитного тяжения, действующих на якорь даже при неравномерном воздушном зазоре, что разгружает подшипники и сильно уменьшает механические потери;

-хорошее охлаждение проводников обмотки якоря при вращении, что позволяет значительно повысить плотность тока в обмотке якоря;

-высокий к. п. д. при возбуждении постоянными магнитами, что объясняется отсутствием потерь в стали и весьма незначительной величиной механических потерь. В двигателе практически имеются лишь потери в обмотке якоря;

-отсутствие необходимости в межвитковой и пазовой изоляци-

ях.

К недостаткам малоинерционных двигателей с печатными обмотками следует отнести:

-большой немагнитный промежуток на пути магнитного потока, который складывается из двух воздушных зазоров и толщины якоря, который не содержит ферромагнитных материалов;

-недостаточную механическую прочность якорей, что приводит

ких короблению при больших температурах;

-ограниченное из-за технологических трудностей число витков обмотки якоря. Последнее вынуждает всегда применять последовательную – волновую обмотку и рассчитывать двигатели либо на работу от сетей с небольшим напряжением, либо на работу при больших скоростях вращения.

Вследствие большого немагнитного промежутка на пути потока малоинерционные двигатели, как правило, возбуждаются постоянными магнитами. Большой немагнитный промежуток в этом случае, хотя и ведет к необходимости увеличения объема магнитов, но не приводит к увеличению потерь в двигателе. В случае применения электромагнитного возбуждения потери в обмотке возбуждения значительно снижают к. п. д. двигателя и приводят к необходимости значительного увеличения его габаритов.

Были рассчитаны серии двигателей с печатной обмоткой как с дисковым, так и с цилиндрическим якорями. В настоящее время они осваиваются промышленностью. Большой вклад в разработку теории и создание серий двигателей с печатными якорями вложили советские ученые и инженеры Н. В. Астахов, В. М, Казанский, О. Н. Сидоров и др.

Малоинерционные двигатели с обычной обмоткой якоря. Эти двигатели отличаются от малоинерционных двигателей с печатной обмоткой якоря лишь конструкцией обмотки. Они также выпускаются как с цилиндрическим, так и с дисковым якорями.

Рис. 6.4. Полый цилиндрический якорь с обычной обмоткой

Обмотка якорей этих двигателей выполняется из обычного тонкого провода с эмалевой изоляцией, который в процессе изготовления якоря укладывается в виде секций на цилиндрический или плоский (дисковый) каркас, пропитывается термореактивным компаундом на основе эпоксидной смолы, а затем, после формовки и полимеризации компаунда, превращается в монолитный цилиндр (рис. 6.4) или диск, имеющий необходимую прочность. Концы секций обмотки якоря выводятся к пластинам коллектора.

В отличие от якорей с печатными обмотками здесь число проводников обмотки якоря может быть значительно большим, что позволяет рассчитывать двигатели на более высокие напряжения и более низкие скорости вращения.

Возбуждаются эти двигатели, как правило, постоянными магни-

тами.