Материал: Лекция 03 Физические процессы в трансформаторах

Внимание! Если размещение файла нарушает Ваши авторские права, то обязательно сообщите нам

ляющие I1z1 и I2z2 обычно называют падениями напряжения в пер-

вичной и вторичной обмотках трансформатора.

Уравнения (2.9) и (2.10) широко используются в теории трансформаторов.

Аналогично могут быть написаны уравнения (2.5) и (2.6)

U1 jωL1I1 jωMI2 I1r1,

(2.11)

0 jωL2I2 jωMI1 I2r2 U2.

При анализе работы силовых трансформаторов уравнениями (2.11) пользуются сравнительно редко, так как самоиндуктивности и взаимоиндуктивности таких трансформаторов являются величинами, изменяющимися в относительно широких пределах.

Приведенный трансформатор. Так как в общем случае w1 w2 , то E1 E2 и I2 I1. Соответсвенно разным ЭДС и токам

различны и параметры обмоток, т. е. их активные и индуктивные сопротивления. Это затрудняет количественный учет процессов, происходящих в трансформаторе, и построение векторных диаграмм, особенно при больших коэффициентах трансформации. Чтобы избежать этих затруднений, пользуются способом, прикотором обе обмоткитрансформатора приводятся кодномучислувитков.

Обычно приводят вторичную обмотку к первичной. Для этого пересчитывают вторичную обмотку, имеющую число витков w2 , на эквивалентную ей приведенную обмотку, имеющую такое же число витков w1 как и первичная обмотка, с условием, чтобы эта операция

приведения вторичной обмотки к первичной не отразилась на энергетическом процессе трансформатора и, следовательно, на режиме работы первичной обмотки.

Все величины, относящиеся к приведенной вторичной обмотке, называются приведенными и обозначаются теми же символами, что и действительные величины, но со штрихом сверху E2, I2, r2 и т.д.

А. Приведенная вторичная ЭДС E2 . Чтобы получить E2 нуж-

но изменить E2 в отношении числа витков первичной и вторичной обмоток w1 и w2 , т. е. пропорционально коэффициенту трансформа-

ции k w1 . w2

Следовательно,

E2 w1 E2 kE2 E1. w2

В таком же отношении изменяется и ЭДС рассеяния вторичной обмотки трансформатора E 2 .

Б. Приведенный вторичный ток I2. При приведении вторич-

ной обмотки к первичной ее полная мощность должна остаться без изменения, т. е. E2I2 E2I2 . Отсюда

I2 E2 1 I2,

E2 k

т. е. чтобы получить I2 , нужно изменить ток I2 обратно пропорционально коэффициенту трансформации.

В.Приведенноеактивноесопротивлениевторичнойобмотки r2.

Так как при приведении вторичной обмотки к первичной мощности не изменяются, то потери в меди в действительной и приведенной обмотках должны быть равны.

Следовательно,

I

2r

I2r .

2

2

2

2

Откуда

 

 

 

2

 

 

 

I2

 

 

r2

 

 

 

r2 k2r2,

 

I2

 

 

 

 

 

 

 

т. е. чтобы получить r2 , нужно изменить сопротивление r2 пропор-

ционально квадрату коэффициента трансформации. Физически это можно представить себе так, что при изменении, например увеличении, числа витков вторичной обмотки в k раз, длина обмотки увеличивается в k раз, а ее сечение, если предполагать плотность тока постоянной, уменьшается в k раз, вследствие чего активное сопротивление

обмотки увеличивается в k2 раз.

Г. Приведенное индуктивное сопротивление рассеяния вто-

ричной обмотки x2 . Это сопротивление получается из условия со-

хранения того же соотношения между активным и индуктивным сопротивлением, что и в реальной обмотке, а именно:

x2 x2 , r2 r2

откуда x

x

r2

k

2x .

r

2

2

 

2

 

 

2

 

 

Таким образом, чтобы получить x2 , нужно изменить x2 , так же как и r2 , пропорционально квадрату коэффициента трансформации.

Аналогичное соотношение получается и для приведенного полного сопротивления вторичной обмотки.

z2 k2z2.

Если zc – сопротивление сети, питаемой вторичной обмоткой трансформатора, то по аналогии с z2 имеем:

zc k2zc.

Уравнения МДС и ЭДС приведенного трансформатора. В

приведенном трансформаторе уравнение МДС приобретает вид:

I1w1 I w1 I0w1.

Сократив обе части этого равенства на w1 имеем

I

I

I .

(2.12.)

1

2

0

 

Уравнения ЭДС для приведённого трансформатора запишутся в

виде:

U

E

 

I

z ,

 

(2.13)

1

1

1

1

 

 

 

0 E

I z

U

.

(2.14)

 

2

 

2

2

 

2

 

Схема замещения трансформатора. Аналитическое и графиче-

ское исследование работы трансформатора упрощается, если действительный трансформатор, в котором обмотки связаны между собой электромагнитно, заместить схемой, элементы которой связаны между собою только электрически. В общем случае эта задача может иметь

ряд решений, т. е. мы можем иметь несколько различных схем замещения трансформатора, но каждая из них должна удовлетворять основным уравнениям ЭДС и МДС трансформатора.

Втеории трансформаторов пользуются только так называемой „Т-образной" схемой замещения.

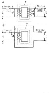
Всоответствии с уравнениями (2.12), (2.13) и (2.14) схема приведенного трансформатора имеет вид, показанный на рис. 2.2, a. Каждая обмотка такого эквивалентного трансформатора состоит из двух последовательно соединенных катушек, одна из которых – без рассеяния и без потерь в меди – наматывается на сердечник трансформатора, а другая представляет собою реактор без стального сердечника, имеющий активное и индуктивное сопротивление соответствующей обмотки.

 

 

 

 

Так как в приведенном трансфор-

 

 

 

 

маторе

w1 w2 , то обе

обмотки

 

 

 

 

трансформатора можно совместить

 

 

 

 

в одну (рис. 2.2, б), по которой те-

 

 

 

 

чет

намагничивающий

ток

 

 

 

 

I

I

I . В этом случае объеди-

 

 

 

 

0

1

2

 

 

 

 

 

ненная обмотка играет роль намаг-

 

 

 

 

ничивающего контура,

который

 

 

 

 

создает основной магнитный поток

 

 

 

 

, замыкающийся по сердечнику

 

 

 

 

трансформатора. Мощность, рас-

Рис.2.2.Схема приведённого

 

 

ходуемая в этой обмотке, опреде-

 

 

ляется потерями в стали сердечни-

трансформатора

 

 

 

ка

pc .

 

 

Зависимость между E

 

 

 

 

на зажимах намагничивающего контура

 

1

 

 

 

 

 

 

и током в контуре I0 может быть выражена в виде:

 

E

I

z

m

I

(r jx ),

 

1

0

 

0

m

m

 

где zm rm jxm – полное сопротивление намагничивающего контура;

rm p2c и xm ωM. I0

Если U2 – напряжение на зажимах сети, питаемой вторичной обмоткой трансформатора, и zc – полное сопротивление этой сети, то

U2 I2zc.

Тогда из уравнения (2.14) для вторичного контура трансформатора находим:

I2

 

E

 

 

E

 

2

 

 

1

.

z

z

z

z

2

c

2

c

Следовательно,

I

I

I

 

E

E

 

E

(z

m

z

z )

 

1

 

1

 

1

2

c

,

z2 zc

 

 

 

 

 

1

2

0

 

zm

 

 

(z2 zc)zm

 

Откуда

E1 I1 (z2 zc)zm . zm z2 zc

Подставив это значение E1 в уравнение (2.13) первичной обмотки, получаем:

 

 

(z

z )z

m

 

 

 

 

(z

z )z

m

 

 

2

 

 

c

 

 

 

 

 

2

c

 

 

U1

I1

zm

z2 zc

I1z1 I1

 

 

 

z2 zc

z1

 

 

 

 

 

 

zm

 

 

 

 

 

 

 

 

 

 

 

(z

z )z

m

 

 

 

 

 

Здесь

 

 

z

 

z

 

 

2

c

 

 

 

 

 

 

 

 

 

zm z2 zc

 

 

 

 

 

 

 

 

 

э

1

 

 

 

 

 

 

 

представляет собою эквивалентное сопротивление Т-образной схемы замещения трансформатора на рис. 2.3. Мы видим, что трансформатор можно представить себе как совокупность трех ветвей: первичной – с сопротивлением z1 и током I1, намагничивающей – с сопротивлением

zm и током I0 , и параллельно приключенной к намагничивающей ветви – вторичной ветви с сопротивлением z2 zc и током I2 . Рас-

пределение токов I1, I0 и I2 должно соответствовать уравнению МДС

I1 I2 I0 .