Материал: КУРСОВОЙ ПРОЕКТ Шупранов Д.А.1

Внимание! Если размещение файла нарушает Ваши авторские права, то обязательно сообщите нам

1 – корпус; 2 – крышка; 3 – прокладка; 4 – гайка; 5 – пружина; 6 – направляющая; 7 – клапан;8 – шпилька

Корпус клапана литой из алюминиевого сплава. В корпус заармировано седло клапана, к которому пружиной прижат клапан. Пружину 5 регулируют на соответствующее для данной системы давление гайкой 4. При повышении давления в напорном трубопроводе более указанного, клапан открывается и перепускает часть жидкости обратно во всасывающий трубопровод насоса. В этом случае насос работает «на себя». Так как насос в проектируемой АЦ имеет привод от двигателя автомобиля, установка перепускного клапана обязательна [6].

11.11,3 Обратный клапан

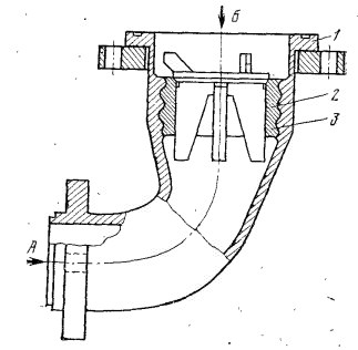
Клапан обратный (рисунок 7) служит для предотвращения вливания нефтепродукта из цистерны через напорный трубопровод после прекращения наполнения цистерны и установлен на выходе трубопроводов из цистерны. Клапан состоит из корпуса 1 и втулки3, на которую опирается клапан2. Под действием напора НП, создаваемого насосом по стрелке А, клапан открывается на величину, ограниченную упорами, и цистерна наполняется.

После окончания наполнения клапан герметично закрывается и предотвращает выливание НП из цистерны.

Комплектуется пылезащитной крышкой для защиты от механических повреждений или засорения присоединительной части клапана.

Технические характеристики шарового крана представлены в таблице 5 [6].

Рисунок 7 – Обратный клапан:

1 – корпус; 2 – клапан; 3 – втулка

Таблица 5 – Технические характеристики обратного клапана

Наименование показателя

Значение

Расход, л/мин

2000

Давление, МПа, не более

0,8

Температура окружающей среды, ºС

-40…+50

Условный проход, мм

100

11.11 Шаровый кран

Шаровые краны (рисунок 8) относятся к запорной арматуре и имеют небольшие габариты, малое гидравлическое сопротивление и высокие эксплуатационные качества. Благодаря этому шаровые краны получили широкое применение на различных трубопроводах, в том числе и на трубопроводах больших диаметров.

Краны предназначены для трубопроводов транспортирующих воду, нефть, природный газ.

Муфтовое соединение – муфтовые присоединительные патрубки с внутренней резьбой.

Выбираем шаровый кран КШм-100.

Шаровые краны могут устанавливаться на трубопроводе в любом рабочем положении. Технические характеристики шарового крана представлены в таблице 6 [9].

Рисунок 8 – Габаритные размеры шарового крана

Таблица 6 – Технические характеристики шарового крана

Наименование показателя

Значение

Условный проход крана, мм

50

Рабочее давление, кг/см2

16

Тип присоединения с трубопроводом

муфтовое

11.12 Вентиль

На трубопроводах слива отстоя и откачки НП из рукавов в АЦ используют прямоточные вентили (рисунок 9). Вентиль состоит из корпуса, золотника и шарнирно соединенного с ним шпинделя, который перемещается в крышке, установленной на уплотнительной прокладке. Герметичность шпинделя обеспечивается сальником, который поджимается втулкой сальника и накидной гайкой. При вращении маховика против часовой стрелки шпиндель поднимает золотник и создает проход для нефтепродукта [6].

Рисунок 9 – Вентиль:

1, 3 – гайки; 2 – маховик; 4 – шайба; 5 – втулка сальника; 6 – прокладка; 7 – корпус; 8 – фланец; 9 – золотник; 11,3 – шпиндель; 11 – крышка; 12 – кольцо; 13 – сальник с гайкой

11.13 Напорно-всасывающие рукава

Армированные полимерные рукава универсального назначения GASSOFLEX предназначены для перекачки углеводородных веществ, химических соединений, прочих жидкостей, обладающих повышенной химической активностью при температуре до +150°С.

Основные преимущества рукавов GASSOFLEX:

  • универсальность применения – благодаря своей устойчивой внутренней изоляции они могут применяться для перекачки углеводородов и химических веществ;

  • гибкость – две проволочные спирали, внутренняя и наружная обеспечивают повышенную прочность и минимальные радиусы изгиба с целью адаптации ко всем типам нагрузок и операций подачи: на наземных установках, судах, заводах и т.д.;

  • легкость и стойкость к воздействию давления – толщина стенок определяется заранее в соответствии с давлением, которое должен выдерживать шланг;

  • простота подбора шланга – три основных компонента (внутренние и внешние проволочные спирали и изоляция) могут выбираться в соответствии с пожеланиями заказчиков (нержавеющая сталь, оцинкованная сталь, полипропилен, политетрафторэтилен) [7].

11.14 Площадка и лестница

Для беспрепятственного доступа к горловине и удобству обслуживания персонала, на цистерну ставят специальные площадки и лестницы. Площадка изготавливается из рифленого листа. Лестницы и поручни изготавливают из стальных труб круглого сечения.

12 Работа гидравлической схемы

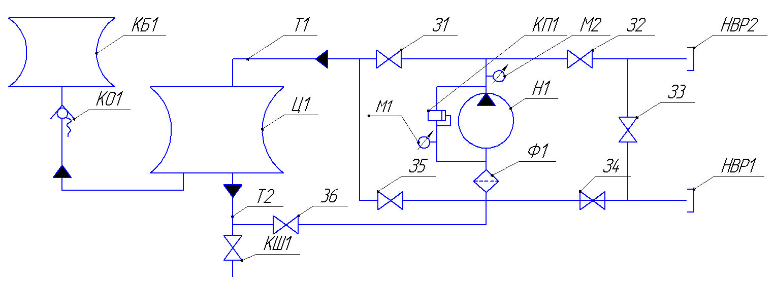
Автоцистерна может осуществлять несколько различных операций по перекачке наливу и выдачи нефтепродукта [4]. На рисунке 11,3 представлена гидравлическая схема автоцистерны.

Рисунок 11,3 – Гидравлическая схема АЦ:

Ц1- цистерна; З1-З6 – задвижки; КШ1 – шаровый кран; НВР1,НВР2 – напорно-всасывающие рукава; Т1 - трубопровод для наполнения; Т2 – трубопровод для опорожнения; Н1 – насос; КБ1 – компенсационный бачек; КО1 – обратный клапан регулируемый; КП – перепускной клапан; Ф1 –фильтр грубой очистки; М1, М2 – манометр

Гидравлическая система работает следующим образом.

При заполнении АЦ от двигателя автомобиля передают крутящий момент ротору насоса, который перемещает перекачиваемый НП из емкости, подсоединенной к напорно-всасывающему рукаву НВР1, по напорно-всасывающему трубопроводу Т1 в цистерну Ц1, проходя фильтр грубой очистки Ф1, при этом открыты задвижки З4 и З1.

Задвижки З4 и З5 используются для выполнения операций заполнения цистерны посторонним насосом, перекачки между посторонними резервуарами.

Шаровый кран КШ1 используется для опорожнения цистерны самотеком.

Так же опустошать цистерну можно с помощью насоса. В этом случае шаровый кран КШ1 закрыт, а задвижки З6 и З2 открыты.

Так же можно использовать АЦ для перекачки НП из одной емкости в другую, минуя при этом цистерну Ц1. Трубопровод емкости, из которой будет идти перекачка нефтепродукта, подсоединяется к напорно-всасывающему рукаву НВР1. Вторая емкость присоединяется к напорно-всасывающему рукаву НВР2. Данная операция проходит через задвижку З3.

Насос работает с одной и той же подачей, когда трубопровод не успевает пропускать подаваемый НП, давление в напорном трубопроводе Т2 повышается, перепускной клапан КП1 открывается.

Дополнительной емкостью при температурном расширении НП используем компенсационный бачек КБ1. При заполнении цистерны поплавок перемещается вверх, разобщая бачек с цистерной. При температурном расширении открывается обратный клапан КО1, и НП попадает в бачек. При сливе НП из цистерны, НП под собственным весом открывает обратный клапан КО1.

Заключение

В данном курсовом проекте спроектирована АЦ номинальной вместимостью 11,3 м3, которая удовлетворяет требованиям безопасной перевозки НП. Безопасность перевозки обеспечивается за счет того, что:

  • на базе КАМАЗ 43118-46 используется дизельный двигатель;

  • выхлопная труба вынесена вверх вне зоны цистерны и оборудована искрогасителем;

  • на цистерне установлен дыхательный клапан, который предотвращает разрушение цистерны под действием избыточного давления или вакуума;

  • цистерна соединена с компенсационным бочком в случае температурного расширения НП.

Данная АЦ выполняет следующие задачи:

  • заполнение цистерны собственным насосом;

  • заполнение цистерны посторонним насосом;

  • опорожнение цистерны собственным насосом;

  • опорожнение цистерны посторонним насосом;

  • опорожнение цистерны самотеком;

  • откачка топлива из напорных и раздаточных рукавов;

  • осуществление перекачки НП из одной емкости в другую, используя насос АЦ, но минуя при этом саму цистерну.

Так же шасси автомобиля-цистерны на базе КАМАЗ 43118-46 обладает повышенной проходимостью, потому что спроектированная АЦ способна перевозить светлые НП не только по дорогам с капитальным покрытиями, но и по дорогам общей сети. АЦ способна перевозить светлые НП со скоростью 80 км/ч.