Материал: КУРСОВОЙ ПРОЕКТ Шупранов Д.А.1

Внимание! Если размещение файла нарушает Ваши авторские права, то обязательно сообщите нам

11.2 Насосная установка

Насосная установка СВН-80А(рисунок 1)предназначен для перекачивания чистых, без механических включений, жидкостей: воды, бензина, керосина, дизельного топлива, спирта и других нейтральных жидкостей в диапазоне температур от -40°C до +50°C и плотностью не более 1000 кг/м3. Высота самовсасывания не менее 6,5 м.

Перед пуском в насос заливается перекачиваемая жидкость. При вращении колеса его лопатки приводят во вращательное движение протекающий поток жидкости, увеличивая его механическую энергию. Под действием центробежных сил жидкость отбрасывается к периферии рабочего колеса в канал переменного сечения. Образуется жидкостное кольцо. Часть жидкости через окно напорной секции выбрасывается в напорный патрубок, а часть жидкости через глухие каналы поступает в расточки всасывающей и напорной секции.

Вместо жидкости в межпластное пространство рабочего колеса поступает жидкостно-воздушная эмульсия, которая перемещается лопатками через окно в напорной секции в напорный патрубок.

Происходит откачка воздуха из всасывающей линии насоса. После заполнения всасывающей линии и насоса жидкость под действием центробежных сил поступает в канал переменного сечения, где, двигаясь по винтовой траектории и попадая в межлопаточное пространство, получает приращение механической энергии и поступает в зоне размыкателя через окно в напорный патрубок. Этот процесс продолжается непрерывно до остановки насоса.

Технические характеристики насоса представлены в таблице 1[6].

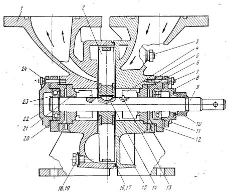
Рисунок 1 – Насос СВН-80А:

1 – напорная секция; 2 – колесо; 3 ,5 ,24 – шпильки; 4 – подвижная втулка;6, 21 – неподвижные втулки; 7 – корпус подшипника; 8 – крышка; 9 – вал; 11,3 – отбойник; 11 – подшипник 205; 12, 16, 17, 19 – прокладки; 13 – штифт; 14 – шпонка; 15 – всасывающая секция; 18 – пробка; 20 – шариковый подшипник 305; 22 – глухая крышка подшипника; 23 – стопорное кольцо

Таблица 1 – Технические характеристики насоса СВН-80А

Наименование показателя

Значение

Тип насоса

вихревой

Подача, л/мин.

500

Напор, м

24

Частота вращения, об/мин

1450

Мощность насоса, кВт

6,5

11.3 Быстроразъемные соединения

Быстроразъемные соединения (БРС) Камлок – это система универсальных самоблокирующихся быстроразъемных соединений кулачкового типа, которая позволяет мгновенно присоединить рукав (шланг) к сливному трубопроводу цистерны или соединить несколько шлангов между собой. Соединения типа КАМЛОК состоит из двух основных частей: ответная часть и приемная часть. Применение быстроразъемных соединений типа КАМЛОК позволяет сократить временные затраты и повысить уровень проводимых работ [7].

11.4 Клапан дыхательный

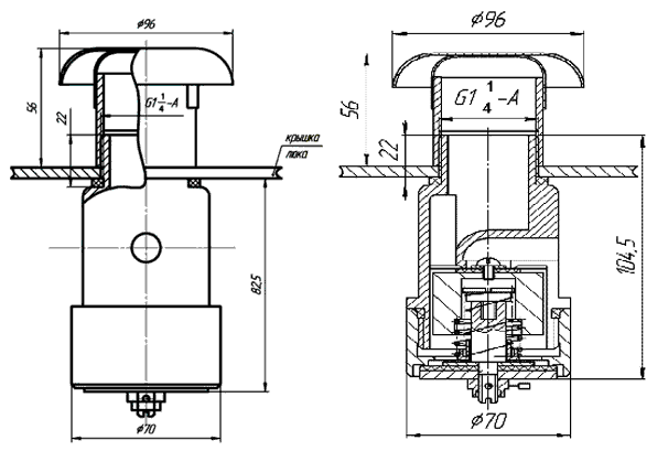
Клапан малых дыханий К5852 («грибок») входит в систему герметичности и пожарной безопасности при транспортировке нефтепродуктов (рисунок 2).

Предназначен для впуска (выпуска) воздуха и предотвращения понижения давления в автоцистерне при транспортировке светлых нефтепродуктов, также обеспечивает герметичность цистерны при её перекосах, вплоть до переворота. Технические характеристики дыхательного клапана представлены в таблице 2 [7].

Рисунок 2 – Габаритные размеры дыхательного клапана

Таблица 2 – Технические характеристики дыхательного клапана

Наименование показателя

Значение

Пропускная способность, /ч (при избыточном давлении полного открытия)

17 - 20

Рабочее избыточное давление, МПа

0,0063 - 0,0080

Рабочее вакууметрическое давление, МПа

0,0025 - 0,0032

Избыточное давление полного открытия затвора, МПа

0,0080 - 0,0100

Вакууметрическое давление полного открытия затвора, МПа

0,0032 - 0,0050

Температура окружающей среды, °С

-40 +50

Масса, кг

0,95

11.5 Фильтр предварительной очистки

Выбираем ФГН-30-20 (рисунок 3). Это фильтр для очистки горючего с нетканым фильтрационным материалом, пропускной способностью 30 куб. м/ч. Предназначен для очистки горючего от механических примесей и кристаллов льда.

Фильтр имеет корпус с нижним разъемом, который позволяет монтировать фильтрационные пакеты непосредственно на центральной трубе. Фильтрационный пакет состоит из восьми чечевич-дисков, вставленных в двухслойный прямоугольный чехол из нетканого материала, который складывается зигзагом. Диски надеваются на центральную трубу и закрепляются нажимной гайкой.

Нетканый материал – это волокнистый слой толщиной 0,6-0,9 мм из тонковолокнистого хлопка, склеенного синтетическим карбоксилсодержащим латексом СКН-40-1ГП, стойким к углеводородным горючим, и подвергнутого термообработке. В фильтре ФГН-30 установлены три таких пакета. Очищаемое горючее поступает в фильтр через входной патрубок и, пройдя через двухслойный чехол по дренажным канавкам чечевиц-дисков, поступает в центральную трубу и выходит через выходной патрубок.

Фильтры с фильтроэлементами (фильтрующими пакетами) из нетканого материала используются для очистки автомобильных бензинов, дизельного топлива, топлива для газотурбинных корабельных двигателей при приеме на склады, выдаче со складов и заправке военной техники; авиационные топлива очищают с помощью фильтров ФГН только при приеме на аэродромные склады горючего.

Фильтры типа ФГН устанавливаются на технических средствах заправки наземной техники и средствах перекачки.

Технические характеристики фильтра представлены в таблице 3 [6].

Таблица 3 – Технические характеристики фильтра ФГН-30-20

Наименование показателя

Значение

Пропускная способность, м3

30

Поверхность фильтрации, м2

1,4

Максимальное рабочее давление, кгс/см2

8

Перепад давления в фильтре с новым фильтрационным пакетом, кгс/см2

0,5

Максимально допустимый перепад давления, кгс/см2

1,5

Фильтрационный материал

нетканый

Количество слоев

2

Тонкость фильтрации, мкм

11,3-20

Рисунок 3 – Фильтр ФГН-30-20:

1 – фильтрационный пакет; 2 – нажимная гайка; 3, 5, 9, 13 – прокладки; 4 – игольчатый вентиль; 6– центральная труба; 7 – дифференциальный манометр; 8 – выходной патрубок; 11,3 – пробковый кран; 11 – входной патрубок; 12 – доработанный корпус фильтра; 14 – гайка; 15 – шайба; 16 – откидной болт; 17 – крышка фильтра

11.6 Указатель уровня

На проектируемой цистерне уставлен наиболее распространенный для автомобильных средств транспортирования нефти и НП указатель уровня – поплавковый указатель уровня (ПУУ).

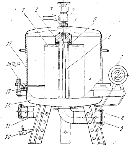
ПУУ (рисунок 4) состоит из шарового поплавка 21с трубкой, при помощи которой он крепится к оси 5 винтом 1. Ось вращается в подшипниках 3, установленных в кронштейне 2.Осевое перемещение подшипников предотвращается разжимными кольцами 4.Вращение оси через две шарнирные муфты 6 и трубу 7 передается валу 8, на котором установлена стрелка 18. Поворачиваясь вокруг своей оси, стрелка указывает количество НП в цистерне на шкале 17. Для обеспечения герметичности вал 8 уплотняют сальником 12, который поджимает втулка 15 через кольца 11.Подбором прокладок 11,3ограничивают осевое перемещение вала 8. Шкала и стрелка закрыты стеклом 16, поджатым к прокладке 19 прижимным кольцом 14. Фланец 9 с корпусом 13 крепят шпильками 20кпатрубку цистерны. Винтом 1 поплавка регулируют расстояние поплавка от оси вращения и, следовательно, угол поворота оси.

Рисунок 4 – Поплавковый указатель уровня

При этом угол поворота стрелки должен находиться в пределах делений шкалы. При наполнении цистерны НП или выдаче из нее поплавок поднимается или опускается (вместе с уровнем НП) и поворачивает ось 5.

Вращение оси передается на стрелку, которая по тарированной шкале показывает количество НП в цистерне [6].

11.7 Крышка люка

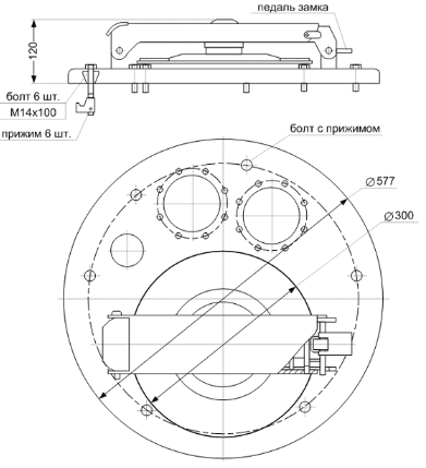
Крышка люка (рисунок 5) предназначена для оснащения автоцистерн с верхним и наливом нефтепродуктов, устанавливается на автомобильных средствах транспортирования и раздачи нефтепродуктов.

Крепление алюминиевого люка к коробу заливной горловины цистерны осуществляется при помощи прижимных болтовых фиксаторов, что облегчает монтаж / демонтаж алюминиевого люка в процессе обслуживания внутренней поверхности емкости.

Замок крышки люки имеет надежную систему фиксации в закрытом положении, исключающую случайное открывание люка во время движения транспортного средства.

Крышка загрузочного люка выполняет функцию сбросного клапана, который необходим в случае механического воздействия на емкость, при котором резко изменяется объём отсека и необходимо производить сброс продукта на величину изменения объема для сохранения герметизации.

Фиксация ответной части внутри приемной части происходит при помощи ручек, расположенных по бокам последней. В момент соединения двух частей, ручки расположены под углом 90° к корпусу приемной части. Опуская ручки вниз, их выступы попадают в паз, и соединение надежно фиксируется, одновременно происходит уплотнение за счет совмещения головки ответной части с прокладкой, расположенной внутри ответной части. Устройство кулачков обеспечивает устойчивое к вибрации соединение без использования дополнительного фиксирующего шплинта или других приспособлений.

Технические характеристики наливного люка представлены в таблице 4 [7].

Рисунок 5 – Габаритные размеры крышки люка

Таблица 4 – Технические характеристики крышки люка

Наименование показателя

Значение

Диаметр заливной горловины, мм

600

Температура окружающей среды, °С

-40 +50

Материал крышки люка

Сталь 09Г2С по ГОСТ 27772-88

11.8 Манометр

Манометры устанавливаются в целях регулирования избыточного давления и вакуума в цистерне. В данном случае установлен манометр МВ-10М. Принцип действия прибора основан на изменении деформации пружины под действием давления. Шкала прибора черная, с отметками и цифрами, покрытыми светящимся составом постоянного действия.

Основная приведенная погрешность данного манометра составляет порядка 4%. Данный прибор обладает хорошей устойчивостью к отрицательным температурам – интервал работы составляет от -60°С до +50°С. Также, он обладает малой массой – не более 0,2 кг. Цена деления прибора – 0,1 кгс/см2. Диапазон измерений – 1-6 кгс/см2. Диаметр корпуса составляет порядка 100 мм, то есть устройство весьма компактно [8].

11.9 Перепускной клапан

Клапан перепускной (рисунок 6) установлен в напорном патрубке насоса и предназначен для сообщения напорной магистрали насоса со всасывающей при увеличении давления в напорной магистрали выше предельно допустимого.

Рисунок 6 – Перепускной клапан: