Материал: Конструкция и эксплуатация главного двигателя судна проекта № 10

Внимание! Если размещение файла нарушает Ваши авторские права, то обязательно сообщите нам

Конструкция и эксплуатация главного двигателя судна проекта № 10

Содержание

Введение

. Схема и технические характеристики судна проект № 10

. Устройства и системы управления судна

.1 Движители

.2 Электростанция

.3 Общесудовые системы

.3.1 Балластно-осушительная система

.3.2 Противопожарная система

.3.3     Рулевое устройство

.3.4     Якорно-швартовное устройство

.3.5     Буксирное устройство

.3.6     Спасательное устройство

. Конструкция и системы главного ДВС 6S275L судна проекта № 10

. Техническая эксплуатация и техническое обслуживание главного ДВС судна

Заключение

Список литературы

ПРИЛОЖЕНИЯ

Введение


Актуальность данной работы заключается в подробном изучении систем, устройств данного судна, главного двигателя для лучшей эксплуатации, безаварийной работы и технического обслуживания.

Целью данной курсовой работы является: изучение схем и технических характеристик буксира проекта № 10 класса «О», а также устройств и систем данного судна; изучение и описание конструкции и системы главного ДВС 6S275L судна проекта № 10, привести схемы ДВС, разрезы, эскизы, чертежи и т.д., описать конструктивные особенности, назначение и т.д. Указать основные неисправности ДВС и способы ремонта. Изучить и описать правила технической эксплуатации двигателя и регламентные работы по техническому обслуживанию.

Задачей данной курсовой работы является углубление и закрепление знаний, полученных на лекциях и при самостоятельном изучении материала.

1. 
Схема и технические характеристики судна проект № 10


Буксир проекта № 10 был спроектирован ОГК завода «Красный Октябрь» в середине прошлого века. По типу буксир однопалубный двухвинтовой с надстройкой и МО в средней части судна, с выдвинутой вперед и приподнятой рулевой рубкой. Предназначен для буксировки несамоходных судов. Относится к классу «О» и предназначен для работы на водных бассейнах разряда «О».

Рис. 1 Схема буксира проекта № 10 класса «О»

В приложении 1 приведена схема с указанием основных устройств и систем описываемого судна.

Основные характеристики

Тип судна

Однопалубный двухвинтовой буксир с надстройкой и МО в средней части судна, с выдвинутой вперед и приподнятой рулевой рубкой.

Назначение судна

Предназначен для буксировки несамоходных судов.

Класс Речного Регистра и район плавания

«О». Водные бассейны разряда «О».

Размеры судна габаритные, м:


длина

40,26

ширина

7,82

высота от ОЛ до верхней кромки несъемных частей

10

Размеры корпуса расчетные, м:


длина

37,2

ширина

7,4

высота борта

3

Высота надводного борта

1,2

Водоизмещение судна с полными запасами (на 20 суток), т

359

Осадка при водоизмещении 359/380,7 т, м:


средняя

1,99

носом

1,99

кормой

1,99

Водоизмещение с расчетными запасами (10 суток),т

319

Осадка при водоизмещении 319 т, м:


средняя

1,8

носом

1,64

кормой

1,96

Водоизмещение с запасами на 1 сутки, т

287

Осадка при водоизмещении 287/301,7 т, м:


средняя

1,65

носом

1,29

кормой

2,01

Мест для экипажа

25

Автономность, сутки:


расчетная

10

по ёмкостям для топлива

20

Тяга на гаке (тс) на судах с двигателями 18Д при скорости буксировки:


8 км/ч

7,3

10 »

6,3

12 »

4,85

Тяга на гаке (тс) на судах с двигателями 6S275L при скорости буксировки:


8 км/ч

7,4

10 »

6,775

12 »

5,65

Сила упора при скорости воза, тс:


9 км/ч

7,7

11 »

6,95

Буксировочный к.п.д. (двигатель 18Д) при скорости:


8 км/ч

0,353

10 »

0,4

12 »

0,401

Буксировочный к.п.д. (двигатели 6S275L) при скорости:


8 км/ч

0,375

10 »

0,443

12 »

0,478

Коэффициенты полноты при осадке 1,8 м:


ватерлинии

α = 0,78

мидель-шпангоута

β = 0,978

водоизмещения

δ = 0,645

Возвышение ЦВ над ОЛ, м:


при водоизмещении


359 т

1,08

» » 319»

0,98

» » 287»

0,90

Отстояние ЦВ от мидель-шпангоута, м:


при водоизмещении


359 т

0,19

» » 319»

0,24

» » 287»

0,29

Возвышение ЦТ над ОЛ,м:


при водоизмещении


359 т

2,38

» » 319»

2,43

» » 287»

2,62

Отстояние ЦТ от мидель-шпангоута, м:


при водоизмещении


359 т

0,20

» » 319»

-0,2

» » 287»

-0,76

Продольная метацентрическая высота, м:


при водоизмещении


359 т

49,3

» » 319»

51,3

» » 287»

53,9

Продольный метацентрический радиус, м:


при водоизмещении


359 т

50,3

» » 319»

52,7

» » 287»

55,6

Поперечная метацентрическая высота, м:


при водоизмещении


359 т

0,92

» » 319»

0,97

» » 287»

0,91

Поперечный метацентрический радиус, м:


при водоизмещении


359 т

2,31

» » 319»

2,52

» » 287»

2,34

Водоизмещение на 1 см осадки, т:


при водоизмещении


359 т

2,21

» » 319»

2,15

» » 287»

2,11

Момент, дифферентующий судно на 1 см, тс·м:


при водоизмещении


359 т

4,71

» » 319»

4,41

» » 287»

4,20

Момент, кренящий судно на 10, тс·м:


при водоизмещении


359 т

5,79

» » 319»

5,42

» » 287»

4,58

Автоматизация

На судах, прошедших модернизацию, - комплексная, на остальных - частичная.


2. Устройства и системы управления судна

.1 Движители


Тип

Гребной винт

Количество

2

Диаметр, м

1,6

Шаг, м

1,28

Число лопастей

4

Дисковое отношение

0,55

Материал винтов

Сталь


Рис. 2 Гребной винт

- ступица; 2 - лопасть винта; 3 - пятка; 4 - перо руля

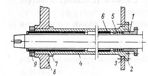
Рис. 3 Схема линии валопровода

- гребной винт; 2 - дейдвудная труба; 3 - гребной вал; 4 - тормозное устройство; 5, 7 - части промежуточного вала; 6 - опорные подшипники; 8 - короткий упорный вал; 9 - упорный подшипник; 10 - маховик; 11 - двигатель.

Рис. 4 Дейдвудное устройство

- дейдвудный сальник; 2 - фланец; 3 - переборка; 4 - стальная или чугунная труба; 5 - пеньковая набивка; 6 - носовой (подсальниковый) опорный подшипник гребного вала; 7 - кормовой (подсальниковый) опорный подшипник гребного вала; 8 - ахтерштевень; 9 - гайка.

.2 Электростанция


Род тока и напряжение:


сеть силовая и осветительная

Постоянный, 110 В

сеть аварийного и переносного освещения

Постоянный, 24 В

Дизель-генератор-компрессор


Количество

2

Дизель

4Ч 10,5/13

Мощность, з.л.с.

40

Частота вращения, об/мин

1500

Пуск

Стартером

Генератор

ПН-205

Род тока

Постоянный

Мощность, кВт

24

Напряжение, В

115

Компрессор

2ОК-1-ЭЗ

Производительность, м3/ч

26

Давление, кгс/см2

60

Передача

Через фрикционную муфту и редуктор

Аккумуляторная батарея аварийного освещения

10НКН-45

Количество

2

Напряжение

24

Аккумуляторная батарея для штепселей переносного освещения

10НКН-45

Количество

2

Напряжение

24

Аккумуляторная батарея стартерная

6СТ-128

Количество

4

Напряжение

24

Зарядный агрегат


Электродвигатель

ПН-10

Мощность, кВт

2,3

Частота вращения, об/мин

2810

Генератор

ГС-1000

Род тока

Постоянный

Напряжение, В

27,5

Мощность, кВт

1

Станция питания несамоходных судов

СТБ-60

Сила тока, А

60


Поперечный разрез дизеля Ч 10,5/13 приведён в приложении 2.

Дизели ряда Ч 10,5/13 выпускаются с числом цилиндров от одного до шести и встречаются в различных модификациях, в том числе и с реверсредуктором.

Двигатель 4Ч 10,5/13 (рис. 3) имеет несущий блок-картер 2 с поддоном 1. Втулки цилиндров 18 чугунные. Головки 14 блочного типа: одна головка на два цилиндра. В головках находятся вихревые камеры с вставной горловиной 9.

Поршни 17 изготовлены из алюминиевого сплава. Плавающий палец поршня фиксируется пружинящими кольцами. Шатун двутаврового сечения, кривошипная головка выполнена с косым разъемом. Поршневой подшипник имеет бронзовую втулку и смазывается масляным туманом. У кривошипного подшипника имеются стальные вкладыши, заплавленные свинцовистой бронзой.

Коленчатый вал цельный с противовесами. Он лежит в подшипниках, выполненных на подвесках 3 со стальными вкладышами, заплавленными свинцовистой бронзой. Каждый цилиндр имеет впускной и выпускной 15 клапаны. Их привод штанговый, толкатели 5 плоские, распределительный вал 4 выполнен заодно с кулачковыми шайбами. Выпускной коллектор 13 охлаждается водой, всасывающий коллектор 16 снабжен сеткой.

Топливная система двигателя оборудована поршневым саморегулируемым подкачивающим насосом 6 и блочным стандартным золотниковым насосом 7. Форсунки 11 штифтового типа. Топливный фильтр войлочный. Система смазки с мокрым картером. Масляный насос шестеренный. Сетчато-войлочный фильтр и диафрагменный охладитель помещены в общий корпус. В настоящее время двигатели поставляются с масляными центрифугами.

Система охлаждения замкнутая, снабжена расширительным баком 12, навешенным на двигатель. Насос забортной воды лопастной самовсасывающий, насос внутреннего контура - вихревой. Водяной охладитель выполнен трубчатым.

Пуск двигателя осуществляется электростартером 19. Для облегчения пуска установлена запальная спираль 10 и декомпрессионное устройство с валиком 8.

2.3 Общесудовые системы

.3.1 Балластно-осушительная система


Цистерна

Расположение (номер шп.)

Носовая

Под платформой 0 - 7

То же

» » 7 - 11

Кормовая

» » 52 - 56

То же

» » 56 - 59


Рис. 5 Схемы судовых насосов

а) одноцилиндровый поршневой насос двойного действия;

б) центробежный насос; в) струйный насос (эжектор).

2.3.2 Противопожарная система


Насос пожарно-балластный

АЯП-75

КСМ

Производительность, м3/ч

45

70

Напор, м вод.ст.

54

50

Электродвигатель

ПН-145

ПН-145

Мощность, кВт

8/13

15,2

Частота вращения, об/мин

1050/1450

1450

Управление балластной системой

Централизованно в МО

Насос трюмно-осушительный

ЛК11-7

Производительность, м3/ч

14

Напор, м вод.ст.

21

Электродвигатель

ПН-68

Мощность, кВт

3,7

Эжектор осушительный

Водоструйный

Производительность, м3/ч

15 - 20

Перекачечная система


Насос перекачечный

Поршневой

Производительность, м3/ч

200

Напор, м вод.ст.

20

ПН-290

Мощность, кВт

18

Место установки

На главной палубе в районе 22 - 24-го шп.

Примечание: Насос не рассчитан на перекачку бензина.

Дымонагнетательная система на судах, оборудованных для толкания наливных барж с продуктами


I класса (пр.№ 147 КБ Иртышского пароходства)


Станция очистки и охлаждения дымовых газов

Скруббер по типу установленных на судах пр. № 732

Производительность скрубберной установки, м3/ч

150 - 300

Газогенератор

Используются выпускные газы двигателей 4Ч 10,5/13

Противопожарная система


Насос противопожарный

См. «Балластно-осушительная система»

Система пожаротушения

Тушение загораний в топливных и масляных цистернах, МО и кладовых

Система пенотушения

Тушение загораний в МО и других местах

Ёмкость бака для пенообразователя, л

500

Управление системами паротушения и пенотушения

Централизованно с главной палубы

Система водоснабжения


Насос санитарный

2ЛК-2, 5-10

Производительность, м3/ч

5

Напор, м вод.ст.

22

Электродвигатель

ПН-17,5

Мощность, кВт

1,4

Ёмкость цистерны забортной воды, м3

1,5

Расположение

На шлюпочной палубе

Сточно-фановая система


Цистерна фекальная


Ёмкость, м3

1,1

Расположение

44-47 шп., трюм

Опорожнение цистерны

Береговыми средствами или водоструйным эжектором

Система отопления

Паровая, давлением 2,5 кгс/см2. Двухпроводная с параллельным включением грелок.

Котел паровой

Комбинированный утилизационный с нефтяным отоплением или с использованием отходящих газов главных двигателей. Котел состоит из трёх частей, каждая из двух верхних работает от своего двигателя, третья нижняя - от форсунки. Все три части могут работать одновременно и независимо друг от друга

Давление пара, кгс/см2

4

Поверхность нагрева, работающая на газах, м2

2 х 9

Поверхность нагрева, работающая от форсунки, м2

10

Производительность котла при работе на газах, кг/ч

150

Насос питательный

ПНП-12

Производительность, м3/ч

0,9 - 2

Инжектор

Рестартинг, № 5

Система вентиляции


По проекту

Естественная

На судах, модернизированных по пр. №858 ГЦКБ


Вентилятор МО

ЭВ-54/5

Производительность, м3/ч

2500

Напор, мм вод.ст.

60

Электродвигатель

ПНФ-10

Мощность, кВТ

0,95

2.3.3 Рулевое устройство


Руль

Балансирный подвесной

Количество

2

Площадь, м2

3

Рулевая машина

Электроручная унифицированная

Максимальный момент на оси румпельного сектора, тс·м

2,1

Время перекладки рулей с борта на борт, с:


электроприводом

~ 40

ручным приводом

~ 70

Электродвигатель

ПН-68

Мощность, кВт

6,1

Частота вращения, об/мин

1350

Резервный рулевой привод

Ручной с валиковой проводкой


Рис. 6 Балансирный руль буксира

- перо; 2 - сорлинь; 3 - тяга; 4 - румпель; 5 - сектор; 6 - упорный подшипник; 7, 9 - опорный подшипник; 8 - гельмпортова труба; 10 - баллер.

Рулевая машина имеет румпельно-секторный привод, червячный редуктор основного привода, два электродвигателя одинаковой мощности, конечный выключатель, датчик-указатель положения руля, тормоз и другие детали. Запасной привод в машинах этого типа не предусматривается. Электродвигатели подсоединены к хвостовикам редуктора. Машины предназначены для обслуживания одного или двух рулей. Особенность этих рулевых машин заключается в том, что они обеспечивают нормальную перекладку рулей при работе одного электродвигателя; другой электродвигатель является резервным и используется только в необходимых случаях. Однако для равномерного износа опорных подшипников при работе одного электродвигателя другой должен работать вхолостую.

Рис. 7 Электрическая секторная одинарная рулевая машина на крутящий момент 2,5 тс · м (II тип): 1 - для одного руля; 2 - для двух рулей

2.3.4 Якорно-швартовное устройство


Якорь

Холла

Количество и вес носовых якорей, кг

2 Х 400

Калибр и длина цепей носовых якорей, мм Х м Х шт.

22 Х 100 Х 2

Брашпиль

Электроручной по черт. № 10-В21сб-1

Тяговое усилие на швартовном барабане, кгс

1415

Скорость подъема одновременно двух якорей, м/мин

11

Электродвигатель

ПНЗ-68

Мощность, кВт

6,5

Частота вращения, об/мин

1500

Кормовой якорь

Четырехлапый

Вес, кг

100

Трос якорный, мм Х м

15 Х 15

Шпиль

ВШ-1700