Материал: konspekt_vpe

Внимание! Если размещение файла нарушает Ваши авторские права, то обязательно сообщите нам

16

Величина ефективності катода залежить від його робочої температури. Для вольфрамових катодів величина H змінюється від 2 до 10 мA/Bт. Термін служби вольфрамового катода при номінальних робочих температурах складає 2-3 тисячи годин. Основною перевагою вольфрамового катоду є сталість його емісійних властивостей. До позитивних якостей вольфрамового катода варто також віднести властивість парів вольфраму вступати в хімічні сполуки із залишковими газами і тим самим покращує знегажування лампи. Вольфрамові катоди застосовуються в потужних лампах, що працюють при високій анодній напрузі, коли робота катодів інших типів робиться нестійкою. Сталість емісійних характеристик визначило використання суцільно металевих катодів у високоточній вимірювальній апаратурі.

Танталові катоди

Тантал має температуру плавлення близько 3120K; робота виходу в танталу дорівнює 4.07 еВ, що трохи менше, ніж у вольфраму. Завдяки меншій роботі виходу тантал при температурах 2300-2500K дає емісію в 10 разів більшу, ніж вольфрам при однакових температурах. Застосовуються танталові катоди в потужних високовольтних лампах.

Недоліком чистих танталових і вольфрамових катодів є те, що при сильних нагрівах матеріал катода кристалізується, що робить катоди досить крихкими і ламкими. Шляхом додавання до танталу і вольфраму невеликих кількостей інших речовин, наприклад, молібдену, вдається рекристалізацію трохи зменшити. Однак введення домішок негативно позначається на величині роботи виходу і ефективності катода.

4.2

Плівкові катоди

Торійовані катоди

Ці катоди являють собою вольфрамовий дріт, поверхня якого покрита одноатомним шаром торію. Торійовані катоди працюють при більш низьких температурах і є більш економічними, ніж катоди із чистого вольфраму. Робоча температура торійованого катода знаходиться в інтервалі 1800-1900 K. При цих температурах ефективність катода складає від 35 до 50 мA/Bт. Термін служби торійованого катода визначається, як правило, не його перегорянням, а станом активного шару на поверхні катода. При нормальних умовах роботи катода випаровування торію з поверхні безупинно поповнюється атомами, що дифундують із глибини катода до поверхні катода між кристалами вольфраму. При тривалій роботі катода під дією високої робочої температури кристалічна структура вольфраму змінюється – кристали робляться більших розмірів, що зменшує кількість шляхів для атомів торію, і дифузія торію на поверхню катода зменшується. Внаслідок цього, а також внаслідок поступового збідніння катода торієм, розміри активного шару починають зменшуватися, що викликає спочатку зменшення емісії, а потім і її повну втрату.

На цілісність активного шару катода сильно впливають залишкові гази. Цей вплив позначається в хімічній взаємодії залишкового газу з активним шаром катода, а також у руйнуванні торієвого активатора іонами при бомбардуванні. Тому для активованих катодів питання зменшення кількості залишкових газів після відкачки є дуже важливим і вирішується звичайно застосуванням газовбирачів.

До недоліків торійованого катода можна віднести нестійку емісію через вплив зазначених вище явищ, а також руйнування активного шару при застосуванні високої анодної напруги. Тому торійовані катоди застосовуються тільки в деяких типах вимірювальних (електрометричних) ламп.

Карбідовані катоди

Для підвищення стійкості емісії торійованого катода і можливості застосування його при більших анодних напругах виконують карбідування торійованого катода. Цей процес полягає в прожарюванні ще неактивованого катода в атмосфері вуглеводнів, наприклад, у парах бензолу (С6Н6) при температурі близько 1600К. При зіткненні молекули бензолу з гарячою поверхнею катода молекула розкладається на водень і вуглець. Останній, осаджуючись на поверхні катода, дифундує у вольфрам, утворюючи карбід вольфраму W2C. Карбідування припиняють, коли вміст вуглецю у вольфрамі підвищиться до 0,2-0,5%.

Після карбідування виконується активування катода. Активний шар атомів торію розташовується на карбіді вольфраму. Теплота випаровування торію з поверхні карбіду вольфраму більша, ніж з поверхні чистого

17

вольфраму. Тому карбідовані катоди можуть працювати при більш високих температурах, ніж прості торійовані, без руйнування активного шару торію. Швидкість випаровування торію з вольфраму при однакових температурах може зменшуватися до одного порядку. Робоча температура карбідованого катода становить 1950-2000 К. При такій температурі збільшується емісія катода і його ефективність, що досягає в карбідованних катодах значеннь 50-

70м/Bт.

Завдяки зазначеній властивості активний шар карбідованого катода є міцнішим, ніж у простих торійованих катодів. Інтенсивне руйнування під дією іонного бомбардування починається з 6-8 кВ анодної напруги.

Недоліком карбідованих ниток є їх крихкість, обумовлена крихкістю карбіду вольфраму і тим, що коефіцієнти розширення карбіду вольфраму та чистого вольфраму неоднакові. Внаслідок цього при нагріванні і охолодженні катода поверхня його покривається тріщинами, що зменшує механічну міцність нитки. Довговічність карбідованих катодів близько 2000 годин.

Крім торійованого вольфраму, для виготовлення карбідованих катодів застосовують іноді торійований молібден. Карбідовані катоди знаходять застосування в генераторних лампах.

Барієво-вольфрамові катоди.

У барієво-вольфрамовому катоді (Л-катода) застосована спеціальна конструкція, що забезпечує його характеристики і зображена на рис. 1.10).

Рисунок 1.10 - Конструкція барієво-вольфрамового катода.

Корпус катода зроблений у вигляді молібденового стаканчика 1. У нижній частині корпуса міститься електричний підігрівник 4, а верхня частина представляє собою ємність яка заповнена пористим вольфрамом 2, зовнішня поверхня якого є робочою поверхнею катода. Всередині вольфраму розміщена таблетка із суміші карбонатів барію та стронцію 3. При досить сильному нагріванні катоду карбонати барію і стронцію розкладаються, утворюючи окисли барію і стронцію. Окис барію вступає в реакцію з молібденом і вольфрамом. В результаті цієї реакції барій відновлюється і дифундує скрізь пористий вольфрам на поверхню, утворюючи активну плівку.

При робочих температурах в інтервалі від 1200К до 1600К барієво-вольфрамові катоди мають ефективність від 100 м/Bт до 1000 м/Bт. При цих і більших температурах проявляється основний недолік цього катода – інтенсивне розпилення барію та інших металів. Осадження їх на електродах лампи (зокрема, сіток) приводить до шкідливого збільшення термоелектронної емісії з поверхні та підвищенню імовірності пробоїв. Тому барієвовольфрамові катоди часто використовуються або в лампах, що дозволяють розборку та чистку, або в лампах (у тріодах дециметрового і сантиметрового діапазону) при більш низьких температурах (1200К-1350К). Ефективність при цьому зменшується, але розпилення барію з поверхні катода практично зникає.

Важливою перевагою барієво-вольфрамових катодів є їх здатність відновлювати активований шар при нагріванні, що обумовлено безперервним надходженням барію зсередини на поверхню катода. Стійкість катодів до інтенсивного електронного та іонного бомбардування дозволяє їх застосовувати в електровакуумних приладах з агресивними умовами роботи – високі значення питомих струмів емісії та високі потенціали на електродах магнетрони, потужні клістрони та інші.

4.3

Напівпровідникові катоди

Оксидні катоди

18

Найпоширенішим типом катода в електровакуумних приладах є напівпровідниковий оксидний катод, винайдений ще у 1904р. Схема пристрою оксидного катода показана на рис.1.11.

Рисунок 1.11 - Будова оксидного катода.

Основою катода є металевий керн, виготовлений зі спеціальних сплавів нікелю або з вольфраму. На керн наноситься оксидне покриття, що складається із суміші окислів барію і стронцію (іноді кальцію). Ці окисли нестійкі до впливу парів води та вуглекислого газу тому спочатку на керн наносять обприскуванням або електролітичним осадженням суміш вуглекислих солей барію і стронцію (кальцію). Після відкачки з лампи повітря, катод нагрівається до температури 1600 К. Вуглекислі солі барію і стронцію розкладаються на окисли металів і вуглекислий газ. Окисли металів залишаються на поверхні катода у вигляді білої плівки товщиною від 20 до 100мкм. Вона має шорсткувату поверхню у вигляді нагромаджених один на однин кристалів ВаО і SrО розмірами від 1 мкм до 5 мкм. Окисли лужноземельних металів мають іонну кристалічну решітку, у вузлах якої перебувають двовалентні іони металу (Ме++) і кисню. Ширина ―забороненої‖ смуги енергій для ВаО і SrО порядку декількох електрон-вольт, тому оксидне покриття у звичайному (неактивованому) стані є діелектриком.

Надлишкові атоми барію, що показані кружками на рис. 1.11, розподіляються по товщі покриття. Вони відіграють роль металевої домішки до оксидного шару, тобто є донорами. Тому при активуванні катода оксидний шар із діелектрика перетворюється в напівпровідник з електронною провідністю. Повна робота виходу оксидних катодів при термоелектронній емісії становить від 1 до 1,1 еВ; при цьому внутрішня робота виходу 0,7 – 0,8 еВ, а зовнішня робота виходу порядку 0,3 еВ.

Завдяки малій величині роботи виходу значна термоелектронна емісія оксидного катода досягається вже при температурах 1000 К – 1120 К (розжарення темно-червоного кольору), ефективність катода при цих температурах від 60 до 100м/Bт.

Високі емісійні властивості оксидного катода обумовлюють шорсткістю його поверхні і наявність пор в оксидному покритті. Завдяки цьому збільшується діюча емісійна поверхня катода і додається емісія електронів через пори в оксидному шарі.

Оксидні катоди з відносно гладким покриттям (наприклад, одержані електролітичним осадженням вуглекислих солей барію і стронцію із суспензії) застосовуються в лампах із гранично малими міжелектродним відстанями і у тих електровакуумних приладах в яких є висока імовірність пробою.

З причини надлишкової хімічної активності атомів барію присутність малої кількості повітря, залишкових газів або парів води всередині лампи помітно погіршують емісійні властивості оксидного катода, скорочують строк його служби. Тому необхідно підтримувати тиск залишкових газів у межах 10 – 7 мм рт.ст. Термін служби оксидного катода в різних типах електровакуумних приладів неоднаковий; сильно розрізняється довговічність катода становить 500-100000 годин.

Експериментально були виявлені винятково високі емісійні властивості оксидного катода в імпульсному режимі (при тривалості імпульсів порядку 1–10 мкс і тривалості пауз порядку мілісекунд). У цьому режимі зі звичайних оксидних катодів при досить високих анодних напругах вдалося знімати емісійні струми в кілька десятків амперів на квадратний сантиметр, а з удосконалених — навіть більше 100 A/см2. В той же час у безперервному режимі найбільша щільність катодного струму оксидних катодів не перевищує 0,5 A/см2.

Одержанню з оксидного катода більших емісійних струмів, близьких до його повної термоелектронної здатності, перешкоджають в основному дві обставини:

1. Перегрів

катода через ―наскрізний‖ струм

I k з причини порівняно великого опору напівпровідникового

покриття Rk

і запірного шару. Тому безумовні

переваги має імпульсний режим, бо через наявність пауз середня

кількість тепла за одиницю часу при проходженні струму I k , в імпульсному режимі набагато менше, ніж у безперервному.

19

2. Іскріння катода при подачі на анод лампи високих напруг і знятті з катода великого значення щільності струму в імпульсному режимі. При цьому спостерігаються електричні розряди в лампі із відокремленням від

катода розпечених часток оксиду. Це явище обмежує величину припустимого катодного струму Ik ìàõ і анодної напруги Ua ìàõ . Іскрінню сприяють: шорсткість поверхні оксидного катода, наявність запірного шару, підвищений

опір напівпровідникового, недостатньо міцне зчеплення оксидного покриття з керном; бомбардування катода іонами. Схильність до іскріння і недостатньо високий термін служби в імпульсному режимі роботи є головними недоліками оксидного катода, що обмежують його застосування в сучасних імпульсних електровакуумних приладах.

З метою боротьби з іскрінням і збільшення терміну служби розроблені різновиди оксидного катода, що є по суті не напівпровідниковими, а складними катодами. Прикладом таких катодів служить так званий губчатий, або сітчастий катод (рис. 1.12а). Поверхнею емісії в ньому служать відкриті торці трубок. У такому катоді є великий запас активної речовини й, крім того, його провідність більше.

На нікелевий керн наноситься металева сітка або губка, отримана спіканням дрібнозернистого нікелевого порошку. В отвори губки вводиться (утирається) оксидне покриття. Поверхня катода стає більше гладкою, частки оксиду міцніше зчіплюються з губкою, теплопровідність і електропровідність покриття (метал + напівпровідник) набагато більше, ніж в оксидного катода. Застосування найчистішого нікелю як матеріал для керна і губки перешкоджає утворенню запірного шару. На зовнішній поверхні складного катода перемежовуються ділянки зі структурою, аналогічній структурі плівкових (виступи металевої сітки) і товстошарових напівпровідникових катодів (зерна оксиду). Емісійна здатність губчатих і інших складних катодів трохи нижче, ніж в оксидних.

Рисунок 1.12 - Пристрій трубчастого (а) і пластинчастого (б) катодів

Для підвищення стійкості оксидного катода проти іонного бомбардування застосовуються ламельні, або пластинчасті, катоди, пристрій яких показано на рис. 1.12 б. Оксидним шаром покриваються тільки бічні стінки ламелей, на які попередньо зміцнює нікелева сітка. Зовнішнє поле, проникаючи між ламелями, сприяє руху електронів, що виходять з катода. Іони, потрапляючи в простір між ламелями, не руйнують оксидне покриття, тому що градієнт поля в напрямку бічних поверхонь невеликий.

Оксидні торієво-оксидні катоди

У цих катодах оксидне покриття з окису торію розміщується на вольфрамовому, молібденовому або танталовому керні. Для одержання гарного зчеплення покриття з керном до окису торію додають невелика кількість нітрату торію, що, розкладаючись при прожарюванні катода, утворить більш міцний шар окису торію. У порівнянні з оксидними катодами із лужноземельних металів оксидні торієво-оксидні катоди мають наступні особливості.

По-перше, після прожарювання у вакуумі для видалення з них газу, вони вже дають майже повну емісію, що значно полегшує подальший процес активування. По-друге, у торієво-оксидних катодах відсутній запірний шар між шаром оксиду і керном, внаслідок чого ці катоди виявляються придатними для роботи в імпульсних режимах при відборі з них більших значень щільності імпульсного струму. Явище спаду емісії в торієво-оксидних катодах практично не спостерігається для імпульсів із тривалістю до 100 мкс. В силу зазначених властивостей торієвооксидні катоди особливо придатні для імпульсних електровакуумних приладів зокрема, імпульсних магнетронів.

Цікавим різновидом описаного вище катода є металокерамічний оксидний торієво-оксидний катод. Цей складний катод виготовляється за допомогою спікання суміші дрібнозернистих порошків вольфраму і окису торію

20

(близько 96% W і 4% Th2) у металокерамічні стрижні або тонкостінні трубки. Останні за допомогою молібденового порошку потім спікаються з молібденовими циліндрами (кернами) усередину яких розміщається ізольований вольфрамовий нагрівач. Такий катод має робочу температуру 1500 К–1900 К. Він активується нагріванням до Т=2100 К -2200 К на протязі декількох хвилин, а при роботі в магнетроні добре активується без додаткового нагрівання. Металокерамічний оксидний торієво-оксидний катод має порівняно малу термоелектронну емісію (0,5 A/см2 при T 1600 К), але завдяки великому коефіцієнту вторинної емісії, він дає в імпульсному магнетроні струм в 15 A/см2. При цьому катод стійкий до електронного і іонного бомбардування і до впливу залишкових газів, добре працює при високих анодних напругах, має малу схильність до іскріння. Металокерамічний торієво-оксидний катод призначений у першу чергу для імпульсних магнетронів а також для потужних генераторних ламп.

1.4.4. Автоемісійні катоди

Розширення сфер застосування інтенсивних електронних пучків стимулює розробки систем їх формування на основі автоемісійних [104-106] емітерів. Підвищений інтерес до автоемісійних катодів (АЕК) обумовлений їх унікальними властивостями: високою економічністю, безінерційністью, можливістю роботи при низьких температуpax, навіть в режимі надпровідності. АЕК у вигляді металевих вістрів і лез забезпечують високу щільність емісійного струму: в стаціонарному 103–105 А/см2 і в імпульсному до 107 –109 А/см2. Це дозволяє формувати тонкі висококонцентровані електронні пучки.

Важливою особливістю автоелектронної емісії є сильна її залежність від роботи виходу, що є однією з причин нестабільності АЕК, пов'язаної, наприклад, з адсорбцією або міграцією яких-небудь домішок, що впливають на роботу виходу.

Іншою істотною причиною нестабільності АЕК, яка помітно проявляється при поганому вакуумі і наявності рухливих адсорбованих плівок, є різка, експоненціальна залежність автоелектронної емісії від напруженості електричного поля. В той же час, така залежність дозволяє створювати електронні прилади з суто нелінійними характеристиками, що використовуються як ефективні генератори гармонік.

Іншою корисною якістю АЕК є малий енергетичний розкид емітованих електронів, який дозволяє забезпечувати високу точність фокусування електронних пучків.

Катодом служить металеве вістря з радіусом закруглення 0,1 мкм. Воно приварене на кінці вольфрамової петлі (не показаною на малюнку), призначеної для прогрівання катода і очищення його від шкідливих домішок. Біля вістря катода розташовуються аноди для створення необхідних умов автоемісії та прискорення автоелектронів.

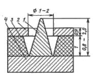
Одним з можливих шляхів підвищення первеансу є використання багато вістрійних і лезоподібних АЭК [104], а також матричних мікракатодів [105, 1139 Найбільший прогрес в створенні і використанні микракатодів для низьковольтних електронних приладів досягнутий авторами [113]. У цій роботі розглянуті матричні АЭК з високою щільністю розміщення вістрів. Конфігурація окремого осередку мікрокатода зображена на рис. 1.13. Моліб-деновий мікракатод має радіус закруглення 0,05-0,06 мкм крок між вістрями 12,5 мкм. Для отримання автоелектронної емісії з катода на електрод подається постійна позитивна напруга 100-300 В. При цьому з одного вістря вдавалося отримати струм від 50 до 150 мкА Середня щільність струму матричного катода перевищувала 10 А/см2. При вакуумі 10-7 Па мікракатоди стійко давали емісію на протязі більше ніж 7000 год.

Рисунок 1.13 – Електронно-оптична комірка з мікракатодом (розміри в мікраметрах): 1 – молібденовий катод; 2 – керуючий електрод; 3 – діелектрична плівка з окислу кремнію; 4 – провідна підкладка.