
Рис. 1.4.
В квантовой механике показывается, что колебательно-вращательные и чисто вращательные переходы симметричных молекул, не обладающих дипольным моментом, запрещены соответствующими правилами отбора. В соответствии с теорией в эксперименте вращательные и колебательные полосы наблюдаются только для несимметричных двухатомных молекул.
Электронно-колебательные
полосы лежат в видимой и ультрафиолетовой
частях спектра. Они наблюдаются как для
несимметричных, так и для симметричных
молекул. В этом случае испускание и
поглощение фотонов молекулой обусловлено
изменением электронной энергии
,
причем каждый из таких переходов может
сопровождаться одновременным изменением
колебательной
и вращательной
энергии молекулы. Это приводит к появлению
целой серии линий испускания или
поглощения, так как возможно большое
число способов изменения колебательной
и вращательной энергии молекулы. В
результате каждому переходу соответствует
широкая полоса поглощения (испускания).
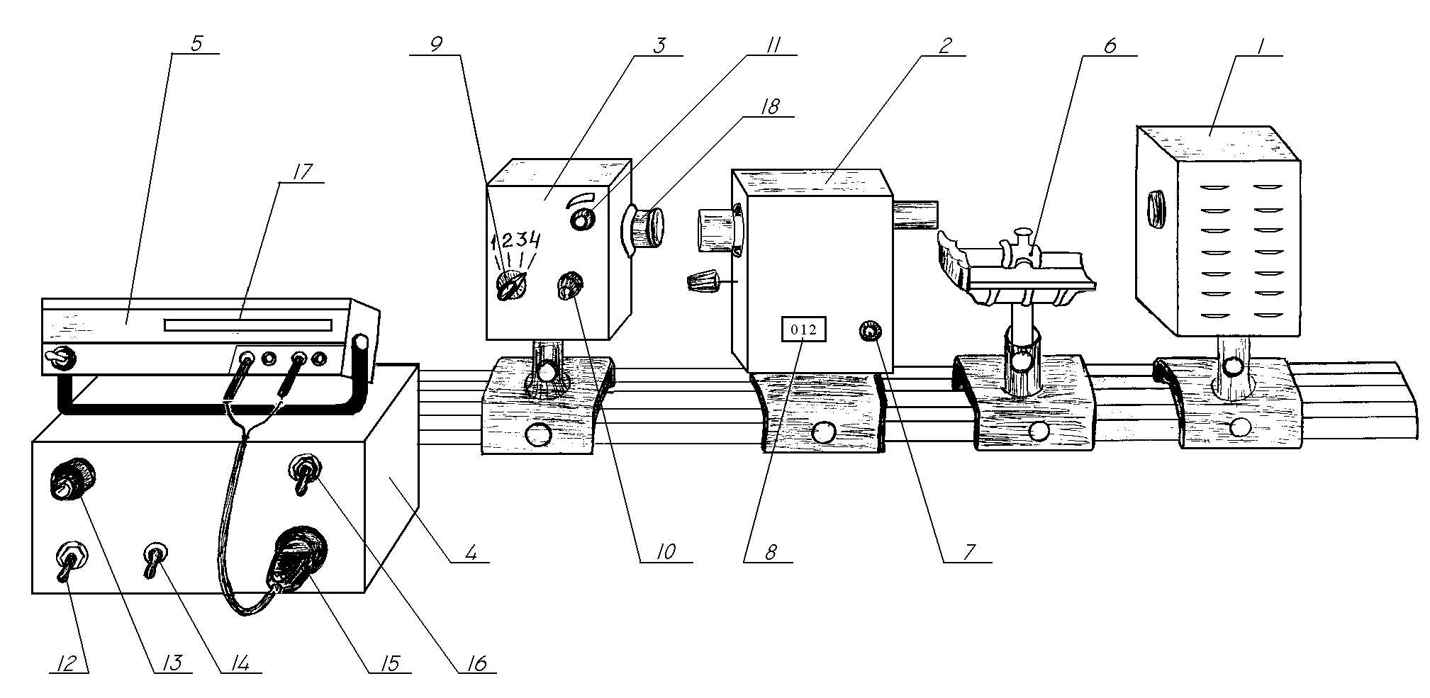
Для излучения молекулярных спектров поглощения в работе используется универсальный малогабаритный монохроматор МУМ. Установка приведена на рис. 2.1 и включает в себя источник излучения 1, монохроматор 2, приёмник излучения 3, блок питания источника и приёмника излучения 4, цифровой вольтметр В7-22А 5, столик, на котором в держателях крепятся кюветы с исследуемой жидкостью 6.
В качестве источника излучения, характеризующегося сплошным спектром, применяется галогенная лампа типа КГМ 12-100.Источник излучения находится в закрытом кожухе. Световой поток выводится через конденсатор, встроенный в стенку кожуха.
Для разложения излучения в спектр используется монохроматор 2. Оптическая схема монохроматора приведена на рис. 2.2.
Излучение то лампы 1 через конденсатор 2 попадает на входную щель 3 и посредством зеркала 4 заполняет вогнутую дифракционную решётку, которая выполняет роль фокусирующего и диспергирующего элемента. Далее излучение направляется в выходную щель 7 (при выведенном плоском зеркале 6) или в выходную щель 8 (при введенном плоском зеркале 6).
Сканирование
(просмотр) спектра осуществляется
поворотом дифракционной решётки вокруг
оси на угол
при помощи винта 7, расположенного на
торцевой стенке монохроматора (рис.
2.1). Непосредственный отсчёт длин волн
в нанометрах выполняется при помощи
цифрового механического счетчика 8,
вмонтированного в корпус монохроматора.
Приёмником излучения служит фотоэлемент Ф25. На боковой стенке приёмника излучения имеется переключатель 9, регулирующий чувствительность приёмника излучения. Установка нуля производится рукояткой 10. Изменение ширины диафрагмы выполняется рукояткой 11.
С анодной нагрузки фотоэлемента сигнал после усиления подается на вход цифрового вольтметра В7-22А. Регистрация интенсивности излучения в относительных единицах осуществляется по шкале цифрового вольтметра.
Источник излучения 1 и приёмник излучения 3 подключаются к блоку питания 4. На лицевой панели блока питания имеется тумблер «СЕТЬ» 12, сигнальная лампа 13, тумблер «НАКАЛ – НЕДОКАЛ» 14, обеспечивающий работу источника излучения в двух режимах, гнездо 15 для подключения цифрового вольтметра 5 и тумблер 16 для включения фотоэлемента.
Кювета с раствором, спектр поглощения которого исследуется, устанавливается на специальный столик 6 во входном световом пучке перед монохроматором. Кювета крепится на столике двумя неподвижными упорами.

а)

б)
Рис. 2.1

Рис. 2.2
Включить в сеть вилку сетевого шнура источника питания.
Включить в сеть вилку сетевого шнура вольтметра.
На лицевой панели источника питания ВКЛЮЧИТЬ (рис. 2.1):
а) тумблер «СЕТЬ» 12 (верхнее положение). При должна загореться сигнальная лампочка 13,
б) тумблер «НАКАЛ – НЕДОКАЛ» 14 в положение «НЕДОКАЛ»,
в) тумблер «ФОТОЭЛЕМЕНТ» 16 (верхнее положение).
На лицевой панели вольтметра ВКЛЮЧИТЬ тумблер «СЕТЬ».
Поставить переключатель 9 на боковой стенке приёмника излучения 3 в позицию 4 (рис.2.1).
При помощи рукоятки 10 установить нуль по шкале цифрового вольтметра.
Открыть колпачок 18 приёмника излучения 3; перемещая приёмник вдоль направляющего рельса, привести его в контакт с входной трубкой монохроматора.
Винтом 7, связанным с цифровым механическим счётчиком длин волн выставить значение λ = 200 нм.
Измерения интенсивности проводить по шкале цифрового вольтметра В7-22А 17 (I 0 – интенсивность источника излучения) для различных длин волн λ. Измерения проводить в диапазоне длин волн λ = 200…800 нм (с интервалом 50 нм). Изменение длины волны осуществляется винтом 7.
Полученные значения I 0 для различных длин волн λ занести в таблицу 4.1 (см. ниже).
Установить кювету с исследуемым раствором на столик 6 во входном световом потоке перед монохроматором. Кювету закрепить двумя неподвижными упорами.
Измерять I – интенсивность излучения, прошедшего через раствор, по шкале цифрового вольтметра (в относительных единицах, вольтах) для различных длин волн в диапазоне λ = 200…800 нм с интервалом 50 нм.
Полученные значения I занести в таблицу 4.1.
Выключить тумблер «СЕТЬ» на лицевой панели вольтметра.
На лицевой панели источника питания ВЫКЛЮЧИТЬ:
тумблер «ФОТОЭЛЕМЕНТ» (нижнее положение),
тумблер «НАКАЛ – НЕДОКАЛ» (среднее положение),
тумблер «СЕТЬ» (нижнее положение).
Выключить из сети:
вилку сетевого шнура вольтметра,
вилку сетевого шнура источника питания
Результат занести в таблицу 4.1:
Таблица 4.1
|
|
I0, В |
I, В |
In, В |
|
|
|
|
|
Найти In
– интенсивность излучения, поглощённого
раствором; In=
I0 – I
для различных дин волн
.
Результаты занести в таблицу 4.1:
Построить кривые,
характеризующие спектр поглощения
исследуемых растворов. На графике по
оси абсцисс отложить значения длин
волн
,
по оси ординат – соответствующее
значение In.
Используя полученные кривые, объяснить цвет растворов.
Обратить внимание на то, что тонкая структура исследуемых спектров в данном эксперименте не разрешается.
Отчет должен содержать:
Цель работы.
Список приборов и оборудования с указанием точности используемого прибора.
Схему установки для изучения молекулярных спектров.
Схему энергетических уровней молекулы (рис. 2.1) и таблицу 4.1 с внесенными в нее экспериментальными результатами.
График, характеризующий спектр поглощения исследуемого раствора.
Объяснения цвета раствора с использованием построенного в п. 4 графика.
Выводы.
Как объяснить сложную структуру молекулярных спектров?
Какие дискретные значения может принимать колебательная и вращательная энергии молекулы?
Рассказать о схеме энергетических уровней молекулы.
Что представляет собой вращательная полоса? В результате каких переходов она возникает?
Чем определяется положение колебательной полосы? Почему она состоит из совокупности линий?
Все ли двухатомные молекулы могут обладать чисто колебательно-вращательными или вращательными полосами?
Поглощают
ли инфракрасные лучи газы азот
и кислород О2, входящие в состав
атмосферы? Поглощают ли пары воды
инфракрасные лучи?
Каким образом, используя вращательные спектры, определить момент инерции молекулы?
Можно ли
по молекулярным спектрам определить
собственную частоту колебаний
?
1. Савельев И.В. Курс общей физики [Текст]/ И.В. Савельев.– т. 3. – С.П.б: Изд-во «Лянь», 2006, 512 с.
2. Иродов И.Е. Квантовая физика. Основные законы [Текст]/ И.Е. Иродов.– М.: Лаборатория Базовых Знаний, 2001–256 с.