,
где
- холодопроизводительность установки, кВт;
- разность температур на входе и выходе,
(принимается 4
);
- теплоемкость воды,
;
- плотность воды,
;
;
;
Тогда
По величине подачи V и напору из каталога [1] выбираем три консольных центробежных насоса марки К 20/18.
Марка К 20/18
Подача,
20
Напор, м 18
Частота вращения,
2900
Мощность, кВт 1.45
КПД 0.67
Расчет теплообменника сводится к определению требующейся
поверхности нагрева [13]:
,
где
-тепловая нагрузка на теплообменник, кВт;
- коэффициент теплопередачи по наружной поверхности,
;
принимаем
;
-коэффициент запаса поверхности, учитывающий в основном наличие
масла в теплообменнике,
;
,
где
- количество циркулирующего хладагента,
;
- изменение энтальпии жидкости или пара в теплообменнике,

Расчет регенеративного теплообменника выполнен за один цикл, обслуживающий камеры с отрицательными температурами.
Выбираем регенеративный теплообменник
-32.
На теплоходе данного проекта применена воздушная система охлаждения провизионных камер с воздухоохладителями непосредственного охлаждения.
Подбор воздухоохладителя осуществляем по уже известной формуле наибольшей площади теплообменной поверхности.
Выбираем воздухоохладители марок ВОП 50 - без оттайки, и ВОП 50Э - с оттайкой.
Наибольшая площадь теплообменной поверхности,
50
Мощность, кВт
· при частоте вращения 1000
0.4
· при частоте вращения 1500
0.6
Расход воздуха,
· при частоте вращения 1000
2400
· при частоте вращения 1500
3400
Мощность электронагревателя, кВт 8.68
Масса, кг 340
Для обеспечения нормального воздухообмена в охлаждаемых камерах необходимо подобрать вентилятор, в соответствии с расходом воздуха подобранного нами воздухоохладителя подбираем из каталога [3] вентилятор марки К-95 тип ABE 042-4.
Подача,
0.333
Мощность, кВт 0.11
Автоматизация холодильной установки увеличивает производительность труда обслуживающего персонала, сокращает эксплуатационные расходы, вследствие уменьшения непроизводственного расхода электроэнергии, т.к. автоматизированная установка всегда работает в оптимальном режиме.
- приборы автоматического контроля, при помощи которых осуществляются измерения температуры и давления;
приборы автоматической защиты, прекращающие работу всей холодильной установки или отдельных ее элементов при опасных режимах контролируемой величины (давление, температуры, режима работы электродвигателей, компрессоров);
приборы автоматического управления, обеспечивающие включение (отключение) всей установки или ее элементов;
приборы автоматического регулирования, обеспечивающие поддержания заданного значения контролируемой величины или ее изменения по отдельной программе. Эти приборы часто выполняют фукнцию автоматического управления.
Назначение холодильной установки на судне заключается в поддержании с незначительными отклонениями постоянной температуры в провизионных камерах.
Автоматическое устройство обеспечивает значительные улучшения
работы холодильной установки. Они способствуют более точному поддержанию
температуры охлаждаемых объектов, сокращению эксплуатационных расходов,
увеличению сроков службы холодильной установки, надежную защиту ее от аварий.
Данная установка имеет автоматизацию, которая позволяет непрерывное обслуживание и контроль ее в процессе эксплуатации, при этом снижается трудоемкость обслуживания установки.
Система автоматизации данной установки обеспечивает управление, защиту, измерение основных величин и выдачу аварийного сигнала на пульт управления.
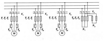
Основная задача установки - поддержание различных температур хранения в провизионных камерах. Каждая провизионная камера оборудована испарителем - воздухоохладителем, двигатель вентилятора которого управляется соответствующим магнитным пускателем, и вспомогательной аппаратурой управления. В установку также входит бессальниковый компрессор ПБ-14, водяной кожухотрубный конденсатор, водяной насос для охлаждения конденсатора и регенеративный теплообменник вместе с фильтром - осушителем.
В провизионных камерах различные температуры хранения продуктов. Поддержание заданной температуры в камерах производится включением и отключением соответствующего воздухоохладителя R1.
Включение и отключение воздухоохладителя может производиться прекращением подачи хладагента с одновременной остановкой вентилятора, либо с непрерывной его работой.
Автоматическое регулирование осуществляет реле температуры, чувствительные элементы которого размещены в камерах. Питание воздухоохладителя жидким хладагентом осуществляется терморегулирующими вентилями через соленоидные вентили К10, К14, К17 (см. рисунки 17, 18)
Термобаллон терморегулирующего вентиля расположен на всасывающем трубопроводе, с тем, чтобы улучшить регулирование подачи хладагента в испаритель воздухоохладителя.
Комплект защитных устройств включает блочное реле давление
всасывания и нагнетания, реле контроля смазки и тепловые реле
.
Автоматическая работа компрессора осуществляется по командам регулирующих камерных реле: компрессор пускается при замыкании контакта любого из этих реле и останавливается после размыкания контактов всех реле.
Воздействия от камерных реле температуры передаются к пускателю компрессора через комплект устройств автоматического управления. С помощью многополюсного переключателя компрессора может быть включен на автоматическую работу, пущен вручную, либо остановлен.
Компрессор имеет регулятор холодопроизводительности, он осуществляет регулирование на 100% и на 50%. Это выполняется следующим образом. Реле низкого давления при значительном снижении давления всасывания размыкает контакты соответствующего промежуточного реле, которое размыкает контакты соленоидного вентиля регулятора холодопроизводительности. Соленоидный вентиль выключает из работы один из двух цилиндров посредством соединения всасывающего и нагнетательного трубопроводов.
Включение установки на режим оттаивания производится термостатом
оттайки, отключение производит реле времени Е7.
Рисунок 16
Рисунок 17
В результате проведенных выше расчетов получим, что на судне необходимо установить три компрессорно-конденсаторных агрегата марки (компрессор ПБ14, конденсатор КТР12) и два консольных насоса К20/18 для обслуживания провизионных камер теплохода
Рассмотрим процесс монтажа компрессорно-конденсаторного агрегата:
1. Последовательность монтажа:
.1. Отрезать уголок неравнобокий по ГОСТу 8510-86 длиной 2 м, номер профиля 16/10.
.2. Ручной сваркой, электродами с тонкой обмазкой прихватить уголки.
.3. Проверить плоскость уголков, на которую устанавливается компрессор, на параллельность.
.4. Приварить уголки по всей длине в соответствии с ГОСТом 5264-80-т1
.5. Проверить отверстия под крепежные болты, предварительно разметить их.
.6. Закрепить компрессор тросами за проушины судовой талью.
.7. Установить компрессор на станину и закрепить.
.8. Соединить муфтой коленчатый вал компрессора с валом электродвигателя.
.9. Подсоединить все трубопроводы, шланги, автоматику и т.д.
. Меры безопасности при монтаже:
.1. Нельзя допускать к выполнению монтажных работ лиц, не сдавших техникума по эксплуатации и не прошедших инструктажа по технике безопасности.
.2. При монтаже компрессоров пользоваться только исправными тросами, обеспечивающими равномерное распределение нагрузки на проушины.
.3. При выполнении монтажных работ выполнить меры безопасности, изложенные в правилах по технике безопасности и производственной санитарии, а также типовых инструкций по технике безопасности по профессиям.
.4. При выполнении электросварочных работ электросварщик обязан надеть брезентовый костюм с огнестойкой пропиткой, ботинки с глухим верхом и головной убор и привести в порядок необходимые для работы средства индивидуальной защиты.
Прежде чем зажечь дугу электросварщик обязан предупредить об этом окружающих и привести в рабочее положение щиток или шлем.
Места для сварочных работ в радиусе 5 м должны быть очищены от стружек, палок, и других воспламеняющихся материалов.
Включать в электросеть и отключать от нее электросварочные
установки, а также производить ремонт имеют право только электромонтеры.
По статической нагрузке, приходящейся на амортизатор, подбираем амортизатор типа АКСС - амортизатор корабельный, сварной со страховкой по резине. Масса установленного агрегата 258 кг. Потребное количество амортизаторов 4.
Статическую нагрузку на каждый амортизатор находим по формуле
кг.
Исходя из этого принимаем амортизатор АКСС-65И с номинальной статической нагрузкой 65 кг.
Амортизатор типа АКСС состоит из скобы, несущей втулки и нижней полки, скрепленных между собой привуанизированным к ним резиновым массивом. Разрушение массива не повлечет за собой разрушения металлических деталей амортизатора и срыва агрегата с фундамента. Резина в амортизаторах должна выдерживать без разрушения и отслоения пятнадцатикратные нагрузки. Исходя из этого условия производится проверочный расчет амортизаторов.
Во время эксплуатации на амортизаторы действуют различные нагрузки: масса, силы инерции, вызванные бортовой качкой, торможением, столкновением и т.д.
Определим равнодействующую силы эксплуатационных нагрузок,
сдвигающих агрегат в плоскости крепления.
,
где
кН - статическая нагрузка;
- упорное и тяговое усилие, при установке в горизонтальной
плоскости
;
- инерционное усилие, возникающее при качке или деференте,
действующих в плоскости крепления, кН.
кН,
где Т=25 с - период качки;
х=3,2 м - расстояние от центра тяжести судна до центра тяжести агрегата.
кН.
Определим равнодействующую силу эксплуатационных нагрузок на
один амортизатор
кН.
Предельно допустимая нагрузка на амортизатор определяется по формуле:
кН.
Условие прочности
выполняется.
Для удобства монтажа и надежности крепления агрегатов, их устанавливаем на раму, изготовленную из ст. 3 ГОСТ 380-88. Глубина сверления принимается равной толщине листа S=20 мм.
Число отверстий, необходимых для крепления 4 амортизаторов i=8. Диаметр отверстии D=20.25 мм, так как крепление осуществляется болтами М20х60 ГОСТ 7798-80.
Допустимая скорость резания Vр,
,
где
- коэффициент, характеризующий материал
заготовки;
D - диаметр сверла;
Т=5,0 - стойкость сверла;
S=0,1 мм/об - подача при среднем усилии человека 300 Н;
m=0,2 - показатель относительной стойкости сверла;
zv=0,4 - показатель степени;
yv=0,7 - показатель степени;
Кv - поправочный коэффициент, характеризующий изменение условий резания, Кv=0,7.