Материал: Холодная штамповка метизов

Внимание! Если размещение файла нарушает Ваши авторские права, то обязательно сообщите нам

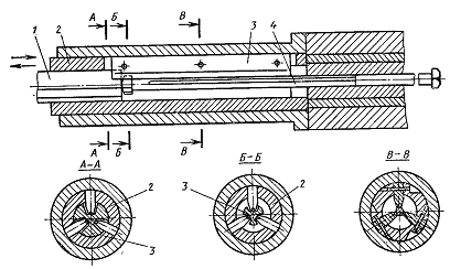
а - прямое выдавливание фаски; б - редуцирование стержня под накатку резьбы; в - набор металла в усеченный конус; г - образование шестигранника полузакрытой прошивкой

Во всех случаях участок болта для последующей накатки резьбы получают редуцированием. При массовом производстве накатку резьбы осуществляют на накатном устройстве. Фаску получают либо при штамповке, либо с помощью вращающихся резцовых головок, встраиваемых в автомат. Штамповка по первой схеме не связана с потерей металла, но удорожает штамповочный инструмент и обычно удлиняет технологический цикл штамповки. Использование второй схемы обеспечивает значительно более высокое качество; она особенно предпочтительна для крепежных деталей повышенного качества из сталей повышенной прочности.

Конструктивно-технологические требования к многопозиционным автоматам для холодной объемной штамповки коротких деталей сложной формы обусловлены особенностями расчета переходов:

минимизацией деформационного упрочнения заготовки, подаваемой на основные формоизменяющие операции;

последовательным по объемам формоизменением, чтобы объем металла, подвергаемого формоизменению, на последующей операции имел относительно небольшое упрочнение, что достигается применением высадки, прямого и обратного выдавливания, а также использованием на определенных этапах формоизменения кантовки заготовки;

оптимальным соотношением размеров заготовки и получаемой детали, необходимым дли четкого оформления граней, сочетаемым с кантовкой для четкого оформления других конструктивных элементов детали (фасок, торцов и др.);

регулированием кинематики течения металла в полости штампа путем оптимизации геометрии заготовки, подаваемой на позицию, и рабочих частей штампа на данной позиции.

При проектировании технологии штамповки на автоматах деталей сложной формы со значительным перепадом сечений, пониженной деформируемостью, склонностью металла к налипанию на инструмент особое внимание должно быть уделено штамповке в одной матрице (см. рис. 1, б и в).

При штамповке на прессах деталей сложной формы может применяться многопереходный процесс с возобновлением покрытия (фосфатированием и т. п.) и слоя смазочного материала, что при штамповке на многопозиционном автомате неосуществимо. При однопозиционной штамповке на прессах и особенно на автоматах при каждом выталкивании из предыдущей матрицы и штамповке в последующей матрице в заготовке накапливаются поверхностные дефекты и неравномерность поперечных размеров но длине, создается неравномерность изнашивания формоизменяющего инструмента. Неравномерное изнашивание формоизменяющего инструмента, особенно полостей матриц, приводит к необходимости смены не только данной матрицы, но и смены всего комплекта последующих матриц. Применение твердосплавных вставок позволяет сократить разность поперечных размеров полостей двух смежных матриц. Это связано с расходом дефицитных инструментальных материалов. При штамповке в несколько переходов, в том числе на многопозиционных автоматах, практически невозможно обеспечить точное позиционирование многогранника и других более сложных конструктивных элементов, полученных на предыдущей позиции с соответствующими по конфигурации полостями матрицы или пуансона на следующей позиции, если полость расположена на некотором удалении от плоскости разъема блока матриц и пуансонов.

Особое место в технологии холодной объемной штамповки занимает штамповка в одной матрице. Такой процесс осуществляют на однопозиционных (см. рис. 1, б - г) и на многопозиционных автоматах (см. рис. 2, б). Штамповка в одной матрице двумя или тремя пуансонами, т. е. на однопозиционном двух- или трехударном автомате, в основном применяется для получения деталей со значительным перепадом сечений на основе высадки. Первые один или два удара служат для набора металла в утолщение, а последний - для окончательного оформления головки детали. В матрице формоизменения не проводят, либо при первом ударе осуществляют редуцирование части стержня. Это позволяет расширить технологические возможности автомата, но резкий перепад сечения детали в результате высадки приводит к значительному градиенту деформации и структурного состояния, не исправляемого последующей термической обработкой, а соответственно - к снижению механических свойств деталей.

Сочетание многопозиционной штамповки (две - четыре матрицы) с многоударной (по два пуансона па части позиции или на всех позициях) значительно расширяет технологические возможности (увеличение сложности геометрической формы, снижение деформируемости исходных заготовок и уменьшение склонности металла к налипанию на инструмент, с одной стороны, и повышение точности размеров, снижение шероховатости поверхности, повышение механических свойств и качества штампуемых деталей в целом, с другой).

На многопозиционных автоматах могут быть применены осадка, высадка, редуцирование, прямое и обратное выдавливание, обрезка по заданному контуру, пробивка, гибка, вытяжка детали из плоской заготовки в др. Наибольший диаметр (поперечный размер) деталей 50 - 55 мм, наибольшая длина штампуемых деталей на автоматах 200 - 300 мм, на специализированных автоматах - до 400 - 500 мм. При полуавтоматической высадке предварительно нарезанных заготовок длина деталей может достигать 1500 - 2000 мм. На автоматах наиболее распространена холодная объемная штамповка деталей диаметром 3 - 22 мм.

Исходной заготовкой для штамповки на автоматах служат проволока, полученная волочением, и катанка, калиброванная волочением. Могут быть использованы также горячекатаные калиброванные прутки. Однако применение прутков значительно снижает эффективность штамповки на автомате (повышенное количество концевых отходов, частые переналадки, снижающие производительность и вредно отражающиеся на условиях эксплуатации автомата).


5ю ОСНОВНЫЕ ПАРАМЕТРЫ СХЕМЫ,ОСОБЕННОСТИКОНСТРУКЦИИИ РАБОТЫ АВТОМАТОВ ДЛЯ ХОЛОДНОЙ ОБЪЕМНОЙШТАМПОВКИ

Автоматы для холодной объемной штамповки выполняют однопозиционными, двухпозиционными и многопозиционными. Кроме того, их разделяют на универсальные, специализированные и специальные.

На универсальных автоматах может осуществляться штамповка деталей различной конфигурации и размеров в пределах технической характеристики автомата.

Специализированные автоматы предназначены для штамповки деталей одного наименования, но различных размеров в пределах технической характеристики данного автомата. Специализированными являются, например автоматы для высадки полупустотелых заклепок, шариков, роликов, гвоздильные, обрезные, для повторной высадки и др.

К специальным автоматам относятся те, которые предназначены для штамповки деталей одного наименования и только одного размера; автоматы такого рода применяют сравнительно редко.

.1 Многопозиционные автоматы для объемной штамповки стержневых и коротких деталей и комбайны для полного изготовления деталей

Более широкие технологические возможности многопозиционных автоматов по сравнению с однопозиционными обусловлены чередованием различных схем деформаций (высадки, прямого, обратного и комбинированного выдавливания, прошивки, обрезки по контуру, гибки, чеканки и т. п.), сконцентрированных в одном автомате.Если в однопозиционных автоматах можно изготовлять детали только простой формы с отношением длины высаживаемой части стержня к диаметру из заготовки диаметром не более диаметра стержня, то в многопозиционных автоматах это отношение увеличено до 7,5-10 и более; диаметр заготовки при этом на 15-30 % (а иногда и более) превышает диаметр стержня, что позволяет облегчить условия деформирования детали, снизить давление на инструмент по переходам и увеличить его стойкость.

На многопозиционных автоматах можно получать детали, равнопрочные по продольному сечению, и зачастую исключать необходимость дополнительной упрочняющей термической обработки для получения нужных прочностных свойств. В однопозиционных автоматах формообразование деталей осуществляется в одной матрице, значительно упрочняется только высаживаемое утолщение и практически исключается возможность управления упрочнением элементов штампуемой детали. Разница между прочностью головки и стержня детали составляет 300-350 МПа; в зоне перехода стержня в головку возникает значительное напряжение. После высадки на однопозиционных автоматах заготовки сложной конфигурации должны зачастую подвергаться повторной высадке, выдавливанию, обрезке и проходить термическую обработку.

Более высокая производительность этих автоматов достигается тем, что штампуемая заготовка проходит все стадии пластического формообразования в одной машине и за один ход ползуна. При этом обеспечивается высокая стабильность процесса, поскольку деталь, отштампованная на предыдущей позиции, сразу переносится к следующей позиции. При штамповке на многопозиционных автоматах увеличивается съем готовых деталей с 1  занимаемой площади, так как площадь, занимаемая одним многопозиционным автоматом, всегда меньше суммарной площади, занимаемой однопозиционным холодновысадочным, обрезным и резьбонакатным автоматами и связывающими их транспортными устройствами.

Многопозиционные автоматы выполняют с числом формообразующих позиций три, четыре, пять, а иногда и более. Трехпозиционные автоматы используются для штамповки как стержневых, так и коротких деталей. Автоматы трехпозиционные для стержневых деталей по кинематической схеме и конструктивным особенностям аналогичны четырехпозиционным автоматам традиционного исполнения.

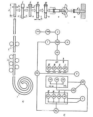
На рис. 5, а показана технологическая схема изготовления болта с граненой головкой на четырехпозиционном автомате-комбайне: размотка бунта 1 калиброванного материала, правка материала роликами 2, подача проволоки парой прерывисто вращающихся желобчатых роликов 3через отрезную матрицу до регулируемого упора (матрица и упор на схеме не показаны). Переходы при формообразовании: 4 - отрезка заготовки длиной , диаметром; 5 - первое редуцирование стержня до диаметрана позицииI; 6 - высадка цилиндрической головки диаметром Dна позиции II; 7 - второе редуцирование части стержня под накатку резьбы на позиции III до диаметра ; 8 - обрезка цилиндрической головки под квадрат или шестигранник;9 - подрезка торца стержня резцовой головкой с образованием фаски; 10 - накатка резьбы роликами.

Рисунок 5 - Технологическая схема изготовления болта с граненой головкой на четырехпозиционном автомате-комбайне (а) и структурная схема (б) четырехпозиционного автомата для холодной объемной штамповки стержневых деталей:

ЭМп - электродвигатель микропривода; РМп - редуктор микропривода; Э - главный электродвигатель; Т - тормоз; ПрВ - приемный вал привода автомата; М - муфта сцепления; КВ - коленчатый вал; ШП - штамповочный ползун с пуансонами; ВП - выталкиватели из пуансонов;  - первый горизонтальный распределительный вал; О - механизма отрезки;  - второй горизонтальный распределительный вал; П - механизма подачи; ВМ - выталкиватели из матриц;  - третий вертикальный распределительный вал;  - каретка переноса заготовок с позиции на позицию; -горизонтальный распределительный вал, от которого осуществляется открытие и закрытие переносящих пальцев (клещей)

Для холодной высадки деталей с длиной стержня более десяти диаметров и сравнительно сложной формой головки применяют главным образом четырехпозиционные автоматы.

Автомат А1020 этого технологического назначения имеет следующую техническую характеристику (табл. 1).

Таблица 1 - Техническая характеристика автомата А1020

Диаметр стержня штампуемой детали, мм:


наибольший

10

наименьший

8

Номинальная сила, кН

1600

Длина стержня, мм

80 - 200

Число ходов высадочного ползуна в минуту

30 - 40

Мощность электродвигателя главного привода, кВт

25

Ход высадочного ползуна, мм

320

Масса автомата, т

30

Габаритные размеры (длина-ширина-высота), мм

4600-2250-2915


Автомат можно использовать в составе автоматической линии, в которую кроме него могут войти автоматы для подрезки торца и фаски на конце стержня и резьбонакатный.



где d- наименьший диаметр подаваемого материала, мм;

 - осевая сила подачи, Н.

Рисунок 6 - Механизм подачи

Для повышения качества поверхности торца отрезаемой заготовки механизм отрезки автомата этой модели выполнен с прижимом прутка или проволоки в процессе отделения. Механизм отрезки работает следующим образом (рис. 7). Отрезной нож 6, закрепленный на рычаге 2, после окончания подачи материала до регулируемого упора перемещается влево для отрезки заготовки и переноса ее на первую (верхнюю) позицию штамповки в матричном блоке 1. Движение рычага 2 осуществляется от кулаков 18 и 19. При отрезке заготовки планка 5 прижимает материал к ножу 6 с помощью рычага 4, поворот которого осуществляется от эксцентрика 9 и ролика 8. Качание эксцентрика происходит от кулака 16 рычагами 10 и 15. Сила прижима рычага 15к кулаку 16 осуществляется пружиной 12 и регулируется гайкой и винтами 11 и 13 Пружина 7 оказывает давление па рычаг 15 через регулировочный винт 14.

Рисунок 7 - Механизм отрезки заготовки

После отрезки заготовки рычаг 4 отходит от ролика 8, и отрезанная заготовка удерживается на ноже с помощью пружины 17. После того как заготовка затолкнется в матрицу на некоторую величину, нож 6и планка 5 отходят от заготовки. Нож перемещается вправо от кулаков 18 и 19, а планка 5 - копиром 3 посредством пружины 7.

Сила выталкивания из цельных матриц при высадке стержневых деталей возрастает примерно до пятикратной длины. Поэтому основным требованием, предъявляемым к механизму выталкивания длинных стержневых деталей, является обеспечение хорошего направления выталкивающего стержня по всей длине, исключающего его продольный изгиб.

Выталкивающий стержень 4 в автомате (рис. 8) перемещается в призмах 3,собранных в обойме 2, толкателем 1.

Рисунок 8 - Механизм выталкивания заготовки из матрицы

Многопозиционные автоматы для холодной объемной штамповки коротких деталей принципиально имеют такое же конструктивное исполнение, что и автоматы для штамповки стержневых деталей. Имеющиеся отличия обусловлены особенностями осуществляемого на этих автоматах технологического процесса.

Привод автоматов, как правило, осуществляется от электродвигателя постоянного тока, что позволяет благодаря бесступенчатому регулированию числа ходов установить оптимальный режим работы при изготовлении коротких заготовок различной формы, размеров и с различными механическими свойствами материала.

На автоматах устанавливают блокировочное устройство механизма подачи с приводом от пневмоцилиндра. Оно позволяет включить и отключать подачу без остановки автомата и обеспечивает подачу механизмом только мерных заготовок. Привод механизма переноса обеспечивает точную установку заготовок при их перемещении на позиции штамповки.