Материал: Холодная штамповка метизов

Внимание! Если размещение файла нарушает Ваши авторские права, то обязательно сообщите нам

Холодная штамповка метизов

ОГЛАВЛЕНИЕ

ВВЕДЕНИЕ

. СОВРЕМЕННЫЕ МЕТОДЫ ОБРАБОТКИ МЕТИЗОВ

. ИСХОДНАЯ ЗАГОТОВКА ДЛЯ ХОЛОДНОЙ ШТАМПОВКИ МЕТИЗОВ

.1 Требования, предъявляемые к качеству металла

.2Подготовка металла к штамповке

. ХАРАКТЕРИСТИКИ ПРОЦЕССА ХОЛОДНОЙ ШТАМПОВКИ

. ПРИНЦИПИАЛЬНЫЕ СХЕМЫ ТЕХНОЛОГИЧЕСКИХ ПРОЦЕССОВ ПРИ ШТАМПОВКЕ НА ОДНО- И МНОГОПОЗИЦИОННЫХ АВТОМАТАХ

. ОСНОВНЫЕ ПАРАМЕТРЫ СХЕМЫ, ОСОБЕННОСТИ КОНСТРУКЦИИ И РАБОТЫ АВТОМАТОВ ДЛЯ ХОЛОДНОЙ ОБЪЕМНОЙ ШТАМПОВКИ

.1 Многопозиционные автоматы для объемной штамповки стержневых и коротких деталей и комбайны для полного изготовления деталей

ЗАКЛЮЧЕНИЕ

БИБЛИОГРАФИЧЕСКИЙ СПИСОК

ВВЕДЕНИЕ

Метизы - металлические изделия, стандартизованные металлические изделия разнообразной номенклатуры промышленного или широкого назначения. К метизам промышленного назначения условно относят стальную ленту холодного проката, стальную проволоку и изделия из неё (гвозди, канаты, сетка, автоплетёнка и металлокорд для шин, сварочные электроды), крепёжные детали (болты, гайки, шпильки, винты, шурупы, дюбеля, пружинные шайбы, разводные шплинты), заклёпки, железнодорожные костыли, телеграфные и телефонные крючья и др. К метизам широкого назначения относят стальные помольные шары для мельниц, железные вилы, подойники, поперечные, продольные, рамные, круглые пилы, ножи различных видов и др.

Более узко термин метизы рассматривают как - резьбовой крепеж.

Используются металлические изделия буквально во всех отраслях промышленности - от строительства до машиностроения. Основу рынка составляют проволока, гвозди и канаты. В целом же метизное производство - это сотни наименований и типоразмеров изделий[1].

Потребность в крепежных изделиях составляет 1,1 - 1,2% от выплавки стали[2].Среди крепежных изделий наибольший процент составляют резьбовые (до 60% номенклатуры деталей машин). Чаше всего применяют резьбовые соединения типа болт - гайка.

Крепежные изделия изготовляются холодной и горячей штамповкой, а также точением. Применение различных методов изготовления обусловлено техническими возможностями оборудования, свойствами исходного материала, конструкцией и требуемыми механическими свойствами готовых изделий.

Холодной штамповкой изготовляются 87% крепежных изделий, горячей штамповкой 9% и только 4% точением.

Распространение процесса холодной штамповки обусловлено его высокой экономичностью. При этом способе значительно сокращаются отходы металла (коэффициент использования металла 95 - 98% вместо 30 - 50% при обработке резанием), снижается трудоемкость изготовления метизов и увеличивается их прочность.

. СОВРЕМЕННЫЕ МЕТОДЫ ОБРАБОТКИ МЕТИЗОВ

Высокие темпы развития мирового и российского машиностроения непрерывно связаны с внедрением в производство новых прогрессивных методов обработки металлов. Одним из путей развития прогрессивной технологии машиностроения является переход на обработку металлов давлением в холодном состоянии вместо обработки резанием. Применение этого метода обработки приводит к значительному повышению производительности труда, повышению точности, улучшению механических свойств и чистоты поверхности обрабатываемых деталей и создает предпосылки для комплексной автоматизации.

Почти все современные машины и двигатели включают в себя ответственные резьбовые и шлицевые детали, условия, работы которых требуют обеспечения высокой точности и повышения механических свойств резьбы и шлицев. В качестве примера можно назвать силовые шпильки и анкерные связи дизель-моторов, крупные шпильки паровых, газовых и гидравлических турбин, шлицевые валы автомобилей и так далее, которые изготавливаются в больших количествах из высоколегированных термически обработанных сталей. Образование резьбы на таких деталях резанием довольно сложно, трудоемко и не обеспечивает необходимых физико-механических свойств. Поэтому более эффективной является обработка резьбы и шлицев по методу холодной пластической деформации - накатыванием[3].

2. ИСХОДНАЯ ЗАГОТОВКА ДЛЯ ХОЛОДНОЙ ШТАМПОВКИ МЕТИЗОВ

.1 Требования, предъявляемые к качеству металла

холодный штамповка метиз

Стабильность технологического процесса штамповки и качество штампуемых метизов во многом определяются качеством исходного металла.

Холодная объемная штамповка предъявляет специфические требования к исходному металлу. Материал, применяемый для холодной объемной штамповки, должен обладать высокой пластичностью, иметь равномерные механические свойства и химический состав и не иметь поверхностных и внутренних дефектов.

Деформируемость металла в холодном состоянии, т. е. его способность претерпевать пластическое формоизменение без разрушения, зависит от многих факторов: качества поверхности заготовки; химического состава; структуры; механических свойств и технологических параметров процесса штамповки.

Дефекты поверхности металла заготовки являются одной из основных причин возникновения надрывов и трещин при холодной объемной штамповке. Они могут образовываться на разных стадиях переработки металла, начиная от разливки стали и кончая калибровкой перед высадкой.

Установлено, что дефекты (волосовины, риски, плены и др.) глубиной 0,05 мм и более при высадке с большими степенями деформации раскрываются, образуя трещины.

Для снижения брака при холодном прессовании необходимо удалять дефекты с поверхности обрабатываемого металла. Поэтому поверхность слитков перед прокаткой необходимо зачищать.

При нагреве слитков перед прокаткой необходимо добиваться наименьшего обезуглероживания. На обезуглероженной поверхности вследствие ее пониженной твердости при прокатке образуются более глубокие риски и царапины.

Количество дефектов, образующихся при прокатке, зависит также от степени износа валков.

Поверхностные дефекты могут образоваться при калибровке металла перед штамповкой. К таким дефектам относятся риски и царапины. Устранению этих дефектов способствуют: качественное травление (при неудовлетворительном травлении на металле остаются частицы окалины, способствующие образованию рисок и царапин на волочильном инструменте и металле); применение волок с правильной геометрией рабочего канала; применение качественной смазки при калибровке.

Структура исходного металла играет важную роль при холодной объемной штамповке. Макроструктура стали, применяемой для холодной штамповки, должна характеризоваться полной однородностью, отсутствием усадочной раковины, расслоений, неметаллических включений, пористости, пузырей, трещин и т. д.

Особенное влияние на штампуемость оказывают неметаллические включения и ликвационная зона - дефекты, встречающиеся наиболее часто.

На процесс холодной объемной штамповки оказывает влияние величина зерен металла. При очень мелком зерне увеличивается сопротивление деформации; крупное зерно сообщает стали хрупкость.

Механические свойства заготовки, предназначенной для холодной штамповки, должны обеспечивать ее необходимую деформируемость.

.2 Подготовка металла к штамповке

Металл, предназначенный для штамповки, должен иметь чистую и блестящую поверхность, свободную от окалины, жировых и других загрязнений, и содержать прочно удерживаемую на поверхности технологическую смазку.

Подготовка поверхности заготовки включает операции: очистку поверхности от окалины, жировых и других загрязнений; нанесение подсмазочного слоя (носителя смазки); нанесение технологической смазки.

Прокат или термически обработанный металл имеет на поверхности окисную пленку - окалину, которая должна быть удалена для предупреждения преждевременного износа технологического инструмента и получения чистой и точной заготовки. Основным способом удаления окалины с заготовок, предназначенных для холодной штамповки метизов, является травление.

Травление углеродистых сталей производят главным образом в растворе, содержащем 8 - 20% серной кислоты, при температуре 50 - 80°С и течение 10 - 120 мин, или в концентрированной соляной кислоте при 20 - 30° С в течение 5 - 30 мин. Продолжительность травления зависит от марки стали, диаметра и состояния поставки (прутки, бунты) металла и концентрации раствора.

После травления для удаления травильного шлама и кислоты металл промывают в горячей и холодной воде. Промывка стальных заготовок в горячей воде производится при температуре 50 - 70°С в течение 1 - 2 мин, холодная промывка осуществляется водой под давлением 5 - 7 ат. в течение 1 - 2 мин.

Для нейтрализации остатков серной кислоты и уменьшения коэффициента трения при калибровке и холодной штамповке металл подвергается известкованию в растворе, содержащем 3 - 5% извести (СаО), при температуре 100°С (2 - 3 погружения).

Для повышения надежности сцепления смазки с деформируемым металлом заготовку целесообразно покрывать подсмазочным слоем. Подсмазочное покрытие способствует снижению трения при штамповке и повышает стойкость штампового инструмента. Особенно эффективно применение подсмазочного слоя при штамповке болтов с редуцированием стержня.

Положительные результаты при штамповке трудно-деформируемых сталей дают лаковые покрытия и обработка в растворе щавелевой кислоты (оксалатирование).

На калиброванный металл перед штамповкой или в процессе штамповки наносится технологическая смазка. В качестве смазки часто используется мыльная эмульсия.

3. ХАРАКТЕРИСТИКИ ПРОЦЕССА ХОЛОДНОЙ ШТАМПОВКИ

Холодной пластической деформацией в практике штамповочного производства называют процесс, протекающий без принудительного нагрева металла[4].

В процессе деформации происходит механическое упрочнение (наклеп), повышаются твердость деформируемого металла, пределы прочности и текучести и снижаются относительное удлинение и сужение.

Процесс деформации сопровождается нагревом металла и инструмента, температура которых может достигать 300°С.

При холодной объемной штамповке всей заготовке придается заданная форма и размеры путем заполнения материалом рабочей полости штампов. Высадка, в отличие от штамповки, заключается в осадке части заготовки между подвижным (пуансоном) и неподвижным (матрицей) инструментом.

Основными достоинствами холодной штамповки являются высокая производительность, точность размеров и чистота поверхности изделий, повышенная прочность штампуемых деталей, низкий расход металла, широкий диапазон изготовляемых типоразмеров.

Основной недостаток холодной деформации - снижение пластичности металла вследствие наклепа и соответственно повышение опасности хрупкого разрушения метизов при эксплуатации.

4. ПРИНЦИПИАЛЬНЫЕ СХЕМЫ ТЕХНОЛОГИЧЕСКИХ ПРОЦЕССОВ ПРИ ШТАМПВОКЕ НА ОДНО- И МНОГОПОЗИЦИОННЫХ АВТОМАТАХ

В промышленности применяют две основные схемы технологических процессов [5].

Процесс производства деталей по первой схеме состоит из четырех основных этапов:

) разделка проката на мерные заготовки;

) разупрочняющая термическая обработка заготовок;

) подготовка поверхности заготовок;

) штамповка.

Штамповка при первой схеме осуществляется, как правило, на вертикальных прессах с установкой одно- или многопозиционного штампа.

Процесс производства деталей по второй схеме состоит из трех основных этапов:

) разупрочняющая термическая обработка проката;

) подготовка поверхности проката;

) штамповка.

Штамповка при второй схеме проводится на одно- или многопозиционных автоматах, на которых прокат подвергают правке и подают на позицию отрезки, а затем мерную заготовку передают на штамповку.

В зависимости от конкретных условий производства (объема выпуска, размеров и сложности формы детали, деформируемости заготовок) схемы можно упрощать и усложнять, совмещать и применять последовательно.

Однопозиционные автоматы, совмещающие отрезку и одну штамповочную позицию, применяют для получения деталей простой формы, какправило высадкой, а также для получения калиброванных или калиброванных и фасонированных заготовок для последующей одно- или многопозиционной штамповки на прессах.

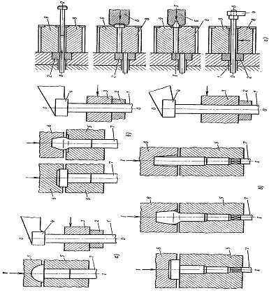
Однопозиционные автоматы применяют с цельной (рис. 1, а - в) и с разъемной матрицами (рис. 1, г). На автоматах с цельной матрицей осуществляют высадку и прямое выдавливание. Одновременно с высадкой можно проводить однократное редуцирование части стержня (в основном под накатывание резьбы), образовывать фаски, выемки и т. п. На автоматах с разъемной матрицей можно также осуществлять операции плющения и гибки стержня заготовки.

Рисунок 1 - Принципиальные схемы холодной объемной штамповки на однопозиционных автоматах:

а - одноударная высадка в цельной матрице; б - двухударная высадка в цельной матрице; в - трехударная высадка в цельной матрице; г - двухударная высадка разъемной матрице: 1 - прокат; 2 - отрезная матрица; 3 - нож; 4 - упор; 5 - цельные матрицы; 6 - пуансоны; 7 - выталкиватели; 8 и 9 - разъемные матрицы; 0 - 0 линия подачи; I - I линия штамповки

Многопозиционные     автоматы(рис. 2, а) имеют несколько штамповочных позиций (обычно три - пять). Автоматы применяют для производства деталей относительно сложной формы.

Рисунок 2 - Принципиальные схемы холодной объемной штамповки на многопозиционных автоматах:

а - многопозиционная одноударная штамповка (на каждой позиции имеется одна матрица и один пуансон); б - многопозиционная двухударная штамповка (на второй позиции штамповка проводится в одной матрице последовательно двумя пуансонами)

Целесообразно не сокращать число операций формоизменения, а разделять процесс формоизменения на несколько операций как по сечению, так и последовательно по объему заготовки, чтобы улучшить условия работы инструмента. Конструкция заготовки после каждой формоизменяющей операции должна обеспечить надежность ее захвата механизмом переноса и подачи на следующую позицию.

К наиболее распространенным деталям, получаемым холодной объемной штамповкой на многопозиционных автоматах, относятся детали, конструктивным элементом которых является многогранник - болты, стандартные гайки простой формы и гайки специального назначения (накидные, крепления колес грузовых автомобилей и др.). Штамповка таких деталей при серийном и массовом производстве осуществляется на многопозиционных автоматах при размере многогранника «под ключ»S до 25 - 30 мм.

При производстве болтов многогранную головку получают:

) открытой высадкой круглого фланца с последующей обрезкой граней (рис. 3);

) образованием многогранной головки, совмещаемым с образованием полости;

) набором металла в усеченный конус и образованием многогранной головки штамповкой. Вторую и третью схему иногда совмещают (рис. 4).

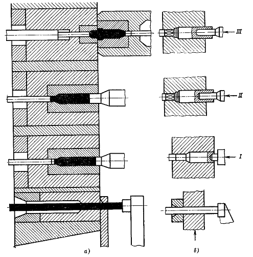
Рисунок 3 - Переходы и наладка рабочего инструмента при штамповке болта с образованием граней обрезкой на четырехпозиционным автомате с устройствами для подрезки торца и накатки резьбы:

а - первая позиция: набор металла в головку высадкой; б - вторая позиция: высадка головки; в - третья позиция: редуцирование стержня под накатку резьбы; г - четвертая позиция: образование граней обрезкой; д - снятие фаски и подрезка торца; е - накатка резьбы

Рисунок 4 - Переходы и наладка рабочего инструмента при штамповке болта с формообразованием головки: