Материал: Глава 15

Внимание! Если размещение файла нарушает Ваши авторские права, то обязательно сообщите нам

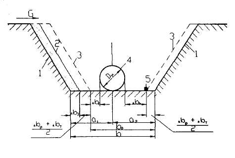
15.3.2. Расчетная ширина подводной траншеи

Проектный профиль траншеи принимают в виде трапеции. Расчетная ширина подводной траншеи по дну определяют в соответствии со схемой (рис.15.1) из выражения (15.1)

b = Dн + Δbк + Δbв + Δbр + Δbт + Δbз, (15.1)

где Dн - наружный диаметр конструкции трубопровода с защитным и балластным покрытиями;

Δbк - расстояние от боковой поверхности трубопровода до кабеля связи, укладываемого в общую с трубопроводом траншею, принимаемое не менее 0,5м;

Δbв - расстояние от подошвы откоса до боковой поверхности трубопровода, учитывающее работы по водолазному обследованию трубопровода после его укладки, принимаемое равным 0,7 м;

Δbр - запас, учитывающий допускаемые отклонения по ширине траншеи (с двух сторон) в процессе ее разработки;

Δbт - запас, учитывающий допустимые отклонения по ширине траншеи (с двух сторон) в процессе ее разработки дноуглубительной машиной, м;

Δbз - расчетный запас на заносимость траншеи за время ее разработки и последующей укладки трубопровода.

Рис. 15.1. Схема определения ширины траншеи по дну:

a1 - расстояние от проектной оси до подошвы верхового откоса траншеи; a2 -расстояние от проектной оси до подошвы низового откоса траншеи; b0 - ширина траншеи по дну без учета заносимости; 1 - проектный профиль траншеи с учетом заносимости; 2 - границы траншеи без учета заносимости; 3 - границы конструктивной ширины траншеи; 4 - трубопровод; 5 - кабель связи; 6 - направление течения.

Величина Δbр при работе земснарядов и гидроэжекторных установок с учётом силы ветра до 4 баллов и скорости течения до 0,75 м/с составляет:

Тип земснаряда

Δbр

ДГС

УПГЭУ, ТЗР-12

1,2 1,6

Для землесосных снарядов других типов Δbр принимают согласно СНиП 3.02.01-87 "Земляные сооружения, основания и фундаменты".

При разработке подводных траншей канатно-скреперными установками величину Δbр принимают:

Дальность скреперования, м

Δbр, м

До 50

До 100

До 150

0,5 1,0 1,5

Промежуточное значение Δbр определяется интерполяцией. Величина запаса Δbт, учитывающего отклонение продольной оси уложенного трубопровода от оси створа перехода, определяется двумя основными факторами: отклонением трубной плети от прямолинейности в процессе ее монтажа и сварки, смещением оси трубопроводов в процессе его укладки.

Отклонения от прямолинейности при монтаже плетей обусловлены нормативными отклонениями, допускаемыми при изготовлении труб, а также при их монтаже и сварке в плети. Эти отклонения носят случайный характер и регламентируются допусками на кривизну труб, перпендикулярность ее торцов к продольной оси, допусками на смещение кромок и неравномерность зазора в стыках.

Величина Δbт при укладке трубопровода способом протаскивания по дну равна:

а) для переходов через водные преграды, шириной L (при среднем рабочем уровне воды) не менее 1000 м

Δbт = 0,005 L; (15.2)

б) для переходов через водные преграды, шириной L более 1000 м на среднем участке длиной до 1000 м

Δbт = 0,0045 L, (15.3)

где L - ширина водной преграды, м;

При укладке трубопровода способом свободного погружения или с плавучих средств Δbт определяется проектом с учетом принятой технологии работ и гидрологических условий.

При разработке траншеи в скальных породах, учитывая высокую трудоемкость работ и стоимость, величину Δbт рекомендуется принимать минимальной с учетом только допустимых отклонений оси трубной плети в процессе ее монтажа, Δbт = 2 Δт (табл. 15.2).

Таблица 15.2 Допустимые отклонения оси трубопровода

Диаметр трубопроводов, мм

Возможные отклонения оси от прямолинейности

± Δт (м) при длине плетей (м)

200

500

900

1300

1800

300-500 700-800 1000-1200

0,22

0,25 0,29

0,36 0,40 0,45

0,48 0,54 0,60

0,57 0,65

0,72

0,68 0,75 0,85

Расчет запасов на заносимость подводных траншей рекомендуются для участков равнинных рек, дно которых сложено мелкозернистыми и среднезернистыми песками, при естественном, близком к установившемуся режиме руслового потока. Для других условий заносимость траншей определяют на основе данных, полученных при устройстве опытных траншей, или на основе лабораторного моделирования.

Запас ширины траншеи на заносимость донными наносами Δbз учитывают только на русловых участках перехода, где значения средней скорости течения на измеренных вертикалях составляет не менее 0,5 м/с. Для этих участков величину Δbз определяют по зависимости:

Δbз = gн t / h, (15.4)

где gн - средняя интенсивность отложения донных наносов в траншее на 1 м длины фронта при среднем рабочем уровне воды, м3/сут.

h - глубина траншеи, м.

t - продолжительность занесения готовой траншеи, определяемая в проекте организации строительства, сут.

Для мелкозернистых и среднезернистых песков:

gн = 16 v5 / Н, (15.5)

где v - средняя скорость, м/с;

Н - глубина потока на расчетном отрезке ширины русла, м.

Необходимость увеличения ширины траншеи при волновых воздействиях в мелководной зоне больших рек и водоемов устанавливается проектом по данным инженерных изысканий.

В первую очередь разрабатывается участок траншеи с большой интенсивностью отложения насосов, во вторую очередь - с меньшей интенсивность отложения насосов. Интенсивность отложения насосов в траншеи на 1 м ее длины определяется по графику (рис.15.2).

На русловых участках со средними скоростями течения на вертикалях меньше 0,5 м/с заносимость траншей не учитывается. При больших скоростях потока учитывается интенсивность перемещения донных отложений qт3/сут.м) в зависимости от глубины и скорости потока .

Рис. 15.2. Графики интенсивности отложения наносов в траншее qт, в зависимости от средней (по вертикали) скорости потока V при аср< 0,4 мм, для различных глубин потока (Н):

1 - Н=2м; 2 - Н=4 м; 3 - Н=6 м; 4 - Н=8 м; 5-Н=10м; 6 -Н=12 м; 7 -Н=14 м.

Суточная эксплуатационная производительность машин, применяемых для разработки подводных траншей в условиях интенсивной зависимости, должна не менее чем в два раза превышать расчетный суточный объем насосов, откладывающихся в траншее по всему ее фронту.

Запас на зависимость следует смещать относительно проектной оси траншей в сторону ее верхового откоса.

В проекте на поперечном профиле траншеи должны быть указаны расстояния от проектной оси до боковых границ дна траншеи (а1 и а2) (см. рис. 15.1). При разработке траншеи боковые створы должны быть обозначены вехами.

Поперечный профиль подводных траншей на мелководных и прибрежных участках, глубины которых с учетом возможных колебаний уровня воды менее осадки корпуса выбранного земснаряда, делают двухступенчатым.

Ширина траншеи по дну (по верхней ступени) для одночерпаковых земснарядов назначается шире корпуса земснаряда не менее, чем на 2 м, а при использовании грунтоотводных средств ширину траншеи по дну дополнительно увеличивают на ширину корпуса шаланды, либо грузового судна, применяемого для вывоза грунта к месту отведенного отвала. Грунт на верхней ступени траншеи разрабатывают до отметки, обеспечивающей запас под днищем судна не менее 0,3 м при минимально возможном суточном уровне воды. На нижней ступени траншеи ширину по дну назначают расчетной.

Рабочий профиль подводной траншеи в отличие от проектного профиля назначают с учетом ступенчатого изменения глубин по оси перехода, багермейстерского запаса, а также крутизны откосов, устанавливающихся в процессе разработки траншей. При разработке траншей мощными землесосными снарядами на полную глубину за один проход крутизна откосов, образующихся при разработке траншей в рыхлых грунтах, может существенно превышать крутизну установившихся откосов, указанных в проекте в соответствии с требованиями СНиП на строительство трубопроводы. Учитывая последующее оборудование откосов для указанных условий ширину по дну рабочего профиля траншеи принимают несколько больше проектной на величину:

Δb = 2h(mmм), (15.6)

где h - глубина траншеи, м;

т - коэффициент заложения откоса по проекту;

тм - коэффициент заложения мгновенного откоса, определяемый в зависимости от линейной скорости перемещения земснаряда по створу на основе опытных данных.

В связных грунтах, а также в рыхлых при небольшой скорости перемещения земснаряда или послойной разработке траншеи, откосы и ширину траншей по дну принимают в соответствии с проектом.

Если расчетная ширина траншеи по дну по формуле (15.6) меньше минимально возможной для принятого проектом земснаряда, то проектная ширина траншеи должна быть не менее

b = bзем.мин. + Δbр , (15.7)

где bзем.мин. - минимальная ширина траншеи по дну, определяемая конструктивными особенностями и технологией работы выбранного земснаряда (например, шириной грунтозаборного органа) и принятой технологией разработки траншеи, м;

Δbр - величина, равная сумме двух допустимых отклонений земснаряда на кромках дна траншеи. Назначается согласно СНиП 3.02.01-87.

В скальных или других грунтах, требующих предварительного рыхления взрывным способом, ширина траншеи по дну должна быть согласована со строительной организацией с учетом имеющихся у нее технических средств.

Ширина подводных траншей на мелководных участках, глубина которых с учетом возможных колебаний уровня воды меньше осадки судна (с запасом под днищем), принимается с учетом ширины и осадки судна и обеспечивать необходимые глубины в границах рабочих перемещений снарядов (или грунтовозных шаланд).

В проекте организации строительства должны быть предусмотрены специальные мероприятия, гарантирующие точную укладку тягового троса по оси траншеи и необходимый контроль в процессе протаскивания трубопровода на участке русла, сложенном скальными породами.

Расширение траншеи в скальных породах против расчетного значения может быть обосновано лишь при разработке береговых участков с глубиной меньше осадки корпуса земснаряда и обслуживающих судов, а также по всей длине в случаях использования земснарядов со свайным ходом, когда закапывание боковых свай вблизи верхних бровок траншеи или на боковых откосах вызывает сползание по откосам откалываемого сваями грунта на кромки бровок дна траншеи.

Крутизна откосов подводных траншей при ширине водной преграды более 30 м или глубине более 1,5 м (при среднем рабочем уровне воды) с учетом безопасных условий производства водолазных работ принимается по табл. 15.3.

Таблица 15.3. Крутизна откосов подводных траншей

Наименование и характеристика грунтов

Крутизна откосов подводных

траншей при глубине траншеи, м

Пески пылеватые и мелкие

1:2,5

1 :3

Пески средней крупности

1:2

1 :2,5

Пески неоднородного зернового состава

1:1,8

1:2,3

Пески крупные

1:1,5

1:1,8

Гравийные и галечниковые

1:1

1:1,5

Супеси

1:1,5

1:2

Суглинки

1:1

1:1,5

Глины

1:0,5

1:1

Предварительно разрыхленный скальный грунт

1:0,5

1:1

Заторфованные грунты и илы

По проекту

Длина подводной траншеи, для которой крутизна откосов принимается по табл. 15.1, равна ширине русла водной преграды плюс длина разрабатываемых урезных участков водной преграды.

Наибольшая крутизна откосов обводненных береговых траншей следует принимать по таблице 15.4.

Засыпку подводных траншей чаще всего производят намывом грунта при торцевом сбросе пульпы эжекторным, либо землесосным земснарядом на поверхность водоема и реже свободным сбросом грунта через днище разгружаемой шаланды; опорожнением грейфера в воду при разгрузке различных барж грейферным краном; сталкиванием грунта в воду бульдозером при разгрузке барж-площадок.

Таблица 15.4. Крутизна откосов обводненных береговых траншей.

Наименование и характеристика грунтов

Крутизна откосов обводненных берего-вых траншей при глубине траншеи, м

Пески мелкие

1: 1,50

1 :2

Пески средней зернистости и крупные

1 : 1,25

1 : 1,5

Суглинки

1 : 0,67

1 : 1,25

Гравийные и галечниковые

1 : 0,75

1 : 1

Глины

1 :0,50

1 : 0,75

Предварительно разрыхленный скальный грунт

1 : 0,25

1 : 0,25

Примечание. Крутизна откосов дана с учетом грунтовых вод.

Подводные траншеи с уложенным трубопроводом засыпают местным грунтом, если в проекте перехода не предусмотрены особые условия для засыпки траншеи другими материалами.

Способ засыпки траншей выбирают в зависимости от производства работ в зимний или летний периоды, ширины траншеи, глубины воды, скоростей течения и объемов работ. В зимний период допускается засыпка траншей самосвалами при достаточной прочности льда.

Обратная засыпка построенного перехода производится до черных отметок по всей ширине подводной траншеи.

После окончания засыпки производится планировка и рекультивация строительной площадки.