Материал: Железобетонные конструкции

Внимание! Если размещение файла нарушает Ваши авторские права, то обязательно сообщите нам

где а = lc -  = 200 -  = 146,5мм

Конструктивная высота сечения h = ho + 30мм = 248,3 + 30 = 278,3мм

Принимаем h = 300мм

Угол наклона сжатой грани γ = 450

Высота свободного конца консоли h1 = h - lc = 300 - 200 = 100мм при этом h1 ≥ = = 100мм

3.5 Расчёт армирования консоли


Площадь сечения арматуры, воспринимающей изгибающий момент в сечении консоли по грани колонны:

M = 1,25Qa = 1,25∙282,44∙14,65 = 5,17кНм

аm = == 0,115; ζ = 0,94

As = == 5,58 см2

По приложению 5 МУ принимаем:

Арматура 2Ø20 A400 с As=6,28 см2

Так как h = 30см < 2a = 36,63см, поперечное армирование коротких консолей выполняем хомутами, наклонными под углом 450, по всей высоте консоли.

Шаг хомутов (s) должен быть не более ==7,5см; принимаем s=5см

Площадь сечения наклонных хомутов одного направления должна быть не менее 0,004bcho = 0,004∙35∙27 = 3,78см2

Принимаем 7Ø10 A400 с As=5,5 см2

3.6 Прочность консоли по наклонной сжатой полосе

Проверяем условие:

Q ≤ 0,8(1+5αμw1)Rbγb2 ∙ bc(l1 - 50мм)sin2Θ, где

α =  =  = 6,45

μw1 =  =  = 0,0314

sin2Θ =  =  = 0,65

0,8(1+5∙6,45∙0,0314)19,5∙0,9∙350(107 - 50)0,65 = 688кН= 282,44 кН < 688кН

Правая часть условия принимается не более 3,5Rbtbcho

,5∙0,9∙350∙270 = 387кН

Прочность консоли обеспечена

.7 Расчёт стыка колонн

Рассчитываем стык колонн между первым и вторым этажом. Колонны стыкуют сваркой стальных листов, между которыми устанавливается при монтаже центрирующая прокладка толщиной 5мм. Расчётное усилие в стыке принимаем по усилиям второго этажа: Nст = 1918,38кН.

Длительная расчётная нагрузка:=((3,56∙43,2+8,4∙43,2+0,6∙0,2∙25∙7,2∙1,1)∙3+0,4∙0,4∙13,25∙1,1)∙0,95=1696,76кН

Полная расчётная нагрузка: ст=N2+1,8∙43,2∙3∙0,95=1918,38кН

Концы колонны усиливают сварными сетками косвенного армирования, т.к. продольная арматура колонн в зоне стыка обрывается.

По конструктивным соображениям у торцов колонны устанавливают не менее 4 шт. сеток на длине не менее 10d,

где d - диаметр продольных рабочих стержней.

Находим коэффициент косвенного армирования

μs,xy =

Где  - соответственно количество стержней, площадь сечения и длина стержня вдоль осей x и y (т.е. в продольном и поперечном направлениях).

Определяем шаг и сечение сварных сеток в торце колонны под центрирующей прокладкой.

При размерах сечения hк(bк) шаг сеток должен удовлетворять соотношению

60мм ≤ s ≤ hк ≤ 150мм

При hк =350мм шаг (60 ≤ s ≤ 350 =117мм)

Учитывая, что 10d = 220мм (d=22мм), принимаем s = 60мм

Размер ячеек сетки принимаем из соотношения:

45мм ≤ а ≤ hк ≤ 100мм

При hк = 350мм (45 ≤ а ≤ 350 = 87,5мм), принимаем а = 80мм

Назначаем предварительно сетки из стержней Ø6 A400 с As = 28,3 мм2, размер стороны ячейки а =80мм, количество стержней в сетке n =4; шаг сеток s=60мм, длина стержня (считая выступы по 10мм)равна lx = ly =330мм, при этом Aef = 3102 = 96100мм2 - внутри контура сеток

Находим коэффициент косвенного армирования:

μs,xy = == 7,22∙10-3

Коэффициент эффективности косвенного армирования φ=

где φ=== 0,09→ϕ = == 48,3

Приведённая призменная прочность бетона:

Rb,red = Rb+ϕ ∙ μs,xy ∙ Rs = 19,5+48,3 ∙ 7,22∙10-3 ∙ 375 = 150,3МПа = 15,03кН/см2

Площадь сечения смятия площадки(пластинки) определяется из условия прочности на смятие:

Nст ≤ Rb,red ∙ A→A = = = 127,6см2

Для квадратной пластинки bпл =  = = 11,3см

Принимаем пластинку 12 х 12 х 0,5см, А = 122 = 144см2ст = 1918,38кН ˂ 15,03 ∙ 144 = 2164,32кН

Условие соблюдается, прочность торца колонны достаточна.



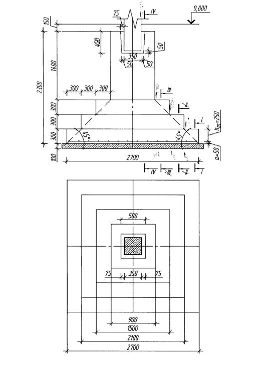
4. Отдельный фундамент под колонну

Характеристики бетона арматуры и основания(грунта)

Бетон тяжёлый класса В15, расчётные сопротивления: при сжатии Rb=8,5МПа, при растяжении Rbt=0,75МПа; модуль упругости Eb=20500 МПа.

Арматура подошвы фундамента и продольная арматура подколонника А300

Расчётное сопротивление Rs=280 МПа, модуль упругости Es=210000 МПа

Поперечная арматура подколонника - А240

Расчётное давление на грунт основания(Ro) - 0,25Мпа

Минимальная глубина заложения фундамента - 2,3м

Hзал = H1 + 0,25 = 2,3 + 0,25 = 2,55м - глубина заложения фундамента


.1 Размеры подошвы фундамента

l1 = b1 = ==2,658м,

где Nn - нормативное усилие, передаваемое колонной на фундамент;= = = 2113,2 Н; 1,15 - усреднённый коэффициент надёжности по нагрузке; γ = 20кН/м3 - усреднённый вес единицы объёма бетона фундамента и грунта на его обрезах.

Принимаем l1 = b1 = 2700мм (кратно 300мм)

Плитную часть проектируем ступенчатой из трёх ступеней. Размеры ступеней и подошвы кратны 300мм, высота каждой ступени 300мм

Глубина стакана под колонну квадратного сечения со случайным эксцентриситетом определяем, как большее из двух значений:с+50мм = 350+50 = 400мм и 15d+50мм = 15∙25+50 = 425мм

где hc - минимальная глубина заделки колонны в фундамент, равная высоте сечения колонны;- максимальный диаметр продольной арматуры колонны(15d - минимальная глубина заделки арматуры в фундамент)

Принимаем глубину стакана 450мм

4.2 Проверка нижней ступени на восприятие поперечной силы без поперечной арматуры

Проверка выполняется по условию Q ≤ Qb,min

где Q - расчётная величина поперечной силы в сечении V-V

Qb,min = 0,6 γb2Rbtb1h01 = 0,6∙0,9∙0,75∙2700∙250 = 273,4кН= hcтуп - 5 = 25cм

Отпор грунта р = = = 333,36 кН/м2= h1∙p∙c1 = 0,3∙333,36∙0,3 = 30кН= 30кН < Qb,min = 273,4кН

Условие прочности удовлетворяется.

.3 Расчёт на продавливание

P ≤ Rbtumh01,

Rbtumh01 = 0,75∙7∙0,25 = 1312,5кН= 4= 700см - полусумма периметров верхнего и нижнего оснований пирамиды продавливания- рабочая высота рассчитываемой ступени

Р = N - pA = 2430,18 - 333,36∙4 = 1096,74кН - продавливающая сила

Р = 1096,74кН ˂ 1312,5кН - условия прочности выполняются.

4.4 Расчёт арматуры фундамента

Под действием реактивного давления грунта р плитная часть фундамента работает на изгиб. Величина изгибающих моментов определяется по формуле:

Mi-i = pb1, где

p - отпор грунта- размер подошвы фундамента- расстояние от края подошвы до сечения i-i

Моменты вычисляем для сечений по граням второй и третьей ступени (I-I, II-II), а также для сечений по граням подколонника и колонны (III-III,IV-IV).I = 333,36 ∙2,7∙= 40,5кНмII = 333,36 ∙2,7∙= 162кНмIII = 333,36 ∙2,7∙= 364,53кНмIV = 333,36 ∙2,7∙= 621,3кНм

Определяем площадь сечения арматуры для каждого сечения:

Asi =

AsI =  = 6,43cм2=  = 11,69cм2=  = 17,02cм2=  = 10,96cм2

Шаг арматуры принят 200мм

Принимаем сетку 14Ø14 A300 с As=15,83 мм2 с ячейкой 200х200мм

Армирование подколонника и его стаканной части согласно МУ условно назначается без расчёта.

5. Стена первого этажа

Исходные данные

Марка глиняного кирпича пластического прессования - 125

Марка тяжёлого цементно-известкового раствора - 50

Упругая характеристика кладки - α = 1000

Плотность кладки - ρ = 18кН/м3

Оконный проём - 3,2 х 2,4м(b x h)

Ширина простенка - 2,8м

Толщина стены - 0,51м

Расчётное давление конструкций покрытия - 600кН

Расчётное сопротивление кладки сжатию - R = 1,9МПа

Для расчёта стены первого этажа по всей высоте здания выделяется полоса, ширина которой равна расстоянию между осями окон - 6м. Расчётная схема стены принимается в виде внецентренно сжатой колонны с шарнирными опорами на концах, роль которых выполняют междуэтажные перекрытия, фундамент и пол первого этажа.

Нагрузку от вышележащих этажей считаем приложенной в центре тяжести поперечного сечения стены. Нагрузку от перекрытия, находящегося непосредственно над расчётным простенком - с эксцентриситетом. Величина эксцентриситета подсчитывается, принимая расстояние от опорной реакции ригеля до внутренней грани стены, равным 1/3 длины заделки ригеля.

 

Опасными являются сечения II-II под перемычкой и сечение III-III, в котором коэффициент φ достигает минимальной величины, а изгибающий момент сохраняет существенное значение.

Расчётные нагрузки, передаваемые на рассчитываемый участок стены в сечении II-II:

от балки покрытия - 600кН;

от одного перекрытия с площадью А = 6∙0,5∙7,2 = 21,6м2 будет равна: 10,616∙21,6 = 257,92кН

нагрузка от ригеля сечением 600х200мм будет равна: 0,6∙0,2∙25∙∙1,1= 15,79кН

нагрузка от кирпичной кладки на отметке 3,3м:

[(4,8∙4+3,1)∙6 - 3,2∙2,4∙4]∙0,51∙18∙1,1= 1040,9кН

Суммарная нагрузка, действующая центрально с учётом коэффициента надёжности по назначению γn = 0,95

N1 = (600+(257,92+15,79)∙2+1040,9)∙0,95 = 2157,6кН

Нагрузка от перекрытия и ригеля над первым этажом, действующая внецентренно с учётом γn = 0,95

N2 = (257,92+15,79)∙0,95 = 329,32кН

Суммарная нагрузка в сечении II-II:

Nc = N1+N2 = 2157,6+329,32 = 2486,92кН

Нагрузка N2 создаёт момент относительно оси простенка в сечении I-I:


Изгибающий момент в сечении II-II:

MII-II = MI-I ∙= 56,36∙0,87= 49,03кНм,

где 0,5 - расстояние между сечениями I-I и II-II; H = 3,8м - расчётная высота стены, равная расстоянию от пола первого этажа (±0,000) до низа ригеля над первым этажом: H = 4,8 - 0,1 - 0,6 - 0,3 = 3,8м; 0,1 - суммарная высота пола(100мм)

Эксцентриситет его силы Nc относительно оси сечения II-II:

ео = = = 0,017м = 17мм

Несущую способность элементов каменных конструкций при внецентренном сжатии считают обеспеченной, если соблюдается условие:

Nc ≤ mgφ1RAω, где mg = 1, при h = 51см > 30см

φ1 = ,

где φ и φс - определяем по приложению 11 МУ,

при величинах гибкости элемента для всего сечения:

λh = = = 7,45; φ = 0,946

для сжатой части сечения:

λhс = = = 7,98; φс = 0,94, при hc = h - 2eo

φ1 =  =  = 0,943 - для средней трети расчётной высоты этажа

Сечение II-II находится за пределами этого участка на расстоянии 0,77м от его верхней точки, для него:

φ1 = 0,943+ = 0,974

А = 2800∙510 = 1428000мм2

ω = 1+= 1+= 1,03 ˂ 1,45

mgφ1RAω = 1∙0,974∙1,4∙1428000∙1,45 = 2823470,16Н= 2486,92кН ˂ 2823,47кН

Прочность простенка в сечении II-II обеспечена.

Список используемой литературы

1.       Байков В.Н. Сигалов Э.Е. «Железобетонные конструкции» Стройиздат

.        Бондаренко В.М. Суворкин Д.Г. «Железобетонные и каменные конструкции» Изд. Высшая школа

.        Бондаренко В.М. Римшин В.И. «Примеры расчёта железобетонных и каменных конструкций» Изд. Высшая школа

.        Торяник М.С. «Примеры расчёта железобетонных конструкций» изд. Стройиздат

.        СНиП 2.01.07-85 «Нагрузки и воздействия»

.        СНиП 52-01-2003 «Бетонные и железобетонные конструкции. Основные положения»

.        СНиП II-22-81 «Каменные и армокаменные конструкции»

.        Вахненко П.Ф. «Расчёт и конструирование частей жилых и общественных зданий» Справочник проектировщика

.        МУ «Железобетонные и каменные конструкции» Изд. МГОУ