Материал: Экзамен по Электрооборудованию

Внимание! Если размещение файла нарушает Ваши авторские права, то обязательно сообщите нам

5. Исследование классической системы зажигания

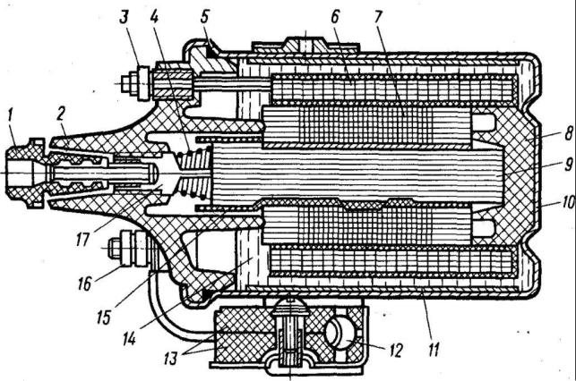
Катушка зажигания: 1 — наконечник высоковольтного провода; 2 — крышка; 3 — низковольтная клемма; 4 — контактная пружина; 5 — прокладка; 6 н 7 — соответственно первичная и вторичная обмотки; 8 и 13 — изоляторы; 9 — сердечник; 10 — корпус катушки; 11 — наружный магнитопровод; 12 — добавочный резистор; 14 — трансформаторное масло; 15 — контактная пластина высокого напряжения; 16 — низковольтные клеммы "ВК", "ВК-Б"; 17 — клемма высокого напряжения.

На рис. 3.14 приведен разрез типовой автомобильной катушки зажигания, которая представляет собой электрический автотрансформатор с разомкнутой магнитной цепью. Сердечник 9 катушки набран из пластин трансформаторной стали толщиной 0,35 мм, изолированных друг от друга окалиной. На сердечник надета изолирующая трубка, на которую намотана вторичная обмотка 7. Каждый слой этой обмотки изолирован конденсаторной бумагой, а последние слои намотаны с зазором между витками 2...3 мм, чтобы уменьшить опасность пробоя изоляции.

Первичная обмотка 6 намотана поверх вторичной обмотки, что облегчает отвод от нее тепла. Корпус 10 катушки штампованный из листовой стали. Внутри корпуса установлен наружный магнитопровод Л из трансформаторной стали. Фарфоровый изолятор 8 и карболитовая крышка 2 предотвращают возможность пробоя между сердечником и корпусом катушки. Крышка имеет четыре выходные клеммы: центральную высоковольтную 17 и три низковольтных — безымянную 3 и клеммы "ВК" и "ВК-Б" 16 (клемма "ВК-Б" на рисунке не видна). Один конец вторичной обмотки выводится к клемме высокого напряжения 17 через контактную пластину 15, сердечник

11

и пружину 4. Высоковольтная клемма 17 с помощью наконечника 1 соединяется через высоковольтный провод с центральным электродом крышки распределителя. Другой конец вторичной обмотки и конец первичной обмотки соединены между собой (автотрансформаторная связь обмоток) и подведены к безымянной клемме 3 на крышке. Эта клемма соединяется с клеммой "Р" распределителя. Другой конец первичной обмотки соединен с клеммой "ВК"(16).

Число витков обмоток катушки зажигания зависит от ее типа и находится в пределах 220...300 для первичной и 18...25 тыс. для вторичной. Соответственно диаметр провода первичной обмотки 0,52...0,86 мм, а вторичной обмотки 0,07...0,09 мм. Коэффициент трансформации равен отношению числа витков вторичной обмотки к числу витков первичной обмотки (W2/W1) и находится в пределах 62...80.

Пространство между обмотками и корпусом катушки заполнено изолирующим наполнителем — трансформаторным маслом. Герметичность карболитовой крышки в кожухе обеспечивается прокладкой 5. К клеммам "ВК-Б" подсоединен добавочный резистор 12, установленный в керамическом изоляторе 13. Добавочный резистор может крепиться как на самой катушке (см. рис. 3.14), так и отдельно от нее. Сопротивление резистора в зависимости от типа катушки 1,0...1,9 Ом.

При пуске двигателя катушка зажигания питается от батареи, напряжение которой понижено (до 6...8 В) из-за потребления стартером большого тока. что приводит к снижению тока в первичной обмотке и развиваемого катушкой вторичного напряжения. С учетом этого обстоятельства первичная обмотка катушки зажигания рассчитывается на напряжение 6...8 В, а остальное напряжение источника гасится в добавочном резисторе. Последний при пуске двигателя закорачивается и первичный ток возрастает, что обеспечивает вторичное напряжение, достаточное для пробоя искрового промежутка свечи.

В некоторых системах зажигания (например, для автомобилей семейства ВАЗ) добавочный резистор отсутствует, что обусловлено высокими характеристиками электропусковой системы, благодаря чему напряжение батареи при пуске снижается незначительно.

−Принципиальная схема классической батарейной системы зажигания

12

При вращении вала прерывателя-распределителя 9, кулачком 16 попеременно замыкаются и размыкаются контакты 8 прерывателя 17. Неподвижный контакт прерывателя соединен с массой, подвижный контакт закреплен на конце подвижного рычажка 6 с подушечкой 7 из текстолита. Контакты 8 находятся в замкнутом состоянии под действием пружины, если подушечка 7 рычажка 6 не касается кулачка 16. Когда подушечка попадает на грань кулачка, рычажок, преодолевая противодействие пружины, поворачивается вокруг оси, закрепленной на подвижной пластине прерывательного механизма, и контакты 8 размыкаются.

В момент размыкания контактов 8 ток в первичной обмотке катушки зажигания 5 и созданное им магнитное поле исчезают. Во вторичной обмотке катушки зажигания индуктируется ЭДС, тем большая, чем выше скорость исчезновения магнитного поля. В это время токопроводящая пластина ротора 13 распределителя 14 проходит около бокового электрода12 крышки распределителя, соединенного высоковольтным проводом со свечой зажигания 15 того цилиндра, в котором заканчивается процесс сжатия топливовоздушной смеси. Высокое вторичное напряжение, подаваемое на свечу зажигания, инициирует появление между ее электродами искрового разряда.

При включении выключателя зажигания 2 и замкнутых контактах прерывателя. по цепи первичной обмотки катушки зажигания 5 протекает ток, сила которого растет, что приводит к созданию магнитного поля в катушке зажигания.

Кулачок 16 прерывателя 17 и ротор 13 распределителя установлены на одном валу. Частота вращения вала кулачка и ротора распределителя в два раза меньше частоты вращения коленчатого вала четырехтактного двигателя. Это связано с тем, что топливовоздушную смесь в каждом из цилиндров необходимо воспламенять только 1 раз за два оборота коленчатого вала. Число граней кулачка и боковых электродов в крышке распределителя равно числу цилиндров двигателя. Высокое напряжение к свечам зажигания подводится в соответствии с порядком работы цилиндров двигателя.

При размыкании контактов прерывателя в первичной обмотке катушки зажигания 5 индуктируется ЭДС, достигающая 200-400 В и направленная в ту же сторону, что и ток первичной обмотки. ЭДС стремится задержать исчезновение тока и также вызывает образование дуги между контактами и снижает вторичное напряжение. Дугообразование практически устраняется при подключении параллельно контактам прерывателя конденсатора 18. Конденсатор 18 заряжается медленно, что замедляет рост напряжения приложенного к контактам. Контакты при малом напряжении успевают разойтись и дуги между контактами не будет. Это обеспечивает более быстрое снижение силы тока первичной цепи и индуктирование достаточно высокой ЭДС во вторичной обмотке катушки зажигания.

Добавочный резистор 3 из нихромовой или константановой проволоки, наматываемой на керамический изолятор, может быть установлен на катушке зажигания или в виде отдельного элемента. При пуске двигателя напряжение, приложенное к системе зажигания, уменьшается. Это может привести к сбоям искрообразования на свечах. Поэтому в период пуска выключатель 4 (в тяговом реле стартера) добавочного резистора 3 шунтирует добавочный резистор, что увеличивает скорость роста тока в первичной обмотке катушки зажигания, ток разрыва и величину напряжения

13

во вторичной обмотке катушки. По окончанию пуска двигателя для недопущения перегрева катушки зажигания выключатель 4 размыкается и в первичную цепь катушки зажигания включается добавочный резистор.

Регулирование угла опережения зажигания

Для регулирования УОЗ в контактной системе используются автоматические механические регуляторы. Автоматическое изменение УОЗ от частоты вращения коленчатого вала обеспечивает центробежный регулятор, а в зависимости от нагрузки двигателя — вакуумный регулятор.

Центробежный регулятор при положении грузиков: а - во время работы двигателя в режиме холостого хода; б — при максимальной частоте вращения коленчатого вала двигателя; 1 — кулачок; 2 — пластина втулки кулачка; 3 — грузик; 4 — приводной вал; 5 - штифт; 6 - пружина; 7 — ось грузика

На приводном валу 4 регулятора закреплена пластина с осями 7, вокруг которых могут поворачиваться грузики 3, связанные между собой пружинами. Привод кулачка 1 прерывательного механизма от вала 4 осуществляется через грузики со штифтами 5, которые входят в прорези поводковой пластины 2, жестко прикрепленной к втулке кулачка.

При увеличении частоты вращения коленчатого вала и вала 4 распределителя грузики под действием центробежных сил преодолевают сопротивление пружин 6 и расходятся в стороны. Штифты грузиков, передвигаясь в прорезях поводковой пластины, поворачивают ее и кулачок прерывательного механизма в направлении вращения вала распределителя. Контакты прерывателя размыкаются раньше и УОЗ увеличивается. При достижении определенной частоты вращения коленчатого вала грузики полностью расходятся и УОЗ, несмотря на дальнейшее увеличение частоты вращения коленчатого вала, остается неизменным. При уменьшении частоты вращения коленчатого вала грузики под действием пружин возвращаются в исходное положение.

Центробежный регулятор УОЗ и его характеристика: а и б — положения грузиков соответственно при малой и большой частотах вращения коленчатого вала двигателя; в — характеристика регулятора; 1 — пружина; 2 — грузик; 3 — подвижная пластина; 4 — ось вращения грузика; 5 — траверса; 6 — кулачок

Вакуумный регулятор: a — конструкция; б — характеристика; 1 — крышка корпуса; 2 — регулировочная прокладка; 3 — уплотнительная прокладка; 4 — штуцер крепления трубки; 5 — трубка; 6— пружина; 7— мембрана; 8 — корпус регулятора; 9— тяга; 10— ось тяги; 11 - подвижная пластина прерывателя; I и II — положение мембраны регулятора соответственно при большей и меньшей нагрузке на двигатель; А и Б — полости регулятора

Герметичная полость Б вакуумного регулятора отделена от окружающей среды гибкой мембраной 7, которая тягой 9 шарнирно соединена с подвижной пластиной 11 прерывателя. Полость Б регулятора через трубку 5 сообщается с задроссельным пространством карбюратора. В полости А поддерживается давление окружающей среды.

При уменьшении нагрузки двигателя дроссельная заслонка прикрывается. Степень вакуума в полости Б увеличивается. При изменении степени вакуума мембрана 7, преодолевая усилие пружины 6, перемещается и тяга 9 поворачивает подвижную

14

пластину 11 вместе с прерывателем против направления вращения кулачка. УОЗ увеличивается.

В режиме холостого хода двигателя дроссельная заслонка перекрывает отверстие, через которое полость Б сообщается с задроссельным пространством. Степень вакуума в полости Б будет небольшой: вакуумный регулятор не работает.

6. Исследование транзисторных и микропроцессорных систем зажигания

2.2 Контактно-транзисторныесистемы отличаются, тем, что через контакты прерывателя протекает в них лишь ток управления транзистором, ток базы, составляющий вс его 0,5 - 0,8 А, а ток первичной цепи, достигающий примерно величины 7А, коммутируется силовым участком (эмиттером - коллектором) транзистора. Благодаря этому: износ контактов прерывателя резко уменьшается, а стабильность искрообразования возрастает до 30 тыс. искр в минуту. Принципиальная схема контактнотранзисторной системы зажигания для восьмицилиндровых двигател ей и общий вид отдельных ее приборов показаны на рис, 3. Основу, ее составляет транзисторный коммутатор ТК-102. Дополнительный резистор СЭ-107 катушки зажигания Б-114 выполнен в отдельном блоке, состоящем из двух секций. Одна из них включена в сеть постоянно, а вторая при пуске закорачивается через контакты КЗ, вмонтированные в тяговое рел е стартера. Вторичная обмотка катушки зажигания, одним концом выведена на массу. Распределитель и прерыватель обычной-конструкции (см. рис. 2), но последний работает без искрогасительного конденсатора, нужнобность в котором при малом токе отпадает.

Транзисторный коммутатор выполнит функции усилителя. Его мощный германиевый транзистор Т включен последовательно в первичную цепь катушки зажигания. База этого транзистора через первичную обмотку W1 импульсного трансформатора Т соедин ена с прерывател ем, а через вторичную обмотку W2 последнего,

15