Материал: Диагностирование системы питания дизельных двигателей

Внимание! Если размещение файла нарушает Ваши авторские права, то обязательно сообщите нам

Диагностирование системы питания дизельных двигателей

Содержание

Введение

. Назначение системы питания дизельного двигателя

1.1 Системы питания топливом

1.2 Системы питания воздухом

. Обоснование необходимости диагностирования системы питания дизельных двигателей грузовых автомобилей

. Физические принципы диагностирования системы питания дизельных двигателей грузовых автомобилей

. Методы, средства, оборудование для диагностирования системы питания дизельного двигателя

. Технология диагностирования системы питания дизельного двигателя

Заключение

Список информационных источников

Введение

Уровень автомобилизации мирового современного общества предъявляет повышенные требования к надежности автотранспортных средств, к обеспечению технико-экономических свойств и к снижению техногенного воздействия, прежде всего - выбросов вредных веществ в окружающую среду.

Грузовой автомобильный транспорт играет существенную роль в транспортном комплексе нашей страны, обслуживая предприятия и организаций всех форм собственности и население.

Согласно оценкам, вклад автомобильного транспорта в перевозки грузов составляет 75-77%.

Отечественное и мировое автомобилестроение в настоящее время отказывается от использования несовершенных систем питания дизельных двигателей внутреннего сгорания и переходит к использованию более современных, в том числе и электронных систем питания дизельных двигателей грузовых автомобилей.

В то же время, наблюдения показали, что усложнение системы привело к увеличению функциональных и параметрических отказов.

Это предопределяет необходимость усовершенствования существующих и разработки новых методов и средств диагностирования системы питания дизельных двигателей.

Задача обеспечения качества диагностических работ системы питания может быть успешно реализовано только на основе использования современных информационных технологий, в основу которых положены достижения отечественной и зарубежной систем диагностирования техники.

Однако, не смотря на вышесказанное, в нашей стране и в настоящее время еще широко используется грузовая автотехника выпущенная в 90-и и даже 80-е годы, что не позволяет отказываться от хорошо известных, внедренных ранее, методов и средств диагностирования системы питания дизельных двигателей. Таким образом, вопросы диагностирования системы питания дизельных двигателей грузовых автомобилей, проблемы создания новых, надежных, методов диагностирования всегда будут оставаться актуальными.

1. Назначение системы питания дизельного двигателя

Система питания топливом дизельного двигателя предназначена для размещения, очистки и своевременной подачи топлива в цилиндры в нужном количестве и под достаточным давлением на всех режимах его работы при любой температуре окружающего воздуха.

 Система питания дизельного двигателя состоит из:

системы питания топливом (рисунок 1);

системы питания воздухом (рисунок 6).

.1 Системы питания топливом

Схема системы питания топливом двигателя грузового автомобиля приведена на рисунке 1. В общем случае в систему питания топливом входят узлы, размещенные вне двигателя (на раме или в корпусе машины), и на двигателе. К первым относятся топливные баки 1, бачок 7 для сбора топлива, предпусковой топливоподкачивающий насос 10, топливораспределительный кран 11, топливопроводы низкого давления и некоторые другие узлы. Ко вторым в первую очередь относятся основной топливоподкачивающий насос 8, топливный насос высокого давления (ТНВД <#"801730.files/image001.gif"> <#"801730.files/image002.jpg"> <#"801730.files/image003.jpg"> <#"801730.files/image004.jpg">








Рисунок 4. Насос с рядным расположением плунжерных пар:

- втулка нагнетательного клапана: 2 - опорный торец пружины: 3 - нагнетательный клапан: 4 - втулка плунжера: 5 - плунжер насоса; 6 - рычаг со сферической головкой; 7 - управляющая рейка; 8 - поворотная втулка; 9 - управляющий пояс плунжера: 10 - пружина плунжера: 11 - седло пружины: 12 - роликовый толкатель; 13 - кулачковый вал.

Рисунок 5. Регулирование подачи топлива в ТНВД с рядным расположением плунжерных пар

1 - из топливного канала: 2 - к форсунке: 3 - втулка: 4 - плунжер: 5 - нижняя регулирующая спиральная выемка: 6 - вертикальная канавка.

Количество подаваемого топлива регулируется посредством поворота плунжера - спиральная выемка изменяет его действительный рабочий ход. Активная работа насоса начинается, когда верхняя кромка плунжера закрывает впускное отверстие. Прорезь соединяет камеру выше плунжера с зоной ниже пространственной спиральной выемки.











Рисунок 6. ТНВД с рядным расположением плунжерных пар с механическим регулятором (центробежного типа):

- топливный бак: 2 - регулятор: 3 - топливоподкачивающий насос; 4 - ТНВД; 5 - муфта опережения впрыскивания: 6 - привод от двигателя; 7 - топливный фильтр: 8 - перепускной канал: 9 - форсунка: 10 - линия возврата топлива; 11- пиния избыточного потока. Для регулирования подачи топлива используются плунжеры с различными типами спиральных канавок. В плунжерах только с нижней спиральной канавкой начало подачи топлива всегда происходит при том же такте сжатия, а при вращении плунжера может изменяться опережение или запаздывание впрыска топлива. При верхнем расположении спиральной канавки изменяется начало впрыска топлива. Имеются также плунжеры с верхним и нижним расположением спиральных канавок.

Рядный ТНВД с дополнительной втулкой

Такой насос для управления углом опережения впрыскивания осуществляет регулировку закрытия отверстия (начало подачи топлива). Выпускное отверстие в корпусе насоса включено в золотник каждого плунжерно-втулочного комплекта. Управляющий вал с рычагами регулирует положение всех скользящих контактов одновременно посредством смещения скользящего контакта вверх или вниз, вводя опережение или запаздывание начала подачи топлива. Поворот вала производится электромагнитным механизмом. Датчик перемещения иглы контролирует начало впрыскивания непосредственно в форсунке. Он передает соответствующий сигнал к ECU в целях регулирования тока возбуждения соленоида для достижения совместимости с заданными исходными величинами. Датчик частоты вращения коленчатого вала подает точную информацию о продолжительности впрыскивания топлива по отношению к ВМТ посредством импульсов от контрольных меток на маховике.

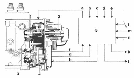
Рисунок 7. Рядный ТНВД с электронным управлением цикловой подачей топлива:

1 - рейка; 2- исполнительный механизм; 3 - кулачковый вал; 4 - датчик частоты вращения коленчатого вала; 5 - ECU. Входные/выходные величины: а - отключение при избыточной подаче; b - повышение давления; с - скорость движения автомобиля; d - температура (вода, воздух, топливо): е - изменение впускаемого количества топлива; f - скоростной режим: g - перемещение рейки; h - положение соленоида; i - индикатор расхода топлива и частоты вращения; к - диагностика; i- положение дросселя; m - заданный скоростной режим; n - сцепление, тормоза, торможение двигателем.

ТНВД распределительного типа (VE)

Такой насос применяется для 3, 4, 5 и 6- цилиндровых дизельных двигателей грузовых автомобилей мощностью до 20 кВт на цилиндр. Насосы распределительного типа для двигателей с непосредственным впрыском обеспечивают давление до 700 бар при частоте вращения до 2400 мин-1.

Насос распределительного типа включает только один плунжерно-втулочный комплект для питания всех цилиндров.





Рисунок 8. Плунжер с регулирующей втулкой:

а - начало подачи топлива; b- конец подачи топлива; 1 - регулирующая спиральная канавка; 2 - регулирующая втулка; 3 - выпускное отверстие; 4 - регулирующая канавка; 5 - плунжер насоса.

Плунжер не только создает требуемое давление топлива во время его рабочего хода, но и одновременно, вращаясь, распределяет его по отдельным выходным отверстиям. Во время одного оборота ведущего вала плунжер совершает количество тактов, равное числу цилиндров двигателя. Ведущий вал вращает кулачковую шайбу и плунжер, с которым она соединена. Выступы на кулачковой шайбе обеспечивают осевое перемещение плунжера и его вращение (распределение и подачу топлива). Насос продолжает подачу топлива во время рабочего хода до тех пор, пока выпускное отверстие плунжера остается закрытым, и прекращает подачу топлива, как только выпускное отверстие совмещается с отверстием в регулирующей втулке. Регулятор определяет положение регулирующей втулки, которая перемещается на плунжере.










Рисунок 9. Рядный насос с регулирующей втулкой:

- плунжер насоса; 2 - контрольная втулка; 3 - управляющий шток регулирующей втулки; 4 - регулирующая рейка.

Распределительный насос с аксиальным плунжером

Такой насос представляет дальнейшее развитие концепции наддува в ранее рассмотренных насосах распределительного типа с электронным управлением. В нем добавлены: соленоидный клапан высокого давления; электронной блок управления (ECU); датчик угла поворота. Соленоидный клапан закрывается, определяя начало подачи топлива. Скорость впрыскивания соответствует продолжительности закрытия клапана. Давление впрыскивания топлива достигает 1200 бар.

Рисунок 10. Роторный ТНВД распределительного типа с электромагнитным управлением:

- датчик (угла/времени); 2 - ECU; 3 - ротор; 4 - игла соленоидного клапана; 5 - кожух распределителя; 6 - соленоид управления давления: 7 - устройство для регулирования опережения впрыскивания топлива: 8 - радиально-плунжерный насос; 9 - управляющий электромагнитный клапан; 10 -обратный клапан.

Распределительный роторный ТНВД

Такие насосы предназначены для двигателей с непосредственным впрыском топлива с высокими рабочими характеристиками. Уровни давления со стороны насоса достигают 1000 бар, хотя соответствующие величины в распылителе могут повышаться до 1500 бар. Ввиду того, что кулачковый механизм имеет непосредственный привод, отклонения от заданных законов подачи топлива минимальны. Электромагнитное управление обеспечивает быстрое реагирование на открытие и закрытие плунжерной камеры.

Насос-форсунки с клапанным регулированием цикловой подачи

Новое поколение систем впрыскивания топлива на основе одного насоса, регулируемого по времени, для современных легковых и грузовых автомобилей с дизелями с непосредственным впрыском характеризуется модульной конструкцией; эти системы включают электронно-управляемый блок насос-форсунки (PDE) и блок насоса (PLD).













Рисунок 11. Блок насос-форсунки (РDЕ):

- пружина; 2 - корпус насоса; 3 - плунжер насоса; 4 - головка цилиндра; 5 - держатель пружины; 6 - стяжная гайка; 7 - статор; 8 - якорная пластина; 9 - игла соленоидного клапана; .10- стяжная гайка соленоидного клапана; 11 - заглушка канала высокого давления; 12 - заглушка канала низкого давления; 13 - упор иглы соленоида; 14 - сужение; 15 - возврат топлива; 16 - подача топлива; 17 - инжектор; 18 - нажимной штифт: 19 - прокладка; 20 - распылитель.

Электронно-управляемый блок насос-форсунки представляет собой одноцилиндровый ТНВД. Этот блок характеризуется интегральным соленоидным клапаном и предназначен для установки непосредственно на головке цилиндров дизеля. Кронштейны, работающие на растяжение, удерживают отдельные модули, которые имеют раздельные цепи подачи топлива для каждого из цилиндров двигателя. Кулачок на распределительном валу приводит в действие индивидуальную для каждого цилиндра насос-форсунку непосредственно через коромысло или косвенно посредством штанги толкателя и коромысла. Быстродействующий соленоидный клапан, в соответствии с параметрами, определяемыми в программной карте двигателя, обеспечивает точную регулировку времени начала впрыска топлива и скорости потока. В отключенном положении соленоидный клапан обеспечивает неограниченный проход потока топлива от насоса к цепи низкого давления системы. Соленоидный клапан включается во время хода подачи плунжера насоса, перекрывая перепускной клапан, таким образом, герметизируя цепь высокого давления. Топливо затем подается к форсунке, как только превышается давление открытия распылителя. То есть впрыск топлива начинается, когда соленоидный клапан закрывается.

Насос-форсунка используется при давлениях впрыскивания топлива до 160 МПа (180 МПа для перспективных моделей). Эта конструкция также может применяться для выборочного индивидуального отключения цилиндра (при частичных нагрузках).

Аккумуляторная топливная система типа "Common Rail"

Системы с аккумулятором делают возможным объединение системы впрыскивания топлива дизеля с различными дистанционно выполняемыми функциями и в то же время позволяют повышать точность управления процессом сгорания топлива. Отличительная характеристика системы с общим трубопроводом заключается в разделении узла, создающего давление, и узла впрыскивания. Это делает возможным повысить величину давления впрыскивания топлива.

Рисунок 12. Система впрыскивания с общей рейкой и аккумулятором давления:

- топливный бак; 2 - фильтр; 3 - топливоподкачивающий насос; 4 -насос высокого давления; 5 - редукционный клапан; 6 - датчик давления; 7- аккумулятор; 8 -форсунки; 9 - ввод данных от измерительных датчиков; 10 - ECU.

Давление системы, создаваемое ТНВД, распространяется через аккумулятор и топливопроводы к форсунке. Форсунка обеспечивает подачу нужного количества топлива в камеру сгорания. В точно установленный момент ECU передает сигнал возбуждения к соленоиду форсунки, означающий начало подачи топлива. Количество впрыскиваемого топлива определяется периодом открытия распылителя и давлением в системе.

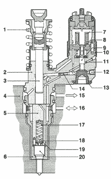
Форсунка служит для подачи топлива в цилиндр двигателя под высоким давлением в мелкораспыленном виде. Типичная форсунка (рисунок 13.) включает в себя корпус 5 с распылителем 3, направляющим штифтом 4 и накидной гайкой 2, иглу 1 распылителя со штоком 6, пружину 7 с опорной шайбой, регулировочным винтом 9 и втулкой 8, колпачковую гайку 10 и топливоприемный штуцер 12 с сетчатым фильтром 11. Распылитель и игла должны быть очень точно подогнаны друг к другу. В верхней части распылителя имеются один кольцевой и несколько (чаще всего три) вертикальных топливных канала, а в нижней части - центральные входной и выходной каналы с распыляющими отверстиями. Диаметр этих отверстий составляет 0,2…0,4 мм. Игла своим нижним конусным концом закрывает выходной канал. Распылитель плотно прикрепляется к корпусу-форсунки с помощью накидной гайки. Топливный канал корпуса соединяется с кольцевым каналом распылителя через его вертикальные каналы. Правильное положение распылителя относительно корпуса обеспечивает направляющий штифт.

 <#"801730.files/image014.jpg">

Рисунок 14. Воздушный фильтр:

- крышка; 2 - фильтрующий элемент; 3 - корпус; 4 - диффузор; 5, 6, 7 - патрубки.

Воздух поступает в фильтр через патрубок 5, очищается в нем и выходит через патрубок 6.

Турбокомпрессор.

На дизельных двигателях грузовых автомобилей установлен турбокомпрессор, использующий энергию выхлопных газов для наддува воздуха в цилиндры дизеля. Турбокомпрессор (рисунок 15.) состоит из центробежного одноступенчатого компрессора и радиальной центростремительной турбины.