Материал: Датчики перемещения

Внимание! Если размещение файла нарушает Ваши авторские права, то обязательно сообщите нам

Датчики перемещения

Содержание

Введение

1.      Емкостные датчики перемещения

.        Оптические датчики перемещения

.        Индуктивные датчики перемещения

.        Вихретоковые датчики перемещения

.        Ультразвуковые датчики перемещения

.        Магниторезистивные датчики перемещения

.        Датчики на основе эффекта Холла

.        Магнитострикционные датчики перемещения

.        Потенциометрические датчики перемещения

Введение

Датчик перемещения - это прибор, предназначенный для определения величины линейного или углового механического перемещения какого-либо объекта. Разумеется, подобные приборы имеют колоссальное количество практических применений в самых разнообразных областях, поэтому существует множество классов датчиков перемещения, которые различаются по принципу действия, точности, цене и прочим параметрам. Следует сразу отметить, что все датчики перемещения можно разделить на две основных категории - датчики линейного перемещения и датчики углового перемещения (энкодеры).

По принципу действия датчики перемещения могут быть:

·              ёмкостными;

·              оптическими;

·              индуктивными;

·              вихретоковыми;

·              ультразвуковыми;

·              магниторезистивными;

·              потенциометрическими;

·              магнитострикционными;

·              на основе эффекта Холла.

.       
Емкостные датчики перемещения

В основе работы датчиков данного типа лежит взаимосвязь ёмкости конденсатора с его геометрической конфигурацией. В простейшем случае речь идёт об изменении расстояния между пластинами вследствие внешнего физического воздействия (Рисунок 1). Поскольку ёмкость конденсатора изменяется обратно пропорционально величине зазора между пластинами, определение ёмкости при прочих известных параметрах позволяет судить о расстоянии между пластинами. Изменение ёмкости можно зафиксировать различными способами (например, измеряя его импеданс), однако в любом случае конденсатор необходимо включить в электрическую цепь.

Рисунок 1 - Емкостной датчик линейного перемещения с изменяющейся величиной зазора

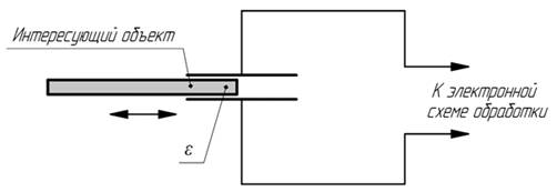
Другой схемой, где выходным параметром является электрическая ёмкость, является схема, содержащая конденсатор с подвижным диэлектриком (Рисунок 2). Перемещение диэлектрической пластины между обкладками конденсатора также приводит к изменению его ёмкости. Пластина может быть механически связана с интересующим объектом, и в этом случае изменение ёмкости свидетельствует о перемещении объекта. Кроме того, если сам объект обладает свойствами диэлектрика и имеет подходящие габариты - он может быть использован непосредственно в качестве диэлектрической среды в конденсаторе.

 

Рисунок 2 - Емкостной датчик линейного перемещения с подвижным диэлектриком

Возможные области применения емкостных датчиков чрезвычайно разнообразны. Они используются в системах регулирования и управления производственными процессами почти во всех отраслях промышленности. Емкостные датчики применяются для контроля заполнения резервуаров жидким, порошкообразным или зернистым веществом, как конечные выключатели на автоматизированных линиях, конвейерах, роботах, обрабатывающих центрах, станках, в системах сигнализации, для позиционирования различных механизмов и т. д.

В настоящее время наиболее широкое распространение получили датчики приближения (присутствия), которые помимо своей надежности, имеют широкий ряд преимуществ. Имея сравнительно низкую стоимость, датчики приближения охватывают огромный спектр направленности по своему применению во всех отраслях промышленности. Типичными областями использования емкостных датчиков этого типа являются:

)        сигнализация заполнения емкостей из пластика или стекла;

)        контроль уровня заполнения прозрачных упаковок;

)        сигнализация обрыва обмоточного провода;

)        регулирование натяжения ленты;

)        поштучный счет любого вида и др.

Емкостные датчики линейных и угловых перемещений являются наиболее распространенными приборами, широко используемыми в машиностроении и на транспорте, строительстве и энергетике, в различных измерительных комплексах.

Сравнительно новыми приборами, доведенными до широкого промышленного применения в последние годы, стали малогабаритные емкостные инклинометры с электрическим выходным сигналом, пропорциональным углу наклона датчика. В качестве основных можно считать следующие области применения инклинометров: использование в системах горизонтирования платформ, определение величины прогибов и деформаций различного рода опор и балок, контроль углов наклона автомобильных и железных дорог при их строительстве, ремонте и эксплуатации, определение крена автомобилей, кораблей и подводных роботов, подъемников и кранов, экскаваторов, сельскохозяйственных машин, определение углового перемещения различного рода вращающихся объектов - валов, колес, механизмов редукторов как на стационарных, так и подвижных объектах.

Емкостные датчики уровня находят применение в системах контроля, регулирования и управления производственными процессами в пищевой, фармацевтической, химической, нефтеперерабатывающей промышленности. Они эффективны при работе с жидкостями, сыпучими материалами, пульпой, вязкими веществами (проводящими и непроводящими), а также в условиях образования конденсата, запыленности.

Емкостные датчики также находят применение в различных отраслях промышленности для измерения абсолютного и избыточного давления, толщины диэлектрических материалов, влажности воздуха, деформации, угловых и линейных ускорений и др.

Емкостные датчики обладают целым рядом преимуществ по сравнению с датчиками других типов. К их достоинствам относятся: простота изготовления, использование недорогих материалов для производства; - малые габариты и вес; - низкое потребление энергии; - высокая чувствительность; отсутствие контактов (в некоторых случаях - один токосъем); долгий срок эксплуатации; потребность весьма малых усилий для перемещения подвижной части емкостного датчика; простота приспособления формы датчика к различным задачам и конструкциям.

К недостаткам емкостных датчиков следует отнести: сравнительно небольшой коэффициент передачи (преобразования); высокие требования к экранировке деталей; необходимость работы на повышенной (по сравнению с 50 Гц) частоте.

Однако в большинстве случаев можно добиться достаточной экранировки за счет конструкции датчика, а практика показывает, что емкостные датчики дают хорошие результаты на широко распространенной частоте 400 Гц. Присущий конденсаторам краевой эффект становится значительным, лишь когда расстояние между обкладками сравнимо с линейными размерами рассматриваемых поверхностей. Этот эффект можно в некоторой степени устранить, использую защитное кольцо, позволяющее вынести его влияние за границы поверхности обкладок, реально используемой при измерении.

.        Оптические датчики перемещения

Существует множество вариаций схем датчиков перемещения, основанных на различных оптических эффектах. Пожалуй, наиболее популярной является схема оптической триангуляции - датчик положения является, по сути, дальномером, который определяет расстояние до интересующего объекта, фиксируя рассеянное поверхностью объекта излучение и определяя угол отражения, что даёт возможность определить длину d - расстояние до объекта (Рисунок 3). Важным достоинством большинства оптических датчиков является возможность производить бесконтактные измерения, кроме того такие датчики обычно довольно точны и имеют высокое быстродействие.

Рисунок 3 - Оптический датчик перемещения на основе схему оптической триангуляции

В другой реализации оптического датчика, предназначенной для регистрации и определения параметров малых перемещений и вибраций, используется двойная решётчатая конструкция, а также источник света и фотодетектор (Рисунок 4). Одна решётка неподвижна, вторая подвижна и может быть механически закреплена на интересующем объекте или каким-либо способом передавать датчику его движение. Малое смещение подвижной решётки приводит к изменению интенсивности света, регистрируемой фотодетектором, причём с уменьшением периода решётки точность датчика возрастает, однако сужается его динамический диапазон.

Рисунок 4 - Оптический датчик перемещения на основе дифракционных решеток

Дополнительными возможностями применения обладают оптические датчики, учитывающие поляризацию света. В таких датчиках может быть реализован алгоритм селекции объектов по отражательным свойствам поверхности, т.е. датчик может «обращать внимание» только на объекты с хорошей отражающей способностью, прочие объекты игнорируются. Разумеется, чувствительность к поляризации негативно сказывается на стоимости подобных устройств.

Оптические измерители расстояния это разновидность бесконтактных датчиков, поскольку механический контакт между сенсором и объектом воздействия отсутствует. Это свойство приборов обуславливает их активное использование в автоматических системах управления. Их дальность действия намного больше, чем у других разновидностей бесконтактных датчиков.

Оптические датчики широко используют для определения количества предметов, присутствия на их поверхностях этикетов, надписей, наклеек, меток, сортировки и позиционирования предметов.

Оптические измерители расстояния позволяют контролировать расстояние и устанавливаются в приборы дистанционного управления и другие автоматизированные системы.

.        Индуктивные датчики перемещения

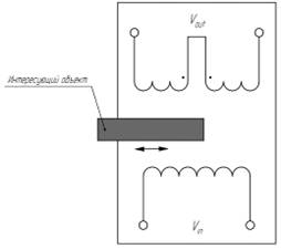
В одной из конфигураций датчика данного типа чувствительным элементом является трансформатор с подвижным сердечником. Перемещение внешнего объекта приводит к перемещению сердечника, что вызывает изменение потокосцепления между первичной и вторичной обмотками трансформатора (Рисунок 5). Поскольку амплитуда сигнала во вторичной обмотке зависит от потокосцепления, по величине амплитуды вторичной обмотки можно судить о положении сердечника, а значит и о положении внешнего объекта.

Рисунок 5 - Индуктивный датчик перемещения на трансформаторе

Другая конфигурация имеет более простую схему, однако она пригодна лишь для небольшого количества приложений, где требуется определять незначительные перемещения или вибрации объектов, состоящих из ферромагнитного материала. В данной схеме интересующий ферромагнитный объект играет роль магнитопровода, положение которого влияет на индуктивность измерительной катушки (Рисунок 6).

Схема индуктивного датчика перемещения для объектов из ферромагнитных материалов

Рисунок 6 - Индуктивный датчик перемещения для объектов из ферромагнитных материалов

. Вихретоковые датчики перемещения

Датчики данного типа содержат генератор магнитного поля и регистратор, с помощью которого определяется величина индукции вторичных магнитных полей. Вблизи интересующего объекта генератор создаёт магнитное поле, которое, пронизывая материал объекта, порождает в его объёме вихревые токи (токи Фуко), которые, в свою очередь, создают вторичное магнитное поле (Рисунок 7). Параметры вторичного поля определяются регистратором, и на их основании вычисляется расстояние до объекта, так как чем объект ближе, тем больший магнитный поток будет пронизывать его объём, что усилит вихревые токи и индукцию вторичного магнитного поля. Подобный принцип используется и в вихретоковых дефектоскопах, однако там на параметры вторичного магнитного поля влияет не расстояние до объекта, а наличие в его внутренней структуре скрытых несовершенств. Метод является бесконтактным, однако может применяться только для металлических тел.

Первые датчики расстояния предоставляли информацию только о наличии или присутствии предмета перед устройством в виде сигнала on/off. Эти простые датчики метки до сих пор используются в разных областях промышленности.

Тем временем для решения более комплексных задач автоматизации технических процессов требуются дополнительные сведения о положении объектов измерения. С этой целью были разработаны датчики метки, которые позволяют определять расстояние до исследуемого объекта и его положение при помощи аналогового выхода, на котором сигнал пропорционален расстоянию до объекта. Такие датчики находят применение в измерении наклона, диаметра и толщины, при центровке.

Индуктивные измерители расстояния определяют расстояние до проводящих металлических объектов, таких как латунь, алюминий, сталь. Так как принцип работы таких датчиков базируется на определении токов взаимной индукции, датчики этого типа очень устойчивы к влиянию неметаллических помех и предметов.

Рисунок 7 - Вихретоковый датчик перемещения

Приоритетной областью использования вихретоковых преобразователей является контроль осевого смещения и поперечного биения валов больших турбин, компрессоров, электромоторов, в которых используются подшипники скольжения. Применение для этих целей датчиков скорости и ускорения, хотя и допустимо, но неоправданно, поскольку из-за уменьшения коэффициента пропорциональности между вибросмещением ротора и опоры на низких скоростях вращения, а также значительного (3…10 раз) ослабления вибрации ротора массивным корпусом установки, результат будет иметь большую погрешность. Вихретоковый метод, напротив, обладает исключительной точностью, поскольку не только не имеет нижнего предела по частоте, но и не требует математической обработки результатов измерения ввиду прямого соответствия выходного сигнала текущему смещению вала или измерительного буртика относительно корпуса.

В малых турбинах, генераторах и компрессорах, где используются подшипники качения и масса корпуса относительно невелика, для измерения вибрации вала целесообразно использовать датчики скорости и ускорения, размещаемые на корпусе механизма.

. Ультразвуковые датчики перемещения

В ультразвуковых датчиках реализован принцип радара - фиксируются отражённые от объекта ультразвуковые волны, поэтому структурная схема обычно представлена источником ультразвуковых волн и регистратором (Рисунок 8), которые обычно заключены в компактный корпус. Определение временной задержки между моментами отправки и приёма ультразвукового импульса позволяет измерять расстояние до объекта с точностью, доходящей до десятых долей миллиметра. Наряду с оптическими, ультразвуковые датчики на сегодняшний день являются, пожалуй, наиболее универсальным и технологичным бесконтактным средством измерения. Использование этого принципа измерений опять же можно найти в детекторах обнаружения дефектов, только на этот раз уже в ультрозвуковых дефектоскопах.