Материал: Датчики Хола

Внимание! Если размещение файла нарушает Ваши авторские права, то обязательно сообщите нам

Як бачимо з рис. 3. 4, на якому показано зміну магнітної індукції в залежності від положення датчика Хола, найбільший лінійний градієнт індукції отримуємо для схеми, зображеної на рис. 3. 3, в, але тільки на короткій ділянці зміщення пластини (близько 1 мм). При зміщенні на декілька міліметрів краще використовувати схему зображену на ис. 3. 3, б, коли залежність В(х) також має лінійну ділянку, хоча і з меншим градієнтом.

Рис. 3.4. Залежність напруги Хола UH від механічного зміщення для приладів зображених на рис. 3. 3.

Точність лінійного перетворення механічних зміщень у перетворювачах цього типу залежить від багатьох параметрів.

Як бачимо з рис. 3. 5, чутливість за напругою у перетворювачі

γ′ = γ′1 γ2 = UHмакс/х = tg(α),   (3. 2)

де γ′1 - чутливість датчика Хола, γ′1 = UH/B, виражена в В/Гс;

γ2 - градієнт магнітного поля, у якому переміщується датчик Хола, γ2 = ΔВ/х, виражена в Гс/мм.

Чутливість близько 1 В/мм, а також наявність напруги у колі Хола близько декількох мілівольт вже дають можливість виконувати безпосередні вимірювання за допомогою приладу, як правило без підсилювача.

Рис. 3.5. Чутливість Холівського перетворювача переміщень

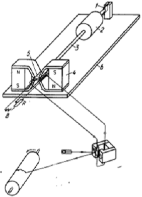
Перетворювач на основі датчика Хола знайшов також застосування в області геофізичних вимірювань. В схемі сейсмографа (рис. 3. 6) маса 2 підвішена на пружині 1. На кінці плеча 3знаходиться датчик Хола 5, який переміщується у неоднорідому полі системи магнітів 4. Живлення датчика Хола виконується від джерела постійного струму з напругою декілька вольт через резистор, який слугує для зміни чутливості сейсмографа. Зміщення станини 6 сейсмографа, викликане вібрацією основи, на якій стоїть прилад, призводить до переміщення пластини в магнітному полі. На виході з’являється напруга Хола. Підключений до виходу пластини реєстратор напруги Хола, що складається, наприклад, із гальванометра, джерела світла, а також барабана зі світлочутливим папером, запише зміну вібрацій у часі.

Описаний сейсмограф може бути використаний як вимірювач кута нахилу. Якщо через нахил основи станина нахиляється під деяким кутом до горизонту, то маятник сейсмографа також відхилиться на деякий кут θ відмінний від початкового положення. На виході датчика Хола утворюється напруга, яка викликає зміщення зайчика гальванометра.

Рис. 3.6. Схема пояснююча принцип дії сейсмографа на датчиках Хола: 1 - пружина; 2 - маса; 3 - плече; 4 - система магнітів; 5 - датчик Хола; 6 - станина

Вищевказані принципи дії приладу використані для вимірювання тремтіння руки. Магнітна схема цього приладу складається з двох великих феритових магнітів, що направлені один на одний однойменними полюсами. Між ними розміщується рука, причому до одного з пальців прикріплений датчик Хола. Провода від датчика Хола відводяться вздовж руки. У цьому випадку він рухається вільно, без тертя в неоднорідному магнітному полі. Напруга Хола виявляється такою великою, що може бути безпосередньо виміряна реєструючим приладом.

Висновки

У процесі виконання курсової роботи було розкрито суть явища ефекта Хола. У наш час набули широкого поширення датчики Хола, принцип дії яких заснований на ефекті Хола.

Приклади використання датчиків Хола:

) датчики струму;

) датчики положення;

) датчики витрат;

) датчики кута поворота;

) датчики вібрації та ін.

Робота датчиків Хола заснована на залежності ЕДС Хола від значення магнітної індукції у напівпровіднику (або металі) зі струмом. При розміщенні напівпровідника зі струмом у магнітному полі, на його краях виникає різниця потенціалів, пропорційна магнітній індукції. Ця різниця потенціалів, що називається напругою Хола, є вихідним параметром датчиків Хола.

Основними перевагами датчиків Хола є:

) можливість вимірювання без розриву кола;

) висока чутливість у порівнянні з багатьма іншими приладами для вимірювання тих же величин (наприклад у сейсмографів на основі датчиків Хола коефіцієнт підсилення у сто разів більший ніж у електродинамічних сейсмографів);

) відносно проста і малопотужна схема живлення і т. д.

Негативні явища у датчиках Хола можна, у достатній мірі для практичного використання, зменшити за допомогою відповідного підбору електричних схем, систем компенсації і т. д.

Список використаних джерел

1. Кобус А. Датчики Хола і магніторезистори / Кобус А., Тушинський Я.; пер. з польск. В.І. Тихонова і К.Б. Македонської під ред. О.К. Хомерики. - М. : Енергія. - 1971. - 352 с.

. Февралёва Н.Е. К измерению коэрцетивной силы магнитотвёрдых материалов. Иссл. схем и аппар. для магн. и электр. измер. / Н.Е. Февралёва, Я.Ф. Непокрытый. - К. : Наукова думка. - 1964. - 95 с.