Здесь
dV1
=
– элементарная
удельная производительность фильтра,
т. е.
объем фильтрата, полученного с единицы
площади фильтра, м3/м2;
Rос = rd, (3)
где r – удельное сопротивление осадка (при его высоте 1 м и площади 1 м2); δ – толщина слоя осадка, м.
Vос = F × d, (4)
Vос = х × V, (5)
где х – количество осадка, приходящееся на 1 м3 фильтрата.
d
=
= х
×
V1;
(6)
Rос = r × х × V1;
=
Þ
dt
=
dV1.
Интегрируя это выражение в пределах от 0 до δ и от 0 до V1, найдем продолжительность фильтрования τ,
t
=
+
.
(7)
Решая уравнение (7) относительно V1, найдем удельную производительность фильтра, м3/м2:
V1 =
.
(8)
В кондитерской и хлебопекарной промышленности широко применяются просеиватели – машины для разделения сыпучих неоднородных систем.
Основной частью каждого просеивателя является сито. Металлические ткани сита, применяемые на хлебопекарных предприятиях для просеивания муки и прочих сыпучих материалов, изготавливаются из круглой стальной или фосфористо-бронзовой проволоки.
В металлических ситах живое сечение, т. е. отношение суммарной площади отверстий ко всей площади сита, достигает 60–75 %.
Все сита различаются по номерам. Номер сита соответствует числу отверстий на одном дециметре его погонной длины и размеру стороны ячейки в свету.
Для просеивания ржаной муки применяют сита № 31–50 с отверстиями в свету от 2,5 до 1,5 мм при диаметре проволоки 0,7–0,45 мм; для пшеничной муки – сита № 50–97 с отверстиями от 1,5 до 0,7 мм при диаметре проволоки 0,46–0,28 мм.
Состояние сит отражается на качестве просеивания, поэтому при пользовании ими необходимо соблюдать ряд предосторожностей: хранить сита только скатанными в рулоны без перегибов и складок; натягивать сита на рамы равномерно, так как проволочки при изготовлении сит не соединяются между собой и поэтому лего сдвигаются, что нарушает правильность очертания и размеров сит.
Для просеивания необходимо создать движение продукта относительно сита. Это достигается соответствующим перемещением сита или продукта при помощи механического побудителя (щеток, бил, лопастей) по неподвижному ситу. Таким образом, все существующие просеиватели можно разделить на две основные группы: с подвижными ситами и с неподвижными.
Форма сита может быть плоской, волнистой, цилиндрической, полуцилиндрической, пирамидальной.
Расположение сита бывает горизонтальное, наклонное, вертикальное, маятниковое. Движение сита может быть возвратно-посту-пательным в горизонтальной и вертикальной плоскостях, круговым в горизонтальной и вертикальной плоскостях и в пространстве.
Различные сочетания перечисленных выше признаков привели к созданию разнообразных конструкций просеивателей, нашедших применение в различных отраслях промышленности.
На хлебопекарных предприятиях, где цель просеивания состоит в освобождении муки от сравнительно крупных посторонних примесей, применяются следующие просеиватели: с качающимся плоским ситом – тарары и вибросита; с вращающимся граненым барабаном (фонарем) – бураты, центробежный просеиватель с неподвижным ситом «Пионер».
Сита
Просеивание муки на хлебозаводах, способствующее ее разрыхлению и аэрации, носит контрольный характер.
Машины с плоскими ситами совершают вибрационное, возвратно-поступательное или круговое движение рабочих органов и используются на хлебозаводах большой мощности. Удельная нагрузка в этих машинах достигает 8 т/ч на 1 м поверхности сита.
В просеивателе с круговым движением сит мука через приемный патрубок и рукав поступает в шкаф, совершающий колебания в горизонтальной плоскости. Шкаф опирается на упругие опоры (колонны) и имеет три ситовые рамы с поддонами. Проход через боковые каналы поддонов ссыпается на днище шкафа, откуда с помощью гонков подается на очистку от металлических примесей. Сход собирается в периодически очищаемом сборнике.
Машины с барабанными ситами могут иметь рабочий орган призматической или цилиндрической формы. В призматических просеивателях вращается ситовый барабан, в цилиндрических – рабочий орган представляет собой неподвижную ситовую обечайку, внутри которой вращается вал с закрепленными на нем планками для отбрасывания муки на внутреннюю поверхность ситовой обечайки. Мука внутрь обечайки подается шнеком, расположенным соосно с валом.
Проход попадает в воронку корпуса просеивателя для магнитной очистки, а сход поступает в сборник, расположенный в торцовой части сита, противоположной шнеку.
На эффективность работы просеивателей влияют форма, размер отверстий сита и материал, из которого он изготовлен.
На хлебопекарных предприятиях применяют сита из стальной низкоуглеродистой отожженой проволоки, а также из стальной сетки.
Шелковые ткани для сит бывают облегченными и утяжеленными. Их различают по массе в зависимости от толщины нитей основы и утка.
Тканое шелковое полотно промывают горячей водой и растягивают в ширину с одновременным нанесением аппрета. Аппретирование производится раствором, в состав которого входят желатин, вазелиновое масло, олеиновая и уксусная кислоты, мыло и формалин.
Основным рабочим органом бурата является вращающийся на горизонтальном или слегка наклонном валу ситовый барабан-фонарь. В зависимости от формы фонаря бураты подразделяются на цилиндрические, призматические, конические и пирамидальные.
Принцип действия пирамидального бурата заключается в следующем. Подлежащая просеиванию мука поступает с торца внутрь фонаря и поднимается вместе с ситом на некоторую высоту. При повороте на угол, больший угла естественного откоса муки, она скользит по ситу вниз и просеивается. Крупные примеси, перемещаясь по ситу и достигнув противоположного конца фонаря, выходят наружу. Таким образом, в буратах просеивание происходит лишь через 1/5–1/6 всей ситовой поверхности, остальная часть сита в это время остается неиспользованной. Данное обстоятельство определяет низкую удельную производительность буратов, составляющую 1,0–1,5 т/м2×ч.
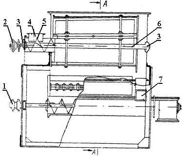
Характер движения муки внутри вращающегося ситового фонаря очень сложен и до сих пор полностью не изучен. Схема бурата ПБ-1,5 показана на рис. 6.


Рис. 6. Схема бурата ПБ-1,5:
1, 2 – звездочки; 3 – подшипники качения; 4 – входной бункер; 5 – короткий шнек; 6 – горизонтальный вал; 7 – канал; 8 – каркас барабана; 9 – металлический корпус; 10 – спицы; 11 – щиток; 12 – магнит; 13 – отводящий шнек; 14 – выпускное отверстие
Пирамидальный бурат ПБ-1,5 выполнен в виде ситового пятигранного барабана, укрепленного спицами на горизонтальном валу 6 и подшипниках качения 3. Грани барабана представляют собой съемные рамки, на которые натянуты плоские сита. Рамки установлены и ук-реплены на каркасе барабана 8 с помощью спиц 10. Вал 6 и отводящий шнек 13 приводятся во вращение электродвигателем (N = 0,5 кВт, n = 1400 об/мин) через червячный редуктор, цепные передачи и звездочки 1, 2.
Просеиваемый продукт поступает через входной бункер 4 и коротким шнеком 5 перемещается внутрь барабана 8, который вращается с частотой 40–60 об/мин. Просеянный продукт, рассекаясь на два потока щитком 11, проходит мимо полюсов магнита 12 и очищается от ферропримесей. Очищенный продукт поступает в отводящий шнек 13 и через выпускное отверстие 14 направляется в производственные цехи. Сход (примеси), перемещаясь вдоль барабана по каналу 7, поступает в сборник.
Магниты помещены в коробках, которые с помощью шарниров можно поворачивать на 90° для очистки. Магниты очищают не реже трех раз в смену. Барабан и все элементы бурата расположены в металлическом корпусе 9.
Просеиватель «Пионер» (ПП) состоит из загрузочного бункера с крышкой и предохранительной решеткой, вертикального шнека, ситового барабана, магнитного уловителя и приводного механизма (рис. 7).
Приемное отверстие загрузочного бункера 1 с решеткой 3 закрывается крышкой 2.
На дне бункера вращаются две спиральные лопасти 4, направляющие сахар-песок через отверстие в корпусе вертикального шнека 7, расположенного в металлической трубе 8. Шнек при вращении поднимает сахар-песок и подает в просеивающее устройство.
Просеивающее устройство состоит из цилиндрического сита 10 с круглыми отверстиями (для задержания крупных примесей), вращающихся вертикальных лопастей 11 с наклонными лопатками 12 и внешней ситовой рамки 13, образующей со сплошным металлическим листом ситовый барабан. Лопасти приварены к корпусу 14, полукруглая съемная ситовая рамка прикреплена винтовым запором к вертикальным угольникам корпуса машины. Снаружи ситовая рамка закрывается металлическим кожухом.
Магнитный уловитель 9 снабжен постоянными магнитами, полюсы которых обращены вниз и находятся на близком расстоянии от поверхности наклонной плоскости. Магнитные дуги намагничиваются без извлечения их из аппарата; для этого дуги снабжены постоянными катушками, электрический ток в которые подводится через специальный прибор.

Рис. 7. Просеиватель «Пионер»:
1 – бункер; 2 – крышка; 3 – решетка; 4 – лопасти; 5 – шестерня; 6 – ведущая шестерня; 7 – шнек; 8 – труба шнека; 9 – магнитный уловитель; 10 – сито; 11 – лопасти; 12 – наклонные лопатки; 13 – внешнее сито; 14 – корпус; 15 – приводной механизм; 16 – электродвигатель
Привод 15 состоит из двухручьевой клиноременной передачи и электродвигателя 16, укрепленного на кронштейне в вертикальном положении. Спиральные лопасти получают вращение от вала шнека через цилиндрические шестерни 5, 6. На корпусе просеивателя установлены кнопки «Пуск», «Стоп» и магнитный пускатель.
Просеиватель работает следующим образом. Сахар-песок засыпается в бункер, перемешивается специальными лопастями и шнеком поднимается в ситовый барабан, где происходит двойное просеивание. Сначала сахар-песок просеивается через сито с крупными отверстиями, затем он захватывается вращающимися лопастями и отбрасывается центробежной силой на внешнее сито.
Просеянный сахар-песок проходит через полюсы магнитов, а затем в течку. Крупные примеси, оставшиеся при первом просеивании внутри цилиндрического сита, поднимаются шнеком на поверхность конуса, откуда центробежной силой сбрасываются через отверстие в сборник для посторонних предметов. Мелкие примеси, задержанные внешним ситом, поднимаются наклонными лопатками и выбрасываются в тот же сборник для посторонних предметов.
Для безопасной работы обслуживающего персонала в просеивателе «Пионер» предусмотрена электроблокировка: при снятии предохранительной решетки через рычаг срабатывает конечный выключатель. Он разрывает электрическую цепь управления электродвигателем, и просеиватель останавливается.
Производительность просеивателя составляет 1,3–1,6 т/ч.