Материал: Белозеров В.И., Жук М.М., Кузина Ю.А., Терновых М.Ю. Физика и эксплуатационные режимы реактора ВВЭР-1000

Внимание! Если размещение файла нарушает Ваши авторские права, то обязательно сообщите нам

проводников при наличии разности температур между холодным и горячим спаями проводника. При измерении температуры с помощью ТП её горячий спай помещают в точку измерения, а в разрыв холодного спая включают измерительный прибор. Поскольку тер- мо-ЭДС зависит от разности температур холодного и горячего спая, для получения абсолютного значения температуры необходимо внести поправку на температуру холодного спая (так называемая компенсация температуры холодного спая). ТП изготавливают из термопарного кабеля КТМС, представляющего собой хромелевый и алюмелевый провода, помещённые в оболочку с порошком окиси магния. Со стороны горячего спая провода сваривают друг с другом и с оболочкой. Со стороны холодного спая кабель заделывают специальным герметиком, чтобы обеспечить герметичность ТП в целом.

 

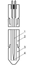
Для измерения температуры теплоносителя

 

внутри корпуса реактора применяют термопа-

 

ры типа ТХА-2076, конструкция которой по-

 

казана на рис. 8.13. Тепловая инерция ТП не

 

более 20 с. Средний срок службы – не менее 6

 

лет, средний ресурс – не менее 25 000 ч. По-

 

грешность измерения ТП обусловлена сле-

 

дующими факторами: разбросом градуиро-

 

вочной характеристики вследствие несовер-

 

шенства технологии её изготовления; влияни-

 

ем распределения температуры по длине ТП;

 

неточностью компенсации температуры хо-

 

лодного спая ТП; погрешностью измеритель-

 

ной аппаратуры; γ-разогревом горячего спая и

 

влиянием эмиссионного тока в проводах ТП.

 

Кроме того, в процессе эксплуатации внутри-

 

реакторных ТП под воздействием радиацион-

Рис 8.13. Конструкция

термопары:

ного облучения происходит медленное изме-

1 – кабель КТМС,

нение градуировочной характеристики ТП,

2 – чехол,

связанное с радиационными превращениями

3 – наконечник,

элементов, входящих в состав электродов ТП.

4 – горячий спай ТП

 

Температуру теплоносителя на выходе из

 

ТВС и в петлях первого контура Tтпj по сигналам термопар рассчитывают по следующим формулам:

261

T

= −[sign(U

хсj

+U

ТПj

7,5)](U

хсj

+U

ТПj

7,5)2 ×

ТПj

 

 

 

 

(8.16.1)

 

×0,0937 + 25,03(Uхсj +UТПj )

 

 

 

3,46 +

Tj ,

где UТПj – сигнал от j-й ТП, мВ; Uxcj – ЭДС холодного спая j-й ТП, мВ; Т – индивидуальная поправка термопары,°С.

Uxcj вычисляют по формуле

Uxcj = 6,5625 10-6Т2хсj + 0,040425Tj + 0,013125, (8.16.2)

где Тхсj – температура холодного спая j-й ТП, введенного в i-ю коробку компенсации.

Температуру Тхсj рассчитывают по сигналу Ui от термосопро-

тивления в i-й коробке компенсации по формуле

 

Tхсj = = A

A2

BU

j

+

T ,

(8. 16.2)

 

 

4

 

 

i

 

 

 

 

 

 

 

где А и В – константы; Тi индивидуальная поправка термометра сопротивления в i-й коробке компенсации.

Измерение температуры с помощью термосопротивления основано на свойстве проводников менять своё сопротивление прямо пропорционально с изменением температуры. Линейная зависимость электрического сопротивления от температуры удобна тем, что позволяет использовать более простые схемы измерения и создавать более простые вторичные приборы. Термометрический чувствительный элемент термосопротивления изготовлен из платиновой проволоки и представляет собой спираль, помещённую в каналы керамического каркаса. Термометрический чувствительный элемент ТС припаян к серебряным или никелевым выводам. Пакет ТС помещается в защитную арматуру, изготовленную из стали 09Х18Н10Т, устойчивую к межкристаллитной коррозии.

Имульсно-токовая камера деления КНК-15. Блоки детекти-

рования (БД) в АКНП конструктивно выполнены идентично и отличаются размерами детекторов. Ионизационная камера размещается внутри герметичного корпуса (К) из нержавеющей стали. Для снижения влияния воздействия электромагнитных помех на выходы электродов камеры размещаются в цилиндрическом экране, являющемся продолжением ионизационной камеры; соединение экрана и корпуса камеры выполнено с помощью сварки. Для компенсации разброса длины детектора, отдельных узлов и повышения

262

виброустойчивости используется специальный компенсационно – амортизирующий узел. На наружную поверхность корпуса БД по всей длине нанесено терморадиационностойкое изолирующее покрытие, предотвращающее возможность электрического контакта корпуса со стенками канала.

Импульсно-токовая камера деления КНК-15 предназначена для регистрации тепловых нейтронов на фоне интенсивного гаммаизлучения. Максимальный поток нейтронов, который может регистрировать камера 5 1010 нейтр./см2с. Допустимая мощность дозы гамма-излучения в месте расположения камеры в импульсном режиме 106 Р/ч, в токовом 107 Р/ч.

Чувствительность камеры к тепловым нейтронам в импульсном режиме составляет 0,5 имп/нейтр/см2. Чувствительность камеры к тепловым нейтронам в токовом режиме составляет 1,8 10-13 А/нейтр./(см2с). Ток камеры пропорционален нейтронному потоку до 3.103 А при рабочем напряжении 400 ±50 В.

Камера КНК-15 трёхэлектродная. Электродная система собрана из 89 пластин (П): 23 пластины покрыты ураном-235 (2 пластины – верхняя и нижняя, покрыты с одной стороны, а 21 пластина – с двух сторон), образуют положительный высоковольтный электрод; 44 пластины, покрытые ураном с одной стороны, образуют собирающий электрод; 22 пластины без покрытия, образуют отрицательный высоковольтный электрод.

Электродная система состоит из двух объёмов: рабочего и компенсирующего. Общая площадь покрытия пластин 1000 см2.

Пластины электродов крепятся на стойках, которые установлены на опорных керамических изоляторах, в верхнем и нижнем фланцах. Фланцы герметично соединены с корпусом арго-но- дуговой сваркой. Выводы электродов «+», «–» и «0» проходят через герметичные металло-керамические изоляторы. Камера наполнена смесью газов: 96 % аргона, 2 % азота и 2 % гелия-4 до давления 2,5 атм. Принципиальная схема включения камеры в измерительную цепь в импульсном и токовом режимах показана на рис. 8.14.

При облучении камеры нейтронами возникает реакция деления ядер урана-235, которая сопровождается вылетом в межэлектродное пространство сильноионизирующих осколков. Движение элек-

263

Рис. 8.15. Расходомерная шайба

тронов в межэлектродном пространстве создаёт импульс тока. Количество импульсов пропорционально нейтронному потоку.

а б

Рис. 8.14. Принципиальная схема включения камеры KHK-15 при работе в импульсном (а) и токовом (б) режимах

При включении камеры по схеме рис. 8.14, б регистрируется средний ток, вызванный движением ионов в камере. Ионизационный ток в цепи собирающего электрода камеры равен разности токов, вызванных излучением в рабочем и компенсирующем объёмах. После камер сигналы поступают в блоки усиления и преобразования, а далее в устройства накопления и обработки (УНО).

Расходомерные шайбы. Расходомерные шайбы служат для создания местного перепада давления в движущемся по трубопроводу потоке и применяются в комплекте с дифманометрами для измерения расхода жидкости, газа или пара. Расходомерная шайба представляет собой тонкий диск с цилиндрическим отверстием, имеющим со стороны входа потока острую кромку, а со стороны выхода – конус

(рис. 8.15).

При протекании измеряемой среды через отверстие меньшего диаметра, чем внутренний диаметр трубопровода, происходит увеличение средней скорости потока, что в свою очередь

приводит к уменьшению статического давления, то есть, перед диафрагмой будет давление P, равное статическому, а после диафрагмы P1, причём Р > Р1.

264

Разность между давлениями Р = Р Р1 называется перепадом давлений, служит мерой расхода и измеряется посредством датчика типа «Сапфир». Расход среды пропорционален квадратному корню из Р, поэтому после датчика типа «Сапфир» сигнал поступает на блок извлечения корня (БИК).

Нейтронный анализатор раствора НАР-12 или НАР-12М (концентратомер). Концентратомер предназначен для измерения концентрации изотопа бор-10 (борной кислоты) в теплоносителе на АЭС с реакторами ВВЭР. Принцип действия концентратомера основан на нейтронно-абсорбционном методе анализа. Измерение производится непрерывно, результаты анализа представляются в виде нормированного аналогового сигнала, величина которого

прямо пропорциональна концентрации

 

изотопа бор-10.

 

 

 

На рис. 8.16 приведена схема распо-

 

ложения навесного НАР.

 

 

Концентратомеры бывают навесные и

 

погружные.

 

 

 

Нейтроны, испускаемые плутоний-

 

берилиевым источником, попадают в

 

анализируемый раствор борной кислоты,

 

где происходит их замедление при взаи-

 

модействии с ядрами водорода и погло-

 

щение ядрами изотопа бор-10. Часть за-

 

медленных нейтронов отражается из рас-

 

твора и попадает в чувствительный объ-

Рис. 8.16. Расположение

ём гелиевого счётчика СИ-19Н, распо-

навесного НАР:

ложенного в блоке детектирования ней-

1 – трубопровод;

тронов

БДИН-3М,

входящим

в состав

2 – изотопный источник

датчика. Количество нейтронов, попа-

нейтронов;

3 – два блока детектирования

дающих

в объём

счётчика

СИ-19Н,

 

уменьшается с увеличением концентрации изотопа бор-10 в растворе.

Датчик контроля энерговыделения. Для измерения распреде-

ления энерговыделения по объёму активной зоны в системе ВРК используются детекторы прямой зарядки (ДПЗ) с эмиттером из родия.

265