Материал: Белозеров В.И., Жук М.М., Кузина Ю.А., Терновых М.Ю. Физика и эксплуатационные режимы реактора ВВЭР-1000

Внимание! Если размещение файла нарушает Ваши авторские права, то обязательно сообщите нам

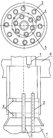
На рис. 8.21 приведена схема установки термопар на выходе из кассет. Для УТВС недогрев (пэльный эффект) определяется по формуле:

Tнед = ( Top Tppkq ) , (8.17.1)

где Тор – подогрев на орбите симметрии (средний); Трр – подогрев на реакторе; Тнед – недогрев теплоносителя в ТВС; kq – коэффициент неравномерности распределения энерговыделения.

Недогрев теплоносителя в УТВС (орбиты сиимметрии 1–15) составляет от +2,2 до –8,9 °С, а для периферийного ряда УТВС (орбиты симметрии 17– 19) от +1,6 до –4,8 °С [13].

Рис. 8.21. Схема установки термопар на выходе из кассет:

1 – канал для установки датчика ТК в трубе БЗТ; 2 – трубки ПЭЛ 18 штук; 3 – центральная трубка для установки КНИ; 4 – отверстия в плитах пружинного блока (3 шт.); 5 – возможные места расположения датчиков ТК в трубах БЗТ; 6 – нижняя плита БЗТ; 7 пучок твэлов

8.19. Эксплуатация топлива

Глубина выгорания. Максимальная допустимая глубина выгорания определена техническими условиями на топливо и для ТВС основным обогащением 4,0–4,4 % составляет 49 МВт сут/кт.

Продолжительность эксплуатации топлива. Продолжитель-

ность эксплуатации топлива в активной зоне не должна превышать 30 000 эф. ч за четыре кампании.

Подкритичность реактора. Разотравленный реактор при температуре 20 °С при всех взведенных ОР СУЗ и концентрации бор-

281

ной кислоты 16 г/кг должен иметь подкритичность не менее 2 %. Это ограничение выполняется для топливных загрузок ВВЭР-1000. Типичная величина подкритичности для указанных условий лежит в интервале (9+14)% [12].

Температура повторной критичности. В случае полного обес-

точивания энергоблока (ввод бора невозможен) и интенсивного расхолаживания возможен выход реактора в критическое состояние. Температура критического состояния с введенными ОР СУЗ в конце работы топливной загрузки при застревании одного наиболее эффективного кластера ОР СУЗ должна удовлетворять условию:

Ткр < 220 °С [12].

Критерий «220 градусов» для топливных загрузок ВВЭР-1000 всегда выполняется. Температура повторной критичности меняется в широких пределах, но, как правило, лежит в интервале (120– 180)°С.

Размещение топлива в активной зоне. Все названные выше ограничения удовлетворяются преимущественно за счет выбора схемы перегрузки и номенклатуры подпитки свежих ТВС. Но на размещение ТВС в активной зоне имеются также некоторые ограничения, которые учитываются при выборе топливной загрузки:

-свежие ТВС, в основном, устанавливаются на периферии активной зоны;

-под привода СУЗ устанавливаются свежие ТВС, или ТВС, по которым не было замечаний в прошедшую кампанию, или успешно прошедшие калибровку направляющих каналов;

-запрет на перестановки ТВС из сектора в сектор.

8.20.Работа на мощностном эффекте

ивыбор группы УРБ

Работа на мощностном эффекте. После выгорания борной ки-

слоты в реакторе разрешается работа на мощностном эффекте реактивности.

На мощностном эффекте реактивности разрешено работать не более 30 эффективных суток и на мощности не ниже 70 % Nном.

Выбор группы УРБ Обеспечение режима ускоренной разгрузки блока (УРБ) является, по-сути, выбором группы ОР СУЗ, введение которой совместно с рабочей группой обеспечит, в случае не-

282

обходимости, снижение мощности до 50% в любой момент кампа-

нии [12].

Здесь существует два требования:

-достаточная эффективность группы УРБ;

-минимальные коэффициенты неравномерности распределения энерговыделения после сброса группы УРБ.

В случае невозможности выбора группы для осуществления режима УРБ, необходимо принять специальное техническое решение.

8.21. Расчёт критической концентрации борной кислоты

Существует необходимость рассчитать критическую концентрацию борной кислоты при выводе реактора в критическое состояние после срабатывания АЗ или после остановки энергоблока [2]. Пусть до остановки реактор работал на мощности N, концентрация борной кислоты в 1-ом контуре равна СМ.

Необходимо оценить изменение реактивности при останове энергоблока.

Δρ = ΔρN +ΔρT +ΔρXe +ΔρSm +ΔρСУЗ ,

(8.21.1)

где Δρ – суммарное изменение реактивности на момент достижения критичности (специально сделан акцент на момент достижения критичности – это важно в случае нестационарного процесса, когда не стабилизировалась концентрация ксенона);

ΔρN – положительный эффект высвобождения реактивности от снижения мощности;

ΔρТ – положительный эффект высвобождения реактивности от снижения температуры;

ΔρХе – положительный или отрицательный эффект, обусловленный ксеноновым процессом;

ΔρSm – отрицательный эффект, обусловленный накоплением самария (этот эффект существенен спустя 10 суток после остановки); ΔρCУЗ – отрицательный эффект, обусловленный опусканием 10-й

группы до 20–40 %.

Зная эффективность борной кислоты, можно определить изменение концентрации борной кислоты относительно той, которая была при работе реактора на мощности:

283

 

 

Δρ =

∂ρ

C ,

 

(8.21.2)

 

∂ρ

 

C

 

 

 

где

 

 

3

;

C – измене-

C

– эффективность борной кислоты, % / г/дм

ние концентрации борной кислоты, г/дм3.

Сейчас можно определить критическую концентрацию борной кислоты, которая равна:

Cкр = CM + C.

(8.21.3)

8.22. Измерение нейтронно-физических характеристик при пуске реактора

Аппаратура измерения реактивности предназначена для контроля относительного уровня мощности реактора, вычисления периода и изменения мощности, вычисления реактивности и коэффициентов реактивности.

В состав аппаратуры измерения реактивности входят:

-реактиметр;

-три ионизационных камеры типа КНК-4;

-высоковольтный блок питания ионизационных камер;

-самопишущий потенциометр;

-компьютер.

С высоковольтного блока питания подаётся постоянное напряжение +250 В на рабочий объём камеры и –400 В на компенсационный объём камеры.

При проверке сцеплённости ОР СУЗ со своими приводами на МКУ мощности диапазон измерения реактивности устанавливается равным 0,05β.

Изменение реактивности отслеживается по стрелочному прибору реактиметра, либо по изменению тока камеры, либо по перу самописца.

Цифровой измеритель реактивности предназначен для измерения тока ионизационной камеры и вычисления реактивности в диапазоне от 1,0 10-10А до 1,0 10-3А. Вычислитель реактивности обеспечивает цифровую и аналоговую индикацию величины выходного тока ионизационных камер и вычисленного значения реактивности. Диапазон вычисления реактивности от – 20 βэф до +0,8 βэф.

284

Вычислитель автоматически включает шкалу – 20 βэфф при превышении текущей величиной реактивности значения выбранной шкалы. Предел основной относительной погрешности вычисления

реактивности в диапазоне токов от 1,0 10-9 А до 1,0 10-3 А не более ±5 %, в диапазоне токов от 1,0 10-10 А до 1,0 10-9А не более ±10 %. Вычислитель имеет возможность подключения к компьютеру с интерфейсом RS-232 или ИРПС.

Реактивность вычисляется с использованием уравнения кинетики реактора.

Для определения ∂ρT проводится уменьшение (посредством

увеличения отбора пара) или увеличение (посредством уменьшения отбора пара) температуры теплоносителя в 1-ом контуре на величину 3–5 °С относительно исходного значения.

При этом регистрируются соответствующие изменениям температуры значения реактивности. Измерения проводятся на уровне

мощности 1 10-3 – 3 10-2 % Nном.

Измерение интегральной и дифференциальной характеристик групп ОР СУЗ производится в процессе снижения или повышения концентрации борной кислоты в теплоносителе 1-го контура. При вводе в 1-й контур борного раствора (или чистого конденсата) реактор поддерживается в околокритическом состоянии периодическим извлечением (погружением) регулирующей группы. Измере-

ния проводятся на уровне мощности 1 10-3 – 3 10-2 % Nном. Одновременно измеряется эффективность борной кислоты.

При определении эффективности аварийной защиты с имитацией застревания в крайнем верхнем положении одного наиболее эффективного органа регулирования – реактор находится в критическом или надкритическом состоянии (измерения проводятся на уровне мощности 10–12 % Nном), затем производится сброс всех ОР СУЗ, кроме одного. Наиболее эффективный при сбрасывании орган регулирования выбирается по данным альбома нейтроннофизических характеристик из одной расположенной на периферии активной зоны групп 3, 4, 7, 8, 9 таким образом, чтобы вблизи него находидась одна из ИК, подключённых к реактиметру. После сброса всех ОР СУЗ и выхода токового сигнала реактиметра на плато спустя 20–30 с, добрасывается оставшийся наиболее эффективный

285