Материал: АВТОРЕФЕРАТ САВЧУКА_С_В. ВАК нац. библиотека

Внимание! Если размещение файла нарушает Ваши авторские права, то обязательно сообщите нам

6

ОСНОВНАЯ ЧАСТЬ

Во введении обоснована актуальность темы и необходимость проведения исследования, обозначена цель работы и рассмотрены направления работ, направленных на создание перспективных приводов рабочих органов технологического оборудования мобильных машин.

Первая глава посвящена анализу научно-технической литературы по исследованиям приводов систем управления рабочими органами. Анализ схем и параметров известных приводов, а также результаты проведенных исследований позволяют сделать вывод об эффективности их функционирования в режиме высотного позиционирования, который имеет определенные преимущества перед пози- ционно-силовым способом регулирования положения рабочих органов.

Высотное регулирование контактным способом осуществляется за счет установки на орудии регулируемого по высоте опорного колеса, обеспечивающего заданное положение соединительного звена между тяговым средством и машиной над рельефом поверхности. При этом ручная настройка обеспечивает регулировку вертикального положения указанного колеса и установку необходимой глубины обработки почвы. При движении по полю орудие копирует рельеф поверхности при постоянной величине заглубления рабочих органов.

Экспериментальную доводку опытных образцов посевных агрегатов технически и экономически целесообразно выполнять в межсезонный период с использованием лабораторного оборудования. В связи с этим необходимо разработать методические положения испытаний и конструкцию стенда, позволяющие исследовать рабочие процессы в электрогидравлических приводах указанных агрегатов при бесконтактном копировании рельефа.

Вторая глава посвящена определению структуры и параметров электрогидравлического привода в составе контура высотного регулирования рабочих органов. Известный способ контактного копирования рельефа поля предполагает осуществление стабилизации подпора рабочей жидкости в полости силового гидроцилиндра, сообщенной с гидроаккумулятором. Опорные колеса, установленные в районе соединительного устройства агрегата с тяговым средством, обеспечивают удовлетворительное качество работы при подготовке почвы и высеве семян путем контактного копирования рельефа. Однако их использование увеличивает металлоемкость конструкции посевного агрегата и его стоимость, поэтому для копирования рельефа поверхности целесообразно применить контур высотного регулирования с использованием ультразвукового датчика расстояния в цепи обратной связи.

Принцип бесконтактного копирования рельефа поверхности основан на его дистанционном сканировании при помощи акустических или других средств из-

7

мерения расстояния, что позволяет устранить недостатки контактного копирования, заключающиеся в увеличении тягового сопротивления машины и повреждении почвы в зоне опорного контакта.

Функциональная схема электрогидравлического привода отражает построение основных компонентов электрогидравлического привода, расположенных на тракторе и в цепи силовой проводки машины (рисунок 1). Сигнал управления подается на регулятор, гидравлически соединенный с источником питания. Управляющее воздействие передается на исполнительный механизм, который корректирует положение рабочих органов через жесткую силовую проводку.

Рисунок 1. – Функциональная схема электрогидравлического привода рабочих органов

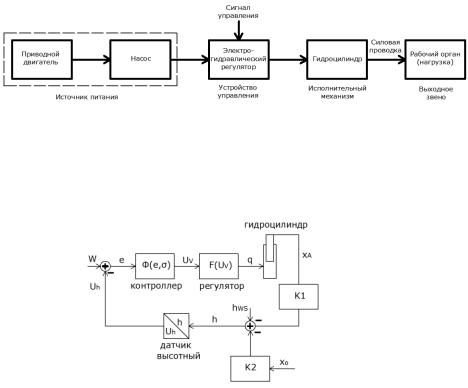
Блок-схема замкнутой системы высотного регулирования положения рабочих органов над поверхностью изображена на рисунке 2.

хА – перемещение штока гидроцилиндра; K2, K1 – коэффициенты передач;

hWS, h – заданное и действительное значения высоты; Uh – выходной сигнал датчика расстояния; W – задающее воздействие; е – рассогласование; Ф(е,σ) – оператор алгоритма управления; Uv – управляющее воздействие; F(Uv) – передаточная функция электрогидравлического регулятора; q – поток рабочей жидкости

Рисунок 2. – Блок-схема замкнутой системы высотного регулирования положения рабочих органов

Расчетная схема (рисунок 3) на примере посевного агрегата описывает принцип высотного позиционирования рабочих органов без опорного колеса в районе соединительного звена (точка В, расположенная в установившемся режиме на высоте hBS) путем бесконтактного копирования рельефа поверхности.

Схема содержит обозначения кинематических связей, сосредоточенных масс МО, МА с векторами их перемещений 0/dt и А/dt, а также весовых нагру-

8

зок GО, GА, позволяющие составить математическое описание процесса функционирования электрогидравлического привода.

Рисунок 3. – Расчетная схема электрогидравлического привода рабочих органов

Ультразвуковой датчик расстояния, установленный за рабочими органами в точке D, которая имеет статическое перемещение xDS, начальную высоту расположения над рельефом поля hDS и условную глубину расположения рабочих органов aDS, вырабатывает выходной электрический сигнал Uh с максимальным значением Uhmax, поступающий на контроллер системы управления для формирования управляющих воздействий U1 и U2 при установившемся задающем воздействии W. Приведенным высотным параметрам соответствует обобщенный линейный размер Н.

На рисунке 4 изображен общий вид посевного агрегата АППМ-6 с трактором «Беларус».

а)

б)

а – посевной агрегат; б – расположение датчика расстояния на нижней тяге трактора Рисунок 4. – Общий вид посевного агрегата

Третья глава содержит теоретические исследования рабочих процессов в электрогидравлическом приводе, математическое описание функционирования которого выполнено в виде дифференциальных и алгебраических уравнений.

Согласно блок-схеме (см. рисунок 2) рассогласование при задающем воздействии W и сигнале обратной связи Uh, являющимся откликом на кинематическое возмущение у(t), равно разности

e W Uh .

9

Графическая характеристика зависимости управляющих сигналов U1 и U2 от рассогласования е при порогах переключения -ψ и ψ, соответствующая нелинейному уравнению оператора, показана на рисунке 5.

Рисунок 5. – Характеристика оператора

Система неравенств в виде нелинейного уравнения оператора Ф(е) записана следующим образом:

 

k p

e

 

, e

,

Ф e

0,

 

e

,

k p tg ,

 

k p

e

 

, e

;

где k p - коэффициент пропорциональности.

 

Изменение токов i1 и i2

в обмотках электромагнитов подъема и опускания

регулятора в режиме позиционирования рабочих органов описывается следующими уравнениями:

Tdi

 

U

Tdi

 

U

2

1

i

1

и

2

i

 

 

 

 

 

 

dt

1

R

dt

2

R

 

 

c начальными условиями i1(0)=0, di1/dt(0)=0 и i2(0)=0, di2/dt(0)=0.

Движение штока силового гидроцилиндра с приведенными массой и весовой нагрузкой в условиях вязкого трения представлено в виде дифференциального уравнения

M A

d 2 xA

pA A

 

dxA

GA

dt2

A dt

с начальными условиями хA(0)=хAS, A/dt(0)=0.

 

Определение выходного сигнала xA

указанного уравнения отражено на

структурной схеме, приведенной на рисунке 6.

 

Рисунок 6. – Структурная схема интегрирования дифференциального уравнения

10

С помощью усилительного звена с коэффициентом усиления А получим сигнал со старшей производной, который последовательно в прямой цепи преобразуется интегрирующими звеньями вида 1/S. Добавляя на выходах интегрирующих звеньев начальные условия, получаем часть прямой цепи схемы, в которой присутствует выходной сигнал и его производные. При этом на указанной схеме переменные величины выражены в приращениях от их равновесного состояния.

Дифференциальное уравнение, описывающее колебания точки О остова машины с приведенными массой и весовой нагрузкой в условиях его базирования на резиновых шинах, имеет вид

 

 

d 2 x

 

dy

 

dx

 

M

 

O

C( y x ) K (

 

 

O

) G

 

dt2

 

 

 

O

O

dt

 

dt

O

с начальными условиями хО(0)=хОS, О/dt(0)=0.

Высоту точки D остова машины над рельефом поля и глубину обработки почвы рабочим органом получаем из следующих соотношений:

h

h

k

x

kG

x

AS

x

A

и

a

H hD

.

 

 

 

D

BS

 

DO O

kBD

 

 

 

k

 

 

 

 

 

 

 

 

 

На рисунке 7 изображены входные сигналы системы при нарастающем (а) и убывающем (б) экспоненциальном законе для различных значений его асимптоты

а)

б)

1 и 2 – значения асимптот экспоненты соответственно 0,015 м и 0,03 м Рисунок 7. – Кинематические возмущения на входе динамической системы при увеличении (а) и уменьшении (б) неровности

На рисунках 8 и 9 приведены графические зависимости переходных процессов изменения глубины обработки почвы посевным агрегатом при увеличении и уменьшении неровности соответственно.

а)

б)

1 и 2 – процессы, соответствующие значениям асимптот экспоненты 0,015 м и 0,03 м Рисунок 8. – Изменение глубины обработки почвы агрегатом с замкнутой (а) и разомкнутой (б) системами управления при увеличении неровности