Материал: АВИКОН-11

Внимание! Если размещение файла нарушает Ваши авторские права, то обязательно сообщите нам

2.2 Функциональные элементы и разъемы блока управления и индикации указаны на рисунке 3:

1-разъем для подключения выносного пульта, 2-корпус, 3-соединительный разъем, 4-ручка, 5-муфта крепления, 6-кнопочная панель управления, 7-крышка, 8-ЖКИ, 9-фиксатор крышки, 10-USB порт, 11-COM-порт (RS-232), 12-разъем карты памяти, 13-опора

Рисунок 3 - Общий вид блока управления и индикации (БУИ).

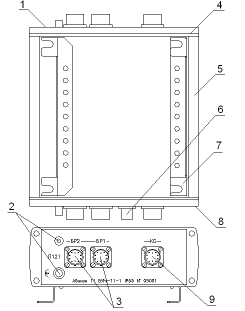
5.2.3 Расположение разъемов на блоке усиления многоканальном представлено на рисунке 4.

1-правая панель, 2-разъемы для подключения ПЭП, 3-разъемы для соединения с БР1 и БР2, 4-крышка, 5-корпус, 6-разъем для датчика пути, 7-опора, 8-левая панель

Рисунок 4 – Общий вид блока ультразвукового многоканального (вид снизу и справа).

5.3 Органы управления дефектоскопной тележки

5.3.1 Расположение органов управления на панели аккумуляторного ящика представлено на рисунке 5.

На передней панели аккумуляторного ящика расположены:

- гнезда “+/–12V” – для подключения электропитания внешних устройств мощностью не более 5 Вт;

- тумблер ВКЛ на панели аккумуляторного ящика обеспечивает подключение или отключение цепи питания БУМ и БУИ от аккумулятора;

- левый соединительный разъем «КС» – для коммутации между собой блока управления и индикации, блока ультразвукового многоканального и аккумулятора;

- правый соединительный разъем «КС» – дополнительный;

- предохранитель 2А – защита от перегрузки цепи питания БУИ и БУМ;

- предохранитель 0,5А – защита от перегрузки цепи питания внешних устройств, подключаемых к гнездам “+/–12В”.

Рисунок 5 – Расположение органов управления на панели аккумуляторного ящика

5.3.2. Расположение органов управления на выносном пульте представлено на рисунке 6.

Рисунок 6 – Расположение органов управления на выносном пульте

Кнопка «БОЛТ.СТЫК» дублирует кнопку « », расположенную на блоке управления и индикации, при проходе болтового стыка она удерживается в нажатом состоянии и служит для изменения алгоритма работы дефектоскопа при контроле болтовых стыков.

Кнопка «СВАР.СТЫК», которая может быть не задействована в дефектоскопе, введена для изменения алгоритма работы дефектоскопа при контроле сварных стыков. Может служить для ввода номеров сварных стыков.

Кнопка «КООРД.» предназначена для ввода километровых и пикетных отметок для корректировки путейской координаты и привязки к реальному пути.

6 Подготовка к контролю

6.1 Подготовка к сплошному контролю рельсов включает:

- изучение результатов контроля предыдущего проезда по данному участку пути;

- подготовку дефектоскопной тележки;

- подготовку электронного блока дефектоскопа.

6.2 Перед началом контроля у начальника участка (мастера цеха) дефектоскопии следует получить выписку о "подозрительных" сечениях рельсов и непроконтролированных участках, полученную после расшифровки предыдущего проезда (если таковой имел место) дефектоскопа по данному участку пути.

6.3 Подготовка дефектоскопной тележки.

6.3.1 Растормозить дефектоскопную тележку, для чего поднять ручку тормозного устройства и, передвигая дефектоскопную тележку по рельсам, проверить легкость хода ее перемещения.

6.3.2 Проверить центрирующие механизмы и подготовить блоки ПЭП к эксплуатации в следующей последовательности:

- убедиться, что блоки ПЭП правильно установлены в держатели;

- вывести центрирующий механизм из положения фиксации и проверить легкость хода каретки вдоль оси;

- установить искательные системы на рельсы;

- соединить штуцеры блоков ПЭП с кранами бачков для контактирующей жидкости шлангами;

- проверить легкость вращения блоков ПЭП на осях держателей блоков ПЭП в продольном и поперечном положении относительно головки рельса.

6.3.3 Выжать ручку подъемника, поднять подъемное устройство до нужного положения, отпустить ручку.

6.3.4 Ослабить винт крепления фиксатора БУИ, установить БУИ в удобное положение и закрепить его с помощью винта фиксатора. Проверить возможность поворота БУИ в горизонтальной и вертикальной плоскостях, фиксации в удобном для оператора положении.

6.3.5 Установить карту памяти в соответствующий разъем по маркировке, изображенной на корпусе карты памяти.

6.3.6 Установить БУМ на раме под подъемным устройством дефектоскопной тележки. Для фиксации блока необходимо совместить фиксирующие винты, установленные на раме, с пазами на ножках опор, продвинуть блок вперед, и зафиксировать его, подняв вверх пластину и закрутив винт фиксатора, расположенного позади блока.

6.3.7 Установить тумблер «ВКЛ» на передней панели аккумуляторного ящика в выключенное положение (ручка вниз).

6.3.8 Установить предварительно заряженный аккумулятор питания электронного блока в аккумуляторный ящик транспортной тележки и закрепить его предусмотренными для этой цели держателями.

6.3.9 Подключить к аккумуляторной батарее наконечники кабеля питания в соответствии с маркировкой.

6.3.10 Подсоединить в соответствии с маркировкой кабели к соответствующим разъемам БУМ, БУИ и аккумуляторного ящика.

6.3.11 Подсоединить головные телефоны к гнезду «Тлф», расположенному на нижней панели БУИ.

6.4 Подготовка электронного блока дефектоскопа

6.4.1 Установить оптимальное изображение на экране БУИ

6.4.1.1 Поставить тумблер «ВКЛ», расположенный на панели правого ящика дефектоскопной тележки, в положение «ВКЛ».

Нажать и удерживать 2-3 сек кнопку « » на пленочной панели БУИ. При этом дефектоскоп включится, на экране установится режим «Меню/Дисплей» (рисунок 7).

Рисунок 7 - Вид экрана дефектоскопа после включения питания (режим «Меню/Дисплей»)

6.4.1.2 Используя кнопки « » и « » установить оптимальную контрастность изображения.

6.4.1.3 При работе в затемненных условиях (помещение, тоннель и пр.) следует включить подсвет экрана, для чего переместить инверсное поле с «контрастность» на «яркость» кнопкой « », а затем увеличить яркость экрана кнопкой « ».

6.4.1.4 После установки параметров экрана нажать кнопку « » для перехода в режим «Поиск-М».

ВНИМАНИЕ! Применяемый в дефектоскопе жидкокристаллический дисплей (ЖКД) допускается эксплуатировать без подогрева при температуре окружающего воздуха не ниже минус 20° С. При работе дефектоскопа при отрицательных температурах следует включить автоматический подогрев ЖКД («Меню/Опции/ Разное/Автоподогрев») для поддержания на нем требуемой температуры.

6.4.2 Программирование параметров настроек каналов контроля.

6.4.2.1 Установить режим работы «Настройка», для чего нажать кнопку « », выбрать кнопкой « » или « » пункт «Меню/Настройка», нажать кнопку « », затем еще раз нажать кнопку « » для подтверждения пункта меню «Настройка/Новая». При этом на экране дефектоскопа должен установиться режим «Настройка», приведенный на рисунке 8.

Рисунок 8 – Вид экрана дефектоскопа в режиме «Настройка»

6.4.2.2 Для настройки каналов «0»-«1» сплошного контроля выбрать канал нажатием кнопки «0» и нить контроля кнопкой « ». В нижней части экрана цифра номера установленного канала обведена прямоугольным символом «», а направление символа « » или « » (расположенного в середине нижнего ряда) дополнительно индицирует рельсовую нить, для которой будет настраиваться канал. При этом, в первый момент, вместо цифр будут индицироваться точки, которые по мере настройки каналов будут заменены на цифры (номера каналов).

6.4.2.3 Не вынимая из искательной системы, установить блок ПЭП на заведомо бездефектном участке рельса, отцентрировать искательную систему относительно продольной оси рельса, получить первый донный сигнал от подошвы рельса. При необходимости для получения донного сигнала повысить чувствительность кнопкой « ».

Убедиться, что полученный донный сигнал находится в пределах зоны ВС, а индицируемое (в верхней части экрана ЖКД) значение глубины расположения отражателя Н соответствует высоте рельса (3)мм. Нажать кнопку « » («Тип рельса»).

6.4.2.4 Перемещая блок ПЭП в небольших пределах и, при необходимости нажимая кнопки « » и « », добиться:

1) максимума амплитуды донного сигнала;

2) положения вершины донного сигнала (по вертикали) между порогом АСД и верхней горизонталью экрана, при этом индицируемое в верхней части экрана ЖКД значение превышения амплитудой сигнала порогового уровня N должно находиться в пределах от 0 до 18 дБ (0N18).

6.4.2.5 Не сдвигая блок ПЭП, настроить канал дефектоскопа на рекомендуемую условную чувствительность, для чего нажать кнопку « ». Рекомендуемые значения условной чувствительности указаны в таблице 16.

Таблица 2

Канал

Значения условной чувствительности, Ку, дБ

Эталонный отражатель

Мертвая зона, М, мм,

не более

сплошного

контроля

«0»

14

Донная поверхность подошвы на бездефектном участке рельса

«1»

«2» и «3»

12

Отверстие 6 мм на глубине 44 мм в СО-3Р

«4»

16

Отверстие 6 мм на глубине 15 мм в СО-3Р

«5»

16

Отверстие 6 мм на глубине 44 мм в СО-3Р

«6» и «7»

14

Отверстие 6 мм на глубине 44 мм в СО-3Р

«8» и «9»

16

ручного

контроля

«0»

14

Донная поверхность подошвы на бездефектном участке рельса

-

«1»

«2»

16

Отверстие 6 мм на глубине 44 мм в СО-3Р

8

«3»

14

8

«4»

12

6

«5»

18

Отверстие 6 мм на глубине 15 мм в СО-3Р

3

«6»

16

3

Убедиться, что в третьем пункте меню в правой части экрана значение фактической условной чувствительности стало равно значению рекомендуемой условной чувствительности, а показание амплитуды N отличается от них, не более, чем на 1 дБ. При этом в четвертом пункте меню появится надпись «Настроен», а вместо символа «» появится номер канала. Канал «1» настраивается автоматически при настройке канала «0».

Примечание – При настройке канала возможно появление сообщения об ошибке в четвертом пункте меню – “Ошибка”. Причины:

- не было выполнено условие 0<N<18 дБ;

- эхо-сигнал (донный сигнал) не попадает в зону ВС;

- требуется уточнить максимум амплитуды донного сигнала и (или) заменить ПЭП на более чувствительный.

6.4.2.6 Откорректировать время в призме ПЭП. Для этого:

а) нажать кнопку « » для смены списка параметров канала;

б) установить блок ПЭП на поверхность образца СО-3Р напротив метки 20µS. Получить эхо-сигнал от поверхности на глубине 59 мм образца СО-3Р;

в) кнопками « » и « » откорректировать время в призме таким образом, чтобы индицируемое показание R соответствовало значению 59 мм.

6.4.2.7 Для возврата к обычному списку параметров канала следует нажать « ».

6.4.2.8 Для настройки каналов «2»-«7» сплошного контроля выбрать канал нажатием кнопок «2»-«7» и нить контроля кнопкой « ». В нижней части экрана цифра номера установленного канала обведена прямоугольным символом «», а направление символа « » или « » (расположенного в середине нижнего ряда) дополнительно индицирует рельсовую нить, для которой будет настраиваться канал. При этом, в первый момент, вместо цифр будут индицироваться точки, которые по мере настройки каналов будут заменены на цифры (номера каналов).

6.4.2.9 Установить блок ПЭП на поверхность образца СО-3Р, учитывая разворот резонатора относительно продольной оси, выявить в образце СО‑3Р отверстие диаметром 6 мм: для каналов «2», «3», «5» и «6» на глубине 44 мм, для каналов «4» - на глубине 15 мм.

При необходимости для получения эхо-сигналов повысить чувствительность кнопкой « ».

Убедиться, что полученный эхо-сигнал находится в пределах зоны ВС, а индицируемое значение глубины расположения отражателя Н составляет: 423 мм для каналов «2», «3», «5», «6» и «7», 133 мм для каналов «4» (рисунок 9).

Примечание – В режиме «Настройка» при выборе наклонных каналов зона временной селекции автоматически устанавливается на зону выявления только эталонного отражателя во избежание ошибочной настройки по эхо-сигналам от других конструктивных отражателей образца СО-3Р.

Рисунок 9 - Настройка условной чувствительности на образце СО-3Р

6.4.2.10 Перемещая блок ПЭП в небольших пределах и, при необходимости нажимая кнопки « » и « », добиться:

1) максимума амплитуды эхо-сигнала от эталонного отражателя;

2) положения вершины эхо-сигнала (по вертикали) между порогом АСД и верхней горизонталью экрана, при этом индицируемое в верхней части экрана ЖКД значение превышения амплитудой сигнала порогового уровня N должно находиться в пределах от 0 до 18 дБ (0N18).

6.4.2.11 Не сдвигая блок ПЭП, настроить канал дефектоскопа на рекомендуемую условную чувствительность, для чего нажать кнопку « ».

Убедиться, что в третьем пункте меню в правой части экрана значение фактической условной чувствительности стало равно значению рекомендуемой условной чувствительности, а показание амплитуды N отличается от них, не более, чем на 1 дБ. При этом в четвертом пункте меню появится надпись «Настроен», а вместо символа «» появится номер канала. При настройке условной чувствительности каналов «6» и «7» сплошного контроля в режиме «Настройка» каналы «8» и «9» настраиваются автоматически.