Материал: Аппаратура процессов разделения гомогенных и гетерогенных систем

Внимание! Если размещение файла нарушает Ваши авторские права, то обязательно сообщите нам

Эмульгационный абсорбер с затопленной насадкой

В насадочных аппаратах при больших расходах газовой фазы происходит инверсия фаз. До этого сплошной фазой была газовая, а жидкая фаза была дисперсной (распределённой по насадке в виде плёнки). При инверсии происходит обращение фаз – сплошной фазой становится жидкая, а газовая фаза переходит в дисперсное состояние (распределяясь в жидкости в виде пузырьков).

После инверсии фаз насадка переходит в режим эмульгирования. В свободном объёме насадки образуется газожидкостная дисперсная система, по внешнему виду напоминающая барботажный слой (пену). Режим эмульгирования начинается в самом узком сечении насадки, плотность засыпки которой всегда имеет некоторую неравномерность. Путём тщательного регулирования подачи газа режим эмульгирования может быть установлен по всей высоте насадки. Данный режим отличается высоким гидравлическим сопротивлением. Кроме того, режим эмульгирования сложно поддерживать, поскольку мал интервал изменения скоростей газа, при которых режим сохраняется. Всё это резко ограничивает применение режима эмульгирования на практике.

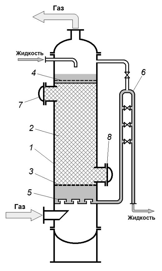
Режим эмульгирования соответствует максимальной эффективности насадочных колонн преимущественно вследствие увеличения площади поверхности контакта фаз, которая в этом режиме определяется не поверхностью насадки, а межфазной поверхностью образующейся газожидкостной дисперсии, заполняющей весь свободный объём насадки. В насадочных колоннах без специальных устройств поддерживать режим эмульгирования очень трудно, так как мал интервал изменения скоростей газа, при котором колонна работает в этом режиме. Поэтому разработана специальная конструкция эмульгационной насадочной колонны (рис. 31), в которой насадка погружена в жидкость – затоплена.

Достоинства эмульгационного абсорбера с затопленной насадкой:

1)высокая движущая сила благодаря незначительному продольному перемешиванию из-за наличия насадки;

2)возможность работы в широком интервале расходов фаз (возможность работы при низком расходе жидкой фазы является преимуществом перед насадочными плёночными абсорберами, при низком расходе газовой фазы – перед тарельчатыми абсорберами).

36

Рис. 31. Эмульгационный абсорбер с затопленной насадкой:

1 – корпус; 2 – насадка; 3 – опорная решётка; 4 – сетка, фиксирующая насадку; 5 – газораспределительная тарелка; 6 – гидрозатвор; 7 – люк для загрузки насадки; 8 – люк для выгрузки насадки

37

Недостатки эмульгационного абсорбера с затопленной насадкой:

1)высокое гидравлическое сопротивление;

2)сложность отвода теплоты в случае высокого экзотермического эффекта абсорбции.

Тарельчатый абсорбер

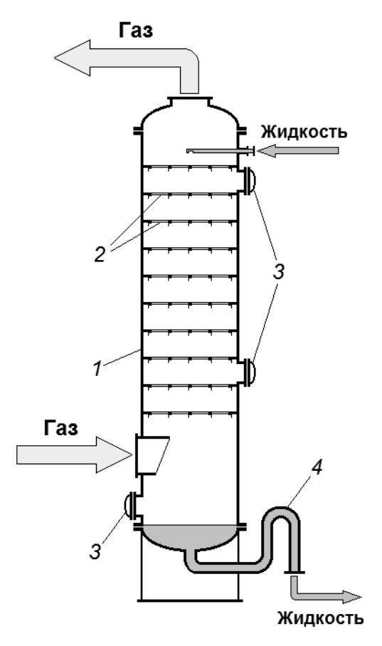
В тарельчатых абсорберах поверхность контакта фаз больше, чем у других абсорберов. Однако для абсорбера большую роль играет его гидравлическое сопротивление, при высоком его значении энергетические затраты на транспортировку газа становятся недопустимо большими. Высокое гидравлическое сопротивление тарельчатых абсорберов ограничивает их применение. Поэтому из всех тарельчатых аппаратов наибольшее распространение в качестве абсорберов получили аппараты с провальными решетчатыми тарелками (рис. 32, 33), гидравлическое сопротивление которых не столь велико.

Абсорбер с провальными решетчатыми тарелками – это противоточный аппарат со ступенчатым контактом фаз, где поверхность контакта фаз образуется за счёт барботажа газа через слой жидкости на тарелках. Схема работы провальных тарелок и их устройство представлены на рис. 14 и 17.

Достоинства абсорбера с провальными решетчатыми тарелками:

1)большая поверхность контакта фаз на единицу объёма аппарата;

2)возможность работы при небольших расходах жидкости, в отличие от насадочных плёночных абсорберов;

3)возможность отвода теплоты путём установки на тарелках трубчатки, по которой движется охлаждающая вода.

Недостатки абсорбера с провальными решетчатыми тарелками:

1)высокое гидравлическое сопротивление (ниже, чем у других тарелок, но выше, чем у насадки, работающей в плёночном режиме);

2)невозможность работы при низких расходах газовой фазы из-за того, что при низком расходе газа жидкость не удерживается на тарелке, стекая через отверстия, и барботажный слой не образуется.

38

Рис. 32. Абсорбционная колонна с решетчатыми тарелками:

1 – корпус; 2 – тарелки; 3 – люки для обслуживания; 4 – гидрозатвор

39

Рис. 33. Внешний вид тарельчатого абсорбера

Сравнение абсорбционных аппаратов

Выше было рассмотрено достаточно большое число различных по устройству и принципу действия абсорберов, даны их характеристики. В технике таких аппаратов, конечно же, намного больше, что затрудняет выбор наиболее рационального абсорбера для каждого конкретного случая. Условия проведения процесса и требования, предъявляемые к абсорберам в разных производствах, существенно различаются. Для того чтобы приступить к техникоэкономическому расчёту, предварительно нужно выбрать наиболее вероятные типы аппаратов. Для решения данной задачи в табл. 2 рассматриваются основные условия проведения процессов и соответствие того или иного абсорбера этим условиям.

40