Материал: Аппаратура процессов разделения гомогенных и гетерогенных систем

Внимание! Если размещение файла нарушает Ваши авторские права, то обязательно сообщите нам

Рис. 27. Полый распыливающий абсорбер:

1 – корпус; 2 – форсунки; 3 – гидрозатвор

31

Основной частью абсорбера является труба Вентури. Жидкость поступает в конфузор, течёт в виде плёнки и в горловине распыляется газовым потоком. Затем жидкость газовым потоком выносится в диффузор, в виде мелких капель, создающих поверхность контакта фаз. Отделение капель от газа происходит в сепараторе.

Достоинства абсорбера Вентури:

1)простота конструкции;

2)работа при высоких расходах газовой фазы.

Рис. 28. Абсорбер Вентури с плёночным орошением:

1 – конфузор; 2 – горловина; 3– диффузор; 4 – сепаратор; 5 – гидрозатвор

32

Недостатки абсорбера Вентури:

1)разделяющая способность вследствие прямотока фаз ограничена возможностью лишь однократного достижения равновесия между фазами;

2)малая площадь поверхности контакта фаз на единицу объёма аппарата;

3)сравнительно высокое гидравлическое сопротивление.

Насадочный плёночный абсорбер

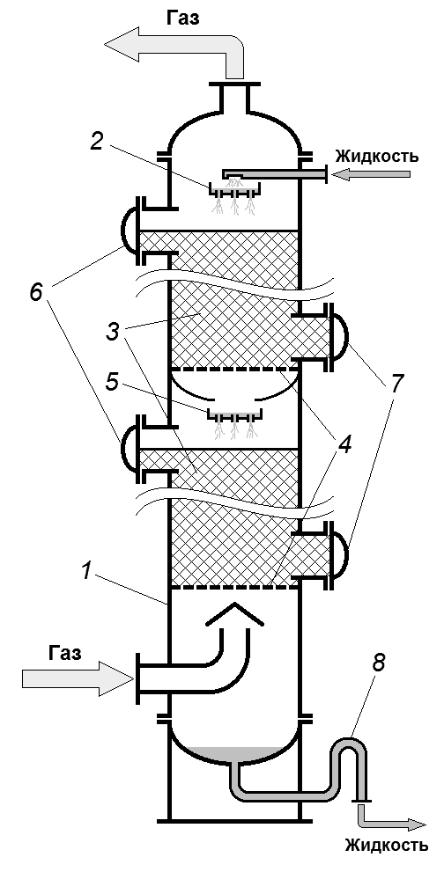
Насадочные абсорберы, работающие в плёночном режиме (рис. 29, 30), получили наибольшее распространение в промышленности. Эти абсорберы представляют собой полые колонны, заполненные насадкой, которая уложена на опорные решётки. Для улучшения равномерности орошения насадки и предотвращения разрушения хрупких элементов насадки под её весом насадку укладывают слоями. Каждый слой опирается на свою опорную решётку, а между слоями установлены перераспределительные тарелки.

Жидкость в насадочной колонне течёт по элементам насадки в виде тонкой плёнки, поэтому площадь поверхности контакта фаз примерно равна площади смоченной поверхности насадки. Газ подаётся в колонну снизу и движется вверх через свободный объём насадки, контактируя со стекающей плёнкой жидкости.

Достоинства насадочного плёночного абсорбера:

1)относительно большая площадь поверхности контакта фаз, по сравнению с плёночными трубчатыми и полыми распыливающими абсорберами;

2)низкое гидравлическое сопротивление, по сравнению с тарельчатыми абсорберами;

3)высокая коррозионная стойкость контактных элементов;

4)более простая и менее металлоёмкая конструкция по сравнению с тарельчатыми аппаратами;

5)высокая движущая сила благодаря малому продольному перемешива-

нию.

Недостатки насадочного плёночного абсорбера:

1)меньшая поверхность контакта фаз, по сравнению с тарельчатыми барботажными колоннами, и, как следствие, большие объёмы аппаратов;

2)плохое смачивание насадки при малых расходах жидкой фазы;

3)сложность отвода теплоты при экзотермическом эффекте абсорбции.

33

Рис. 29. Насадочный плёночный абсорбер:

1 – корпус; 2 – распределительная тарелка; 3 – сегменты насадки; 4 – опорные решётки; 5 – перераспределительные тарелки;

6 – люки для загрузки насадки; 7 – люки для выгрузки насадки; 8 – гидрозатвор

34

Рис. 30. Внешний вид насадочного абсорбера для очистки газовых выбросов

35