Материал: Аппаратура процессов разделения гомогенных и гетерогенных систем

Внимание! Если размещение файла нарушает Ваши авторские права, то обязательно сообщите нам

Рис. 70. Схема барботажного (пенного) пылеуловителя:

1 – корпус; 2 – перфорированная тарелка; 3 – переливной порог; 4 – барботажный слой

Рукавный фильтр

Принцип действия аппаратов для очистки газов фильтрованием тот же, что и для разделения суспензий. Однако при фильтровании газов в подавляющем большинстве случаев происходит закупоривание пор фильтровальной перегородки частицами. В результате закупоривания пор гидравлическое сопротивление фильтра возрастает, а также несколько повышается степень очистки.

96

Рукавный фильтр (рис. 71) представляет собой корпус, в котором находятся тканевые мешки (рукава). Нижние открытые концы рукавов закреплены на патрубках трубной решётки. Для сохранения формы рукава снабжены кольцами жёсткости. Верхние закрытые концы рукавов подвешены на общей раме. Запылённый газ вводится в аппарат через штуцер и попадает внутрь рукавов. Проходя через ткань, из которой сделаны рукава, газ очищается от пыли и выходит из аппарата через верхний штуцер. Пыль осаждается на внутренней поверхности и в порах ткани. Для удаления пыли из рукавов их встряхивают с помощью специального устройства, пыль высыпается из рукавов в бункер и выводится через нижний штуцер. Кроме того рукава продувают воздухом, подаваемым с их наружной стороны.

Для изготовления рукавов обычно используют хлопчатобумажные и шерстяные ткани, что ограничивает возможную температуру газа. К недостаткам рукавных фильтров относятся также высокое гидродинамическое сопротивление, сравнительно быстрый износ ткани и непригодность для очистки влажных газов, поскольку намокание ткани приводит к закупориванию пор.

Основным достоинством рукавных фильтров является высокая степень очистки газов от тонкодисперсной пыли (частицы размером 1 мкм улавливают-

ся на 98–99 %).

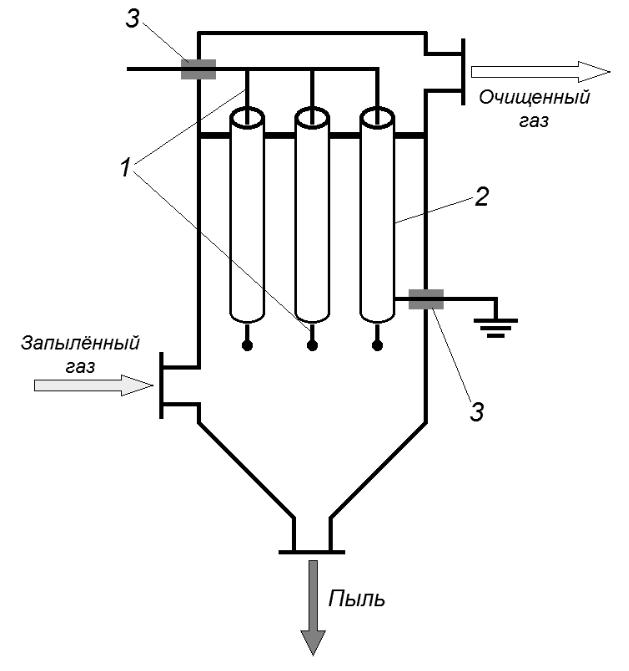
Трубчатый электрофильтр

По форме электродов электрофильтры делятся на трубчатые и пластинчатые, а в зависимости от влажности газового потока – на сухие и мокрые. В сухих электрофильтрах очистка газа происходит при температуре выше точки росы и улавливается сухая пыль. Мокрые электрофильтры предназначены для удаления влажной пыли, а также для осаждения взвешенных в газе капель жидкости.

Трубчатый электрофильтр (рис. 72) представляет собой аппарат, в котором расположены осадительные электроды, выполненные в виде труб диаметром 150–300 мм и длиной 3–4 м. По оси труб проходят коронирующие электроды из проволоки, которые подвешены к раме. Запылённый газ подаётся в нижнюю часть аппарата и движется вверх внутри труб-электродов. Под действием электростатического поля взвешенные в газе частицы пыли поляризуются и оседают на электродах. С электродов пыль удаляют путём их встряхивания, при

97

Рис. 71. Схема рукавного фильтра (а) и участока рукава с кольцами жёсткости (б):

1 – рукава; 2 – трубная решётка; 3 – разгрузочный бункер; 4 – устройство для встряхивания рукавов

98

этом пыль ссыпается в бункер и выводится через нижний штуцер. Очищенный газ выходит из аппарата сверху.

Рис. 72. Схема трубчатого электрофильтра:

1 – коронирующие электроды; 2 – осадительные электроды; 3 – изоляторы

Хотя электрофильтры работают при высоком напряжении постоянного тока (40–75 кВ), расход электроэнергии в них невелик и обычно составляет 0,2– 0,3 кВт·ч на 1000 м3 газа. Гидравлическое сопротивление электрофильтров меньше, чем большинства других аппаратов газоочистки. Степень очистки газа от пыли составляет 95–99 %.

99

Электрофильтры характеризуются относительно высокой стоимостью, сложны в эксплуатации, малопригодны для очистки газов от частиц с малым электросопротивлением.

Сравнительные характеристики газоочистительной аппаратуры

При выборе аппаратов для очистки газа следует принимать во внимание технико-экономические показатели их работы, при определении которых необходимо учитывать степень очистки газа, гидравлическое сопротивление аппарата, расход электроэнергии, пара и воды на очистку, стоимость аппарата и стоимость очистки газа. при этом должны быть приняты во внимание факторы, от которых зависит эффективность очистки: влажность газа и содержание в нём пыли, температура газа и его химическая активность, свойства пыли (сухая, липкая, волокнистая, гигроскопичная и т.д.), размеры частиц пыли и её фракционный состав и др.

 

 

 

 

Таблица 4

Сравнительные характеристики газоочистительных аппаратов

 

 

 

 

 

 

Максимальное

Минимальный

Степень

Гидравлическое

Аппараты

содержание пы-

размер отделяе-

сопротивление,

очистки, %

 

ли, кг/м3

мых частиц, мкм

Па

Циклоны

0,4

10

70–95

400–700

 

 

 

 

 

Батарейные

0,1

10

85–90

500–800

циклоны

 

 

 

 

Рукавные филь-

0,02

1

98–99

500–2500

тры

 

 

 

 

Центробежные

0,05

2

85–95

400–800

скрубберы

 

 

 

 

Пенные

0,3

0,5

95–99

300-900

пылеуловители

 

 

 

 

Электрофильтры

0,05

0,005

99

100–200

 

 

 

 

 

В табл. 4 приведены некоторые усреднённые характеристики распространённых газоочистительных аппаратов.

100