|
Окончание табл. 5.35 |
|
|
|
|
Показатель |
|
Величина |
|
|
|
Модуль упругости при статическом изгибе при –40 °С, |
|
|
МПа: |
|
|
после закалки |
|
1320 |
без закалки |
|
2780 |
|
|
|
Тангенс угла диэлектрических потерь |
|
2 · 10–4 |
Удельное объемное электрическое сопротивление, Ом |
см |
1016 |
Теплостойкость по Вика, °С |
|
110 |
Фторопласт-3 отличается высокой химической стойкостью к действию многих агрессивных сред: кислот, растворов щелочей, окислителей, брома, газообразных фтора и хлора. Он является негорючим материалом, относительно стоек к действию ионизирующей радиации. Доза излучения, приводящая к снижению механических свойств в 2 раза, составляет около 0,24 МГр.
Фторопласт-3 нестоек к действию жидкого хлора (степень набухания составляет около 12 %), элементарного фтора в момент выделения, олеума, тетраоксида азота (степень набухания до 8 %).
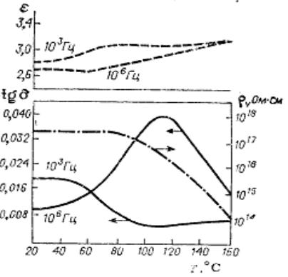
Механические свойства фторопласта-3 зависят от температуры, изменение этих свойств в интервале температур –60…+100 °С приведены в табл. 5.36, а на рис. 5.13 показаны температурные зависимости его электрических свойств.
Таблица 5.36
Механические свойства фторопласта-3 в интервале температур –60…+100 °С
Показатели |
|
|
|
Температура, °С |
|
|
|
|||
|
|
|
|
|
|
|
|
|
|
|
–60 |
–40 |
– 20 |
0 |
20 |
40 |
|
60 |
80 |
100 |
|
|
|
|||||||||
|
|
|
|
|
|
|
|
|
|
|
Предел прочности |
35 |
83 |
73 |
55 |
39 |
29 |
|
20 |
14 |
8 |
при растяжении, МПа |
|
|
|
|
|
|
|
|
|
|
|
|
|
|
|
|
|
|
|
|
|
Относительное удлинение |
21 |
28 |
28 |
21 |
70 |
65 |
|
430 |
830 |
840 |
при растяжении, % |
|
|
|
|
|
|
|
|
|
|
|
|
|
|
|
|
|
|
|
|
|
Модуль упругости, МПа: |
|
|
|
|
|
|
|
|
|
|
при сжатии |
1810 |
1780 |
1700 |
1630 |
1500 |
1270 |
|
880 |
550 |
280 |
при изгибе |
2600 |
2270 |
1970 |
1700 |
1450 |
1080 |
|
810 |
278 |
175 |
|
|
|
|
|
|
|
|
|
|
|
236
Фторопласт-3 перерабатывается обычными для термопластов методами. Однако высокая динамическая вязкость расплава полимера, составляющая при 260 °С около 106 Па
с, и интервал между температурой переработки и температурой разложения сравнительно малы. Поэтому переработка должна осуществляться при строго контролируемых температуре и продолжительности нагрева. Для придания изделию желаемых свойств очень важен режим охлаждения. Необходимо избегать попадания в продукт смазки или других органических загрязнений. Пресс-формы или литьевые формы должны изготавливаться из коррозионно-стойкой стали.
. 
Рис. 5.13. Зависимость диэлектрических свойств политрифторхлорэтилена от температуры:
- - - – диэлектрическая проницаемость; -· -·-· – удельное объемное электрическое сопротивление;
---- – тангенс угла диэлектрических потерь
При получении изделий методом литья под давлением температура должна составлять 280–300 °С, головки – 260–300 °С, формы – 130–200 °С; давление – от 100 до 300 МПа; продолжительность цикла – 30–90 с. При прессовании температура нагрева
237
находится в пределах 230–280 °С, давление прессования 20–30 МПа, продолжительность нагрева из расчета на 1 мм толщины изделия составляет от 2,5 до 3,5 мин.
Тонкие изделия способны свариваться под прессом или горячим воздухом, могут склеиваться (без специальной обработки поверхности) эпоксидными клеями.
Заготовки из фторопласта-3 хорошо поддаются механической обработке: распиловке, сверлению, фрезерованию, токарной обработке, нарезке резьбы и т. д.
Фторопласт-3 в основном применяется в машиностроении для изготовления различных прокладок, уплотнительных колец, втулок, седел и тарелок клапанов, работающих в различных агрессивных средах, при повышенных и криогенных температурах. Широко используются детали из фторопласта-3 в электротехнике и измерительной технике в качестве мембран в клапанах измерительных приборов.
Экструзионные рукавные и плоские пленки используются для изготовления печатных схем, конвейерных лент, изоляции трубопроводов, для упаковки медикаментов, реактивов, деталей электронной аппаратуры и т. п.
Поливинилиденфторид (фторопласт-2) и поливинил-
фторид (фторопласт-1). Поливинилиденфторид (фторопласт-2, зарубежные аналоги – кайнар, солеф, фарофлон и др.) – продукт полимеризации трифторэтилена молекулярной массой от 80 до 200 тыс. Это кристаллический полимер с температурой плавления 171–180 °С. Степень кристалличности изделий из фторопласта-2 зависит от скорости их охлаждения после плавления. При быстром охлаждении (закалке) степень кристалличности составляет 35–45 %, при медленном охлаждении или длительном отжиге при температуре до 140 °С степень кристалличности достигает 60–55 %. Фто- ропласт-2 выпускается в виде тонкого и волокнистого легкосыпучего порошка белого цвета. Поливинилфторид (фторопласт-1, зарубежные аналоги – тедлар, дифлор-720) – полимер винилфторида с кристаллической структурой, молекулярной массой от 70 до 140 тыс. Его получают в виде легкосыпучего порошкообразного материала белого цвета. Физико-механические свойства фторопластов приведены в табл. 5.37.
238
|
|
Таблица 5.37 |
Основные свойства фторопластов |
|
|
|
|
|
Показатели |
Фторопласт-2 |
Фторопласт-1 |
Плотность, г/см3 |
1,70–1,80 |
1,38–1,40 |
Временное сопротивление, МПа: |
|
|
при растяжении ζраст |
45–60 |
50–60 |
при изгибе ζизг |
80–100 |
80–90 |
при сжатии ζсж |
90–100 |
– |
Твердость, НВ |
13–15 |
115–120 |
Модуль упругости, МПа: |
|
|
при растяжении |
1000–1600 |
– |
при изгибе |
1500– 1700 |
– |
при сжатии |
1200–1400 |
– |
Ударная вязкость образца с надрезом, кДж/м2 |
160–190 |
100 |
Диэлектрическая проницаемость |
8– 9 |
– |
при частоте 103 Гц |
|
|
Тангенс угла диэлектрических потерь |
|
|
при частоте, Гц: |
|
|
103 |
(16…21) 10–3 |
– |
106 |
– |
0,009 |
109 |
– |
0,02 |
Электрическая прочность для пленок |
|
|
толщиной В, мм: |
|
|
2 мм |
14–16 |
25 |
1 мм |
20–30 |
– |
100 мкм |
– |
130–140 |
Удельное объемное электросопротивление, |
2·1012 –1·1014 |
4·1013–7·1014 |
Ом см |
|
|
Температура, °С: |
|
|
плавления |
170–180 |
190–198 |
стеклования |
–33 |
180 |
Температура рабочая, °С: |
|
|
минимальная |
–60 |
–70 |
максимальная |
150 |
110–150 |
Теплопроводность, Вт/(м °С) |
0,3 |
– |
Удельная теплоемкость, Дж/(кг °С) |
1,32 |
– |
Фторопласт-2 значительно уступает фторопласту-4 по теплостойкости при эксплуатации и температуре плавления, диэлектрическим, антифрикционным и антиадгезионным свойствам. Его пре-
239
имуществами являются: высокие твердость, жесткость, механическая прочность, износостойкость; способность перерабатываться обычными методами, применяемыми для термопластов. По комплексу свойств фторопласт-1 близок фторопласту-2, но отличается от него меньшей плотностью, лучшими адгезионными и диэлектрическими свойствами и более низкой стоимостью, однако уступает ему по термостойкости. Этот материал также сочетает высокие твердость, прочность, стойкость к истиранию, стойкость к атмосферным воздействиям, химическую стойкость и удовлетворительные диэлектрические свойства.
Фторопласт-2 достаточно теплостойкий и морозостойкий материал. В интервале рабочих температур –60...+150 °С изделия сохраняют стабильность размеров. Фторопласт-1 имеет более высокую химическую стойкость к различным агрессивным средам, чем нефторированные аналоги, но уступает по этому показателю большинству фторопластов. Он стоек к действию многих кислот, не являющихся сильными окислителями, соляной кислоты, едкого натрия, хлора. Пленки из поливинилфторида обладают высокой светостойкостью для видимых и ультрафиолетовых лучей, стойкостью к окислению и гидролизу.
Фторопласт-2 легко перерабатывается всеми обычными методами, применимыми для термопластов. Он обладает низкой вязкостью расплава, находящейся в пределах 103–105 Па
с при 240 °С,
ивысокой термостабильностью, что обусловливает его легкую перерабатываемость обычными методами (экструзией, литьем, формованием и т. д.).
Прессование осуществляют в интервале температур 190–220 °С
идавлений 20–30 МПа. Выдержка материала при температуре прессования составляет от 7 до 10 мин на 1 мм толщины изделия.
Литьем под давлением получают изделия сложной конфигурации. Температура литья составляет 190–250 °С при давлении от 80 до 130 МПа. Цикл литья колеблется от 20 с до 2 мин. Форма может быть нагрета до 100 °С.
Переработка фторопласта-1 является достаточно сложным технологическим процессом, это связано с близостью температур его вязкотекучего состояния и температуры разложения (разница составляет около 20 °С), что может под воздействием высокой температуры и давления привести к деструкции полимера с выделени-
240