Материал: Lekcija_No_3

Внимание! Если размещение файла нарушает Ваши авторские права, то обязательно сообщите нам

В соответствии с таблицей 3- коэффициент схемы при 2-х фазных к.з. для разных реле соответствует значениям Êñõ(2)= 2 или 1 , а при 1 фазных к.з. - Êñõ(1)=1 или 0.

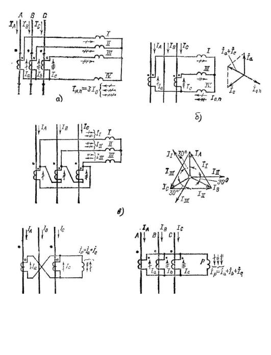
Схема соединения 2-х ТТ и одного реле, включённого на разность токов двух фаз

ТТ устанавливаются в 2-х фазах (обычно А и С), их вторичные обмотки соединяются разноимёнными зажимами, к которым параллельно подключается токовое реле. В некоторой литературе эту схему (рис. 3-12, г) называют схемой неполного треугольника.

В рассматриваемой схеме ток в реле равен геометрической сумме токов двух фаз, в которых установлены ТТ:

 

 

 

I&P =I&A I&C ,

где:

I&α =

I&A

, а I&C =

I&C

 

nT

nT

 

 

 

При симметричной нагрузке и в режиме 3-х фазного к.з. ток в реле:

I(P3)= 3 IÔ и Ê ñõ(3)= 3

При 2-х фазных к.з. между фазами, в которых установлены ТТ (А и С) в реле будет протекать двойной ток, т.к. в этом случае IC = −Iα и следовательно:

I&(P2)= 2Iô , Êñõ(2)AC = 2

При замыканиях между фазами А-В или В-С в реле поступает ток той фазы, в которой установлен ТТ (Iα или IC), поэтому:

I(P2)=Iô , Êñõ(2)AB, DC =1

При 1 фазных к.з. на фазах, в которых установлены ТТ (А или С) в реле появляется фазный ток, при этом Êñõ(1)=1, а при 1ф. к.з. на фазе, в которой ТТ не устанавливается (В)

ток в реле будет отсутствовать и Êñõ(1)=0 .

Очевидно, что схема на разность токов двух фаз имеет существенные

недостатки:

1. Разную чувствительность при различных видах междуфазных к.з. т.к.

коэффициенты схемы при разных видах к.з. различны

( (3)= 3;

Ê

(2)= 2èëè 1)

Ê ñõ

 

2. При 1ф. к.з. на фазе, не имеющей ТТ (фаза В), ток вреле равен нулю, поэтому

схема не может использоваться в качестве защиты от 1ф. к.з.

Рассматриваемая схема соединения ТТ с одним реле, включённым на разность токов двух фаз применяется только для защит линий от междуфазных к.з. и только в тех случаях, когда она обеспечивает необходимую чувствительность при 2-х фазных к.з.

Схема соединения ТТ в фильтр токов нулевой последовательности

ТТ устанавливаются во всех фазах, а одноимённые зажимы их вторичных обмоток соединяются параллельно и к ним подключается обмотка реле (рис. 3-12, д).

В рассматриваемой схеме ток в реле равен геометрической сумме вторичных токов трёх фаз:

I&P = I&α + I&â + I&c = 3I0

Эта схема является фильтром токов нулевой последовательности.

Ток в реле появляется только в режимах 1ф. к.з. и 2-х фазных к.з. на землю, так как только в этих режимах появляется ток нулевой последовательности.

В режимах симметричной нагрузки и междуфазных к.з. без земли сумма первичных и вторичных токов трёх фаз равна нулю и реле не действует.

Однако, в этих режимах из-за погрешностей ТТ в реле появляется ток небаланса Iн.б., который необходимо учитывать при применении схемы.

Рассматриваемую схему часто называют 3-х трансформаторным фильтром токов I0 и применяют для защит от однофазных и 2-х фазных к.з. на землю.

Рис. 3 12 Схемы соединения ТТ и реле:

а) полная звезда;

б) неполная звезда;

Для обеспечения правильного действия токовых защит (двухфазных), при двойных замыканиях на землю в радиальных сетях с односторонним питанием необходима установка ТТ в двухфазных схемах на всех элементах в одноименных фазах (например А и С).

В режимах 2-х фазных к.з. за трансформаторами с соединением обмоток Υ/ и /Υ и при 1 фазных к.з. за трансформаторами с соединением обмоток Υ/Υ различные схемы соединений ТТ и реле работают не одинаково.

Распределение токов к.з. в фазах линии при перечисленных к.з. за трансформаторами характеризуется тем, что токи проходят во всех фазах, причем в одной из фаз ток в 2 раза больше, чем в двух других, и сдвинут по отношению к ним по фазе на 1800 (IАΥ+ IВΥ+ IСΥ=0). На рис. 3-13 в виде примера приведён случай 2-х фазного к.з. между фазами А и В за силовым трансформатором Υ/ -11 с пт=1.

Рис.3 13. Замыкание между двумя фазами за трансформаторомссоединениемобмоток Υ/ 11.

Защита по схеме полной звезды реагирует всегда на больший из токов, проходящий по одному из 3-х реле.

Защита по схеме неполной звезды может оказаться в фазах с меньшими токами, поэтому она будет иметь в 2 раза меньшую чувствительность.

Защита по схеме неполного треугольника вообще будет не работать, т.к. ток в ней окажется равным нулю.

Полные данные по поведению всех схем защиты для случаев к.з. за

трансформаторами Υ/

-11 и до трансформаторов приведены в таблице 3-1.

 

 

 

 

 

 

 

 

 

 

 

Таблица 3-1

 

 

 

 

К.з. за

 

 

 

 

 

Схема соединения

трансформатором

К.з. с питающей стороны

варианта

Υ/

(на стороне

)

 

 

 

 

 

 

 

 

 

 

 

Вид к.з.

Кч отн.

Вид к.з.

Кч. отн.

1.

 

 

К(3)

1

 

 

 

 

 

 

 

 

(2)

1: 3

 

К(3)

1

 

 

 

 

KÀB

 

 

 

 

 

 

(2)

2 :

3

 

К(2)

1

 

 

 

 

KBC

 

 

 

 

 

 

(2)

2 :

3

 

 

 

 

 

 

 

KCA

 

 

 

 

2.

 

 

К(3)

1

 

К(3)

1

 

 

 

 

К(2)

2 :

 

3

К(2)

1

 

3.

 

 

К(3)

1

 

К(3)

1

 

 

 

 

 

(2)

0

 

(2)

1:

3

 

 

 

KÀB

 

KÀB

 

 

 

 

(2)

1

 

(2)

1:

3

 

 

 

KBC

 

KBC

 

 

 

 

(2)

1

 

(2)

2 :

3

 

 

 

KCA

 

KCA

4.

 

 

К(3)

1

 

К(3)

1

 

 

 

 

 

 

 

 

 

К(2)

2 :

 

3

К(2)

1

 

5.

 

 

К(3)

1

 

К(3)

1

 

 

 

 

К(2)

1

 

К(2)

2 :

3

6.

 

 

К(3)

1

 

К(3)

1

 

 

 

 

 

 

 

 

 

(2)

2 :

3

 

 

 

 

 

 

 

 

KÀB

 

 

 

К(2)

1

 

(2)

1:

3

 

 

 

 

KBC

 

 

 

 

 

 

 

 

(2)

2 :

3

 

 

 

 

 

 

 

 

KCA

Исходя из вышеизложенного, в распределительных сетях напряжением до 35 кВ

широкое применение получили защиты от междуфазных к.з. со схемой неполной звезды.

Некоторые её недостатки по сравнению со схемой полной звезды – в 2 раза меньшая

чувствительность при двухфазных к.з. за трансформаторами Υ/ и /Υ и однофазных к.з. за трансформаторами Υ/Υ с заземлённой нейтралью могут быть устранены включением в обратный провод третьего реле тока. Ток в этом реле будет равен:

Ip = −(I&a + I&c)= I&B ,

nT

т.е. равен току третьей фазы (где отсутствует ТТ) и эта схема работает как схема полной звезды.

Схема неполного треугольника по сравнению со схемой неполной звезды имеет ряд недостатков: непригодна в качестве резервной защиты от двухфазных и однофазных к.з. за трансформаторами, а также имеет пониженную чувствительность для МТЗ при двухфазных к.з. между фазами в одной из которых отсутствует ТТ.

Схема полной звезды не нашла широкого использования как наиболее дорогая, т.к. требует установки 3-х ТТ.

Схема полного треугольника используется только на понижающих трансформаторах с глухозаземлёнными нейтралями для предотвращения излишнего срабатывания токовых защит при однофазных и двойных замыканиях (включение реле этой схемы на разности токов фаз исключает прохождение через них слагающих нулевой последовательности).

Выводы:

1.Основные схемы соединения ТТ и токовых реле защит от междуфазных к.з.:

неполная звезда;

полная звезда;

неполный треугольник;

полный треугольник.

2.Схема полной звезды реагирует на все виды к.з. и отличается надёжностью, так как при любом между фазном к.з. срабатывают не менее 2-х реле.

3.Схема неполной звезды реагирует на все виды междуфазных к.з. и обладает достаточной надёжностью, т.к. при любом междуфазном замыкании срабатывают по крайней мере 2 реле в схемах с тремя реле.

4.Схемы соединения в треугольник реагируют на все виды междуфазных к.з. и не могут использоваться для подключения защит от однофазных замыканий.

5.Схема соединения ТТ в фильтр токов нулевой последовательности применяется для подключения защит от однофазных к.з. в сетях с заземленной нейтралью.

6.Однотрансформаторные фильтры токов нулевой последовательности (с использованием ТНП или ТНПШ) применяются для подключения земляных защит в сетях с изолированной нейтралью.