Материал: Lekcija_No_3

Внимание! Если размещение файла нарушает Ваши авторские права, то обязательно сообщите нам

В зависимости от типа автомата в них устанавливаются различные расцепители: тепловые, электромагнитные, электронные.

Тепловой расцепитель представляет собой тепловое реле, принципиальная схема которого приведена на рис. 3-3. Основным элементом теплового реле, которое реагирует на количество тепла, выделяемого в его нагревательном элементе (биметаллической пластине) при прохождении через него тока. Биметаллическая пластина 1, выполняется из 2-х различных металлов а и б, которые при нагревании удлиняются на разную величину, вследствие чего пластина изгибается и освобождает защёлку 2. Далее под действием пружины 3 производится отключение автомата и замыкание контакта 4. Время срабатывания тепловых расцепителей тем больше, чем меньше ток перегрузки.

ЭлектромагнитныйРис. 3 3. Принципиальная схема тепловогопредставляетрасцепителя.собой электромагнит, который при мгновенно притягивает якорь, вследствие чего происходит отключение автомата.

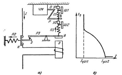
Принципиальная схема электромагнитного расцепителя мгновенного действия и его защитная характеристика представлена на рис. 3-4.

Рис. 3 4 Принципиальная схема (а) и время токовая характеристика (б)

Приэлект.з. ртокмагнитного, превышающийасцепителяуставкумгновенногорасцепителядействия, проходит. через обмотку электромагнита Э и якорь Я, преодолевая усилие пружины П1, притягивается к электромагниту. Далее, рычаг защёлки Р3 поворачивается, расцепляя защёлку З и под действием пружины П2 силовые контакты автомата размыкаются, отключая повредившийся элемент сети от источника питания.

Электромагнитными расцепителями мгновенного действия оснащаются выпускаемые отечественной промышленностью автоматические выключатели серии А.

Промышленностью выпускаются также автоматы, имеющие

комбинированные расцепители (например, автоматы серии АВМ),

которые осуществляют защиту, как от перегрузки, так и от к.з. Комбинированные расцепители могут содержать комбинацию из 2-х расцепителей теплового и электромагнитного или 2-х электромагнитных расцепителей один из которых осуществляет защиту от перегрузки (время его срабатывания зависит от величины тока), другой – защиту от к.з. (мгновенный).

Принципиальная схема комбинированного расцепителя и его защитная (время-токовая) характеристика представлены на рис. 3-5. При возникновении тока перегрузки электромагнитная сила притяжения якоря Я к электромагниту Э не преодолевает усиление сильной пружины П3, но способна растянуть слабую пружину П1. В результате часовой механизм ЧМ запускается через рычаг Р. При повороте оси ЧМ на определённый угол, прекращается удерживание оси часовым механизмом, якорь притягивается к электромагниту, защёлка З освобождается и автомат отключается, разрывая силовые контакты. При токе к.з. электромагнитное усилие мгновенно преодолевает усилие пружины П3 и автомат срабатывает мгновенно. Значения уставок могут изменяться при помощи устройств уставки У1 и У2 с фиксацией на шкалах Ш1 и Ш2.

Рис. 3 5. Принципиальная схема (а) и время токовая характеристика (б) электромагнитного расцепителя с часовым механизмом.

С целью расширения возможностей использования автоматов для выполнения токовой защиты автоматы серии АВМ могут оборудоваться так называемым замедлителем расцепителя, который создаёт независимую от тока дополнительную выдержку времени 0,25-0,4 с или 0,4-0,6 с. Наличие замедлителя сдвигает защитную характеристику автомата вверх, что расширяет возможности согласования время-токовых характеристик

автоматов установленных на смежных участках электрической сети. Такие автоматы называются селективными.

Автоматы серии А3100 оснащаются тепловыми расцепителями. Автоматы серий А3110, А3120, А3130 и А3140 оснащаются

электромагнитными расцепителями мгновенного действия и тепловыми расцепителями.

Основные технические параметры автоматических выключателей:

номинальное напряжение автомата Uав. ном.;

номинальный ток автомата Iав. ном.;

номинальный ток расцепителя Iрасц.ном.;

ток уставки расцепителя замедленного действия Iуст.1;

ток уставки расцепителя мгновенного действия Iуст.2.

Выбор автоматов, используемых в качестве токовой защиты, должен осуществляться с соблюдением следующих условий:

Uав.ном. Uсети

Iав.ном. Iраб. макс.

(3-4)

Iуст.1

(1,3÷1,5)

Iраб. макс.

 

Iуст.2

(1,5÷1,8)

Iпер.

 

Кроме того, расцепитель автомата характеризуется его защитной (время-токовой) характеристикой.

Ток перегрузки Iпер. определяется с учётом пусковых токов электродвигателей. Защита считается чувствительной, если

Ê÷

=

Iê.ìèí

1,4

(3-5)

 

 

 

Ióñò.2

 

Выводы:

1.Автоматические выключатели (автоматы) представляют собой аппараты, состоящие из выключателя с мощной контактной системой для отключения токов к.з. и реле токовой защиты, действующих на отключение автомата при возникновении повреждения или перегрузки.

2.Автоматы имеют ряд существенных преимуществ по сравнению с плавкими предохранителями:

готовность к быстрому включению немедленно после отключения защищаемой линии;

способность отключать все три фазы защищаемого присоединения, в то время как перегорание предохранителя в одной фазе может привести к опасному режиму работы на 2-х фазах для электродвигателей.

3.Наличие лучших защитных (время-токовых) характеристик автоматов, по сравнению с плавкими предохранителями предопределило широкое их применение в качестве основной токовой защиты в электрических сетях до 1 кВ.

1.3.Максимальная токовая защита линий

Основным признаком возникновения к.з. и перегрузки является увеличение тока в линии. На использовании этого признака и основан принцип действия максимальной токовой защиты (МТЗ), которая приходит в действие (срабатывает) при увеличении тока сверх определённого значения. В качестве реле, реагирующих на возрастание тока, используются максимальные токовые реле.

Максимальные токовые защиты являются основным видом защит для радиальных сетей с односторонним питанием и устанавливаются в начале каждой линии со стороны источника питания. При таком расположении защит каждая линия имеет самостоятельную защиту, отключающую линию в случае повреждения на ней или на шинах питающиеся от неё подстанции. Селективность МТЗ обеспечивается соответствующим выбором тока и времени срабатывания. Защита наиболее удалённая от источника питания имеет наименьший ток срабатывания и наименьшую выдержку времени. Защита каждой последующей линии имеет большую выдержку времени чем выдержка времени предыдущей защиты.

При к.з. в какой-либо точке сети, например, в точке К1 (рис. 3-6), ток к.з. проходит по всем участкам сети между источником питания и местом повреждения, в результате чего приходят в действие (запускаются) защиты 2 и 3. Однако, по условию обеспечения селективности на отключение, должна подействовать только защита 2, установленная на поврежденной линии.

Рис. 3 6 Время срабатывания МТЗ с независимыми (а) и (б) с зависимыми

Основными параметрами срабатывания МТЗ являются: ток срабатывания (Iс.з.)

характеристиками выдержек времени в радиальной сети.

и время срабатывания (tс.з.) защиты.

Время срабатывания (выдержка времени) МТЗ в общем случае выбирается на ступень селективности ( t) больше наибольшей выдержки времени предыдущей защиты (рис. 3-6, а):

tс.з.2 = tс.з.1

+

t

(3 6)

tс.з.3 = tс.з.2

+

t

 

В зависимости от используемых реле и выключателей ступень селективности может иметь различные значения. Например, при использовании вторичных реле косвенного действия t не превышает 0,2-0,6 с, а при использовании менее точных реле прямого действия t составляет 0,8-1 с.

Обычно в расчетах ступень селективности принимается равной 0,5с.

МТЗ в зависимости от типа используемых реле может иметь независимую от величины тока (следовательно, независимую от места к.з.) характеристику

выдержки времени (рис. 3-6, а) или зависимую от тока характеристику выдержки времени (рис. 3-6, б). Наличие зависимой от тока выдержки времени принципиально позволяет ускорить отключение больших токов к.з.

МТЗ с независимой выдержкой времени реализуются на реле тока типа РТ-40

иреле времени, а с зависимой выдержкой времени – на комбинированных реле тока

ивремени РТ-80.

Рассмотренный принцип выбора выдержек времени срабатывания для МТЗ с независимой выдержкой времени называется ступенчатым.

Необходимо отметить, что в сетях с 2-х сторонним питанием (с несколькими источниками питания) достичь селективного действия МТЗ только путём подбора выдержек времени, как правило, не удаётся и необходимо применять более сложные направленные защиты.

Ток срабатывания защиты

Минимальный ток, при котором защита срабатывает называется током срабатывания максимальной токовой защиты.

Ток срабатывания МТЗ выбирается большим максимального рабочего тока защищаемой линии (максимального тока нагрузки) с учетом необходимости возврата защиты после отключения к.з. защитой предыдущего участка сети.

Для решения этой задачи необходимо выполнить следующие условия:

1. Ток срабатывания защиты должен быть больше максимального рабочего тока нагрузки:

 

Iс.з. > Iраб.макс

(3-7)

где:

 

 

 

 

Iс.з.

- ток срабатывания;

 

Iраб.макс

- максимальный рабочий ток нагрузки.

 

2. После отключения внешнего к.з. пусковые органы защиты должны

вернуться в исходное состояние:

 

 

Iñ.ç. >

Iðàá.ìàêñ

 

(3-8)

 

Ê B

 

 

 

где: