Министерство образования и науки Украины
Сумский государственный университет
Методические указания
к выполнению курсовой работы
«Расчет энергетических характеристик твердотельного лазера, работающего в режиме модулированной добротности»
по курсу «Квантовая электроника»
для студентов направления подготовки
Сумы Изд-во СумГУ 2000
Учебное издание
Методические указания
к выполнению курсовой работы
«Расчет энергетических характеристик твердотельного лазера,
работающего в режиме модулированной добротности»
по курсу «Квантовая электроника»
для студентов
направления подготовки бакалавр «Электроника»
Составители: К.А.Пушкарев
А.В.Хоменко
Ответственный за выпуск А.И.Олемской
План 2000 г., поз. Условн.печ.л.
Подп. к печати Формат 60´84 І/16 Уч.-изд. л.
Тираж 150 экз. Заказ № Бесплатно
Себестоимость издания
Изд-во СумГУ. 40007, Сумы, ул. Римского-Корсакова, 2
«Ризоцентр» СумГУ. 40007, Сумы, ул. Р.-Корсакова, 2
содержание
1 Введение..........................................................................................4
2 Цель курсовой работы.....................................................................4
3 Краткие теоретические сведения....................................................4
4 Задания...........................................................................................22
5 Пример выполнения......................................................................24
6 Список литературы........................................................................29
Курс «Квантовая электроника» является базовым курсом для студентов направления подготовки бакалавр «Электроника». Он дает возможность изучить принцип действия, характеристики и основные процессы в многочисленных квантовых приборах.
Квантовая электроника в настоящее время превратилась в мощный инструмент научного прогресса. Так, развитие лазерной техники привело к созданию квантовых приборов, применение которых в науке, технике, в системах контроля загрязнения окружающей среды, в медицине, в системах записи, хранения и передачи информации трудно переоценить. В связи с этим возрастает необходимость подготовки высококвалифицированных специалистов, способных эксплуатировать и совершенствовать квантовые приборы.
Курсовая работа является самостоятельной работой студента и ставит цель закрепить, углубить и расширить знания, полученные при изучении теоретического курса «Квантовая электроника». При выполнении курсовой работы студент должен приобрести практические навыки по расчету энергетических характеристик лазерного излучения при работе твердотельного лазера.
Для практического использования лазеров необходимо управлять мощностью, пространственным и временным распределением излучения лазеров.
Под модуляцией понимается изменение по заданному закону характеристик лазерного излучения для получения информационного сигнала с определенной временной зависимостью. Модуляцию можно осуществить изменением показателя преломления оптической среды, изменением добротности резонатора, расщеплением или сдвигом рабочих уровней атомов, молекул и т.д. [1].
Метод управления добротностью резонатора для увеличения типовой мощности лазерного излучения был предложен Р.Х.Хелавортом в 1962 г. [2]. Суть этого метода сводится к созданию большой перенаселенности атомов на метастабильном уровне. Накачка активного вещества лазера производится при больших потерях мод резонатора, что достигается путем перекрытия зеркал. Известно, что индуцированное излучение возникает при условии самовозбуждения, т.е. при такой накачке, когда усиление в активном веществе за один проход энергии компенсирует возможные потери. Чем больше потери, тем выше порог генерации и тем больше должна быть энергия накачки. В момент следования заданного импульса накачки управление интенсивностью излучения достигается искусственным уменьшением добротности резонатора путем мгновенного включения дополнительных потерь. В результате этого условие самовозбуждения не выполняется. В определенный момент цикла накачки, когда потери быстро уменьшаются за счет открывания резонатора, возбужденные атомы, переходя на нижний уровень, излучают мощный короткий импульс. Получаемый импульс из-за огромной пиковой мощности излучения, порой достигающей единиц гигават, назван гигантским, а метод повышения пиковой мощности - модуляцией добротности резонатора лазера.
Известны различные типы переключателей добротности: оптико-механические, электрооптические, пассивные (фототропные) и акустооптические.
Рассмотрим пассивные методы управления добротностью резонатора лазера [2]. Фототропные затворы основаны на использовании резонансно-поглощающих веществ, прозрачность которых меняется под действием лучистой энергии. Применение таких веществ в качестве светозатвора в генераторе, работающем в режиме получения гигантский импульсов, значительно упрощает его конструкцию, т.к. при этом отпадает необходимость в сплошных электронных и синхронизирующих системах.
Резонансное поглощение, используемое для формирования и управления индуцированным излучением, свойственно многим кристаллам, наибольший практический интерес из которых представляют растворы фталоционина.
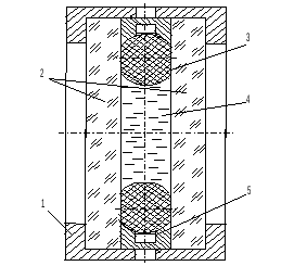
Фототропный затвор представляет собой кварцевую кювету с раствором фталоционина, помещенного в корпус из титанового сплава (рис.2.1). Параллельность входного и выходного окон кюветы должна составлять 25 - 30². Компенсационное резиновое кольцо должно обеспечивать надежную герметизацию и не приводить к образованию линзы из входных и выходных окон фототропного затвора. При юстировке лазера в целом фототропный затвор устанавливают таким образом, чтобы блики от входных окон не попадали в генерационный канал.
В различных областях науки и техники нашли применение лазеры с различной твердотельной активной средой (рубин, неодимовое стекло, гранат и др.). Лазеры на стекле характеризуются высокими уровнями импульсной энергии и большими плотностями мощности излучения при небольших частотах следования импульсов; лазеры на рубине характеризуются высокой средней мощностью; лазеры на иттрий- аллюминевом гранате характеризуются высокой частотой повторения импульсов излучения и непрерывным режимом излучения [3]. Основными параметрами, определяющими возможность их применения, являются выходная энергия импульса излучения Евых и длительность импульса генерации tг.

Рисунок 2.1 – Схема конструкции фототропного затвора:
1 - титановый корпус; 2 - входное и выходное окна кюветы;
3 - кольцо-компенсатор; 4 - фталоцианин; 5 - установочное кольцо

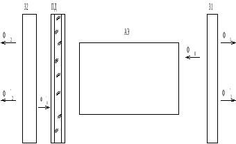
Рисунок 2.2 – К выводу энергетических соотношений в рубиновом лазере с пассивным переключателем добротности
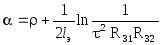
Рассмотрим энергетические соотношения в лазере с пассивным светозатвором [4]. Резонатор лазера (рис.2.2) с зеркалами З1 и З2, имеющими коэффициенты отражения R31 и R32, содержит активный элемент (АЭ) длиной lэ с коэффициентом усиления a и коэффициентом потерь на линии генерации r, а также переключатель добротности (ПД) с коэффициентом пропускания t, размещаемый между активным элементом и зеркалом З2. Положим, что в момент времени t0 световой поток Ф0 направлен от зеркала З1 к активному элементу. Выходные потоки Ф1 и Ф2 соответственно равны
(2.1)
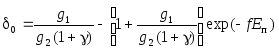
Потери светового потока в светозатворе на пути от зеркала З1 к зеркалу З2 и на обратном пути определяются выражениями
Тогда суммарные потери в светозатворе
.
(2.2)
Потери светового потока в активном элементе на пути от зеркала 31 к зеркалу 32
,
а на обратном пути
.
Тогда суммарные потери в активном элементе
(2.3)
Для
момента t1
(t1
-
t0
<
tГ),
когда световой поток
направлен от зеркала З2 к зеркалу З1,
потоки на выходе
и
будут
соответственно равны:
(2.4)
.
Полагая, что в течение импульса генерации отношение выходных потоков является величиной постоянной:
,
(2.5)
и подставляя выражения (2.1), (2.4) в (2.5), находим условие постоянства отношений световых потоков в течение импульса генерации
или
(2.6)
Если
положить t=1,
то из выражения (2.6) получим пороговое
условие генерации
.
В рассматриваемом случае пороговое
условие определяется выражением (2.6)
при коэффициенте пропускания затвора
в закрытом состоянии t0.
Отношение выходной энергии к полной энергии принимается равным отношению световых потоков:
Евых/Е0=Ф1 /Ф0, (2.7)
где Ф0=Ф1 +Ф2 + ФПД + ФАЭ.
Обозначим отношение
Е0/Евых=А0/А1=В. (2.8)
Энергетический коэффициент связи В характеризует связь между энергией Е0 и энергией импульса излучения лазера Евых. При коэффициенте отражения зеркала З2, равном единице,
.
(2.9)
При t=1 выражение (2.9) принимает вид
.
Энергия, выделяющаяся в резонаторе при генерации импульса [5],
Е0 = 0,5 n0 h nr Sэф la (dmax-dmin), (2.10)
где Sэф - площадь генерирующей части торца активного элемента (эффективная площадь генерации); la - облучаемая часть активного элемента; dmax – максимальная относительная инверсная населенность уровней к моменту включения добротности резонатора; dmin – минимальная относительная инверсная населенность уровней, которая имеет место в активной среде после генерации моноимпульса; n0 – число атомов активатора в единице объема, см-3; nr - частота излучения, Гц; h=6,6×10-34 Дж×с - постоянная Планка.
Определим соотношения для параметров, входящих в (2.10). Для трехуровневой системы относительная инверсная населенность уровней
,
(2.11)
где n1 , n2 – число атомов активатора в единице объема, соответственно находящихся в основном и метастабильном состояниях.
Величина d может быть определена выражением
,
где g1 , g2 - статистические веса уровней; для рубина g1=4, g2=2;
,
(2.11а)
k=1,38×10-16
эрг×град-1
- постоянная Больцмана;
-
частота на линиях R1,
R2,
с-1;
Т
- температура активного элемента, К;
f
- фактор связи между источником накачки
и активным элементом.
Инверсная населенность, соответствующая пороговой энергии накачки, определяется соотношением
.
(2.12)
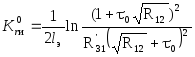
Инверсная населенность может быть также выражена через параметры, характеризующие потери и усиление.
Коэффициент усиления
,
а при
пороговой энергии накачки![]()
![]()
или
,
где
.
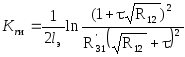
(2.13)
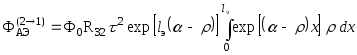
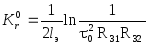
Следует отметить, что выражение (2.13) не учитывает имеющие место в резонаторе интерференционные явления, с учетом которых (при R32=1) коэффициент потерь в закрытом состоянии затвора определяется соотношением
,
(2.14)
а в открытом состоянии
.
(2.15)
В выражениях (2.14) и (2.15)
;
(2.16)
(2.17)
где
–
коэффициент отражения первого зеркала
с учетом интерференции;
(2.18)