регулировки продольного 20 и поперечного 24 углов наклона деки, механиз-
ма регулировки частоты колебаний деки |
4, станины 21, регулятора скорости |
||||||||||||
воздушного потока 12, загрузочного рукава 14, фильтра 18, всасывающего |
|||||||||||||
вентилятора и электрической части. |
|
|
|
|
У |
||||||||
|
|
|
|
|
|
|
|
|
|
|
|
|
|
|
|
Станина имеет две вертикальные стойки с осями 11 и 22, на которые |
|||||||||||
опирается через подшипники рама зонта 3. На одной стороне ось 11 непод- |
|||||||||||||
|
|
|
|
|
|
|
|
|
|
|
|
Т |
|
вижна, а на другой – ось 22 может перемещаться по вертикали посредством |
|||||||||||||
регулятора 20. Все узлы и механизмы машины размещены под зонтом, к ко- |
|||||||||||||
торому на наклонных плоских подвесках |
|
А |
|
||||||||||
8 прикреплен стан 1. На стане уста- |
|||||||||||||
новлен рабочий орган стола – дека 7, а снизу – приемник фракций 2. |
|
|
|||||||||||
|
|
На раме зонта расположен вибропривод 19, связанный со станом шату- |
|||||||||||
ном, приводящим его в колебательное движение под углом к горизонту. |
|
||||||||||||
|
|
Дека представляет собой перфорированную поверхность с размерами |
|||||||||||
отверстий, исключающими возможность просеивания частицГвороха. |
|
|
|||||||||||
|
|
|
|
|
|
|
|
|
|
й |
|
|
|
|
|
Зонт гибким патрубком 15 соединен с всасывающей аспирационной |
|||||||||||
системой. Между станом и зонтом для герметизацииБустановлено эластичное |
|||||||||||||
уплотнение 9. |
|
|
|
|
Внутри |
|
|
|
|||||
|
|
|
|
|
|
|
|
|
|||||
|
|
Рама зонта и стана соединены стяжками 10 и пружинами 5, которые |
|||||||||||
|
|
|
|
|
|
|
|
р |
|
зонта установлен электриче- |
|||
обеспечивают рабочее положение стана. |
|
||||||||||||
ский светильник |
|
|
кото |
ого осуществляется выключателем, рас- |
|||||||||
13, включение |
|
||||||||||||
положенным на задней ст йке станины. Там же находятся зажимы для под- |
|||||||||||||
|
|
|
|
|
|
т |
|
|
|
|
|
|
|
ключения электрической час и машины к сети. Для наблюдения за техноло- |
|||||||||||||
|
|
|
|
|
и |
|
|
|
|
|
|
|
|
гическим процессом в зон е имеются пять смотровых окон. |
|
|
|||||||||||
|
|
|
|
з |
|
|
|
|
|
|
|
|
|
|
|
Технолог ческ й процесс очистки и сортирования. Зерновой ворох |
|||||||||||
|
|
|
о |
|
|
|
|
|
|
|
|
|
|
поступает на деку через загрузочный рукав 14 и бункер 17 с воздушным за- |
|||||||||||||
твор м. Дека с вершает колебательные движения под углом к горизонталь- |
|||||||||||||
|
пл |
|
|
|
|
|
|
|
|
|
|
||
ной |
|
ск сти и продувается потоками воздуха, забор которого осуществля- |
|||||||||||
ется вентилят р м аспирационной системы через фильтр 18. Фильтр служит |
|||||||||||||
е |
|
|
|
|
|
|
|
|
|
|
|
||
для выравнивания скоростей воздушного потока и для очистки его от пыли, |
|||||||||||||
которая может забивать рабочую поверхность деки, ухудшая качество работы |
|||||||||||||
Р |
|
|
|
|
|
|
|
|
|
|
|
|
|
машины. Воздух проходит через фильтр, деку, зонт и поступает в воздуховод аспирационной системы. Обрабатываемый материал приходит в псевдоожиженное состояние при одновременном воздействии на него колебаний рабочей поверхности деки и воздушного потока. При этом материал приобретает свойства жидкости и частицы с большой плотностью (условно называемые тяжелыми) опускаются на поверхность деки, а частицы с малой плотностью
86
(легкие) – всплывают. Таким образом, материал расслаивается. Плотность частиц нижних слоев больше, чем верхних.
Нижний слой вороха имеет значительное сцепление с рабочей поверхностью деки и движется в направлении колебаний. Верхний слой имеет не-
|
|
|
|
|
|
|
|
|
|
|
|
|
|
У |
значительную связь с нижележащими слоями и стекает в сторону опущенного |
||||||||||||||
края деки под действием силы тяжести. Чем ближе расположен слой мате- |
||||||||||||||
|
|
|
|
|
|
|
|
|
|
|
|
|
Т |
|
риала к рабочей поверхности стана, тем больше связь этого слоя с нижеле- |
||||||||||||||
жащими слоями и тем больше траектория его частиц приближается к направ- |
||||||||||||||
|
|
|
|
|
|
|
|
|
|
|
|
А |
|
|
лению движения нижнего слоя. В результате на разгрузочной кромке стана |
||||||||||||||
(рис. 6.28) можно получить несколько фракций (1…4), плотность частиц ко- |
||||||||||||||
торых увеличивается от первой к последней. |
|
Г |
|
|
||||||||||
|
|
|
|
|
||||||||||
|
|
|
|
|
|
|
|
|
|
Б |
|
|
|
|
|
|
|
|
|
|
|
|
|
й |
|
|
|
|
|
|
|
|
|
|
|
|
|
и |
|
|
|
|
|
|
|
|
|
|
|
|
|
р |
|
|
|
|
|
|
|
|
|
|
|
|
|
о |
|
|
|
|
|
|
|
|
|
|
|
|
|
т |
|
|
|
|
|
|
|
|
|
|
|
|
|
и |
|
|
|
|
|
|
|
|
|
|
|
|
|
з |
|
|
|
|
|
|
|
|
|
|
|
|
|
о |
|
|
|
|
|
|
|
|
|
|
|
|
|
п |
|
|
|
|
|
|
|
|
|
|
|
|
|
е |
|
|
|
|
|
|
|
|
|
|
|
|
|
|
Р |
|
|
|
|
Рис. 6.28. Технологическая схема |
|
|
|
|
|||||
Пневмостол может работать по следующим основным технологическим схемам:
87
а) очистка – выделение из материала легких и тяжелых по сравнению с основными материалами примесей. При работе по этой схеме ворох делится на фракции:
1– легкие примеси;
2…3 – основная культура;
4– тяжелые примеси;
|
|
|
|
|
|
|
|
|
|
|
У |
|
|
|
|
|
|
|
|
|
|
Т |
|
|
|
б) сортирование – разделение вороха на фракции, отличающиеся плот- |
|||||||||
ностью: |
|
|
|
|
|
|
|
ГА |
|
||
|
|
1…2 – легкие семена; |
|
|
|
|
|||||
|
|
|
|
|
|
|
|||||
|
|
3…4 – тяжелые семена; |
|
|
|
|
|
||||
|
|
в) очистка – сортирование – одновременное выделение из вороха легких |
|||||||||
и тяжелых примесей: |
|
|
|
|
|
|
|
||||
|
|
1 – легкие примеси; |
|
|
|
|
Б |
|
|||
|
|
2 – легкая фракция семян; |
|
|
|
|
|||||
|
|
3 – тяжелая фракция семян; |
|
|
|
||||||
|
|
4 – тяжелые примеси. |
|
|
|
|
|||||
|
|
|
|
|
|
|
|
|
й |
|
|
|
|
|
|
|
|
|
ли |
|
|
||
|
|
Продольный угол наклона деки устанавливается шестеренно-винтовым |
|||||||||
механизмом 11 (рис. 6.29), поднимающ м |
|
опускающим ось, на который |
|||||||||
|
|
|
|
|
|
|
р |
|
|
|
|
опирается зонт. Механизм расположен в передней стойке станины. Вращени- |
|||||||||||
ем маховичка добиваются |
необходимого |
показания шкалы, расположенной на |
|||||||||
|
|
||||||||||
боковой поверхности стойки. |
|
|
|
|
|
||||||
|
|
|
|
|
т |
беспечивает движение легких частиц вороха, |
|||||
|
|
Продольный наклон деки |
|||||||||
|
|
|
и |
|
|
|
|
|
|
||
всплывших на поверхнос ь сл я, в п перечном направлении, к выходу легкой |
|||||||||||
фракции. Вследств е всплывания легких частиц над поверхностью деки они |
|||||||||||
|
|
|
з |
|
|
|
|
|
|
|
|
теряют свя ь с ней скатываются в сторону наклона. Поэтому, чем больше |
|||||||||||
угол |
продольного |
наклона, тем интенсивнее, |
то есть с большей скоростью |
||||||||
|
|
||||||||||
скатываются семена к примеси, расположенной в верхней части слоя, к выхо- |
|||||||||||
|
п |
|
|
|
|
|
|
|
|
|
|
ду легк й фракции. Для зерновых культур продольный угол наклона равен |
|||||||||||
7…8°. П еречный угол наклона деки регулируется винтовым механизмом 2, |
|||||||||||
е |
|
|
|
|
|
|
|
|
|
||
рас оложенным на передней торцевой стенке зонта. Подвижная гайка меха- |
|||||||||||
низма системой тяг связана с осью 1. |
|
|
|
|
|||||||
Р |
|
Этот угол наклона деки определяет толщину слоя на ней. При увеличе- |
|||||||||
|
|
||||||||||
нии угла поперечного наклона скорость схода материала с деки увеличивается, вследствие чего толщина слоя уменьшается, и, наоборот, при уменьшении
– толщина увеличивается. При очистке семян зерновых культур толщина слоя в зоне расслоения должна быть 35…45 мм.
88
|
|
|
|
|
|
|
|
|
|
|
|
|
У |
|
|
|
|
|
|
|
|
|
|
|
|
Т |
|
|
|
|
|
|
|
|
|
|
|
|
А |
|
|
|
|
|
|
|
|
|
|
|
|
Г |
|
|
|
|
|
|
|
|
|
|
|
|
|
Б |
|
|
|
|
|
|
|
|
|
|
|
|
й |
|
|
|
|
|
|
|
|
|
|
|
|
и |
|
|
|
|
|
|
|
|
|
|
|
|
р |
|
|
|
|
|
|
|
|
|
|
|
|
о |
|
|
|
|
|
|
|
|
|
|
|
|
т |
|
|
|
|
|
|
|
|
|
|
|
|
и |
|
|
|
|
|
|
|
|
|
|
|
|
з |
|
|
|
|
|
|
|
|
|
|
|
|
о |
|
|
|
|
|
|
|
|
|
|
|
|
п |
|
|
|
|
|
|
|
|
|
|
|
|
е |
|
|
|
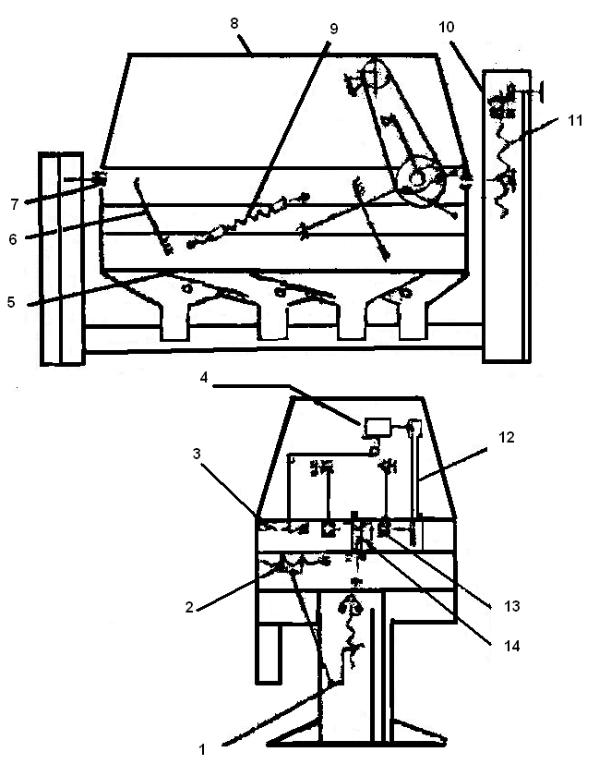
Рис. 6.29. Кинематическая схема: |
|
|
|
||||||
Р |
|
|
|
|
|
|
|
||||||
1 – |
ось; 2 – механизм регулировки поперечного угла наклона деки; 3 – механизм |
|
|||||||||||
регулировки частоты колебаний деки; 4 – двигатель; 5, 8 – заслонки; 6 – подвеска; |
|
||||||||||||
|
7, 10, 13, 14 – подшипники; 9 – пружины; 11 – механизм регулировки |
|
|
||||||||||
|
|
|
продольного угла наклона деки; 12 – ремень |
|
|
|
|||||||
Частота колебания деки регулируется винтовым механизмом 3, расположенным в полости зонта. Маховичок находится на боковой стенке зонта, а
89
шкала – внутри него на поперечном уголке и видна через окно зонта. Подвижная гайка механизма тросом связана с поворотной плитой, на которой установлен электродвигатель 4, приводящий во вращение вал вибропривода. При перемещении электродвигателя изменяются межцентровое расстояние
|
|
|
|
|
|
|
|
|
|
У |
клиноременной передачи и частота вращения вала вибропривода. Регулиров- |
||||||||||
ку частоты колебания деки необходимо производить только при работающем |
||||||||||
электродвигателе. |
|
|
|
|
Т |
|||||
|
|
|
|
|
|
|||||
|
Скорость воздушного потока регулируется заслонкой 8, перекрываю- |
|||||||||
|
|
|
|
|
|
|
|
А |
|
|
щей поперечное сечение люка в верхней стенке зонта. Заслонка перемещается |
||||||||||
при помощи реечной передачи. Маховичок расположен в верхней части зонта |
||||||||||
и фиксируется гайкой во избежание самопроизвольного поворота. |
|
|
||||||||
|
Регулировка количества материала, поступающего в выходы машины, |
|||||||||
осуществляется тремя заслонками 5, расположенными в приемнике фракций |
||||||||||
под кромкой деки, в который стекают очищенные семенаГ. Заслонки переме- |
||||||||||
|
|
|
|
|
|
|
|
й |
|
|
щаются реечными передачами. Рукоятки расположены снаружи приемника |
||||||||||
фракций и фиксируются в необходимом положенииБгайками. Левой рукоят- |
||||||||||
|
|
|
|
|
|
|
и |
|
|
|
кой перемещается задвижка, регулирующая выход легких примесей, правой – |
||||||||||
тяжелых, а средней – выход второго |
|
семян. |
|
|
||||||
верхность деки. При мал й ск рсортасти воздушного потока на поверхности деки |
||||||||||
|
Подготовка машины к аботе. |
После включения пневмостола и его |
||||||||
аспирационной |
системы |
необходимо |
установить частоту колебаний деки |
|||||||
390…400 колебаний в минуту. Осуществить подачу вороха на рабочую по- |
||||||||||
|
|
|
|
|
т |
|
|
|
|
|
|
|
|
|
деки |
|
|
|
|
|
|
масса начнет двигаться по ее к с му борту к выходу тяжелой фракции. Сле- |
||||||||||
дует выждать, пока по ок ма ериала не достигнет разгрузочной кромки. |
|
|||||||||
|
|
з |
|
|
|
|
|
|
||
|
Затем регулятором увеличивают скорость воздушного потока на рабо- |
|||||||||
чей |
поверхности |
|
до состояния легкого «кипения» слоя. Образование |
|||||||
|
|
|
|
|||||||
«фонтан в» не д пускается, при их возникновении скорость воздушного по- |
||||||||||
п |
|
|
|
|
|
|
|
|
|
|
тока следует уменьшить. |
|
|
|
|
|
|||||
|
П сле эт го надо откорректировать частоту колебаний деки. При сдвиге |
|||||||||
е |
|
|
|
|
|
|
|
|
|
|
ожиж нного воздухом обрабатываемого вороха вверх по деке частоту коле- |
||||||||||
баний следует уменьшить, при сдвиге вниз – увеличить. Частота колебаний |
||||||||||
Р |
|
|
|
|
|
|
|
|
|
|
явля тся оптимальной, если ворох на деке распределен равномерно. |
|
|
||||||||
Если невозможно добиться равномерного распределения вороха изменением частоты колебаний деки, то необходимо уменьшить угол ее продольного наклона.
Затем устанавливают заслонки приемника фракций согласно выбранной схеме работы (рис. 6.30).
90