=9,8
–
ускорение свободного падения, м/с2;
–
плотность жидкости, кг/м3;
– расстояние от уровня жидкости до
нижней точки рассчитываемого элемента,
м.
При расчете на прочность стенок рубашки принимается
,
где
-
рабочее давление теплоносителя, Па.
Расчетное наружное давление при проверке стенок корпуса на устойчивость определяется по формулам.
Для элементов корпуса без рубашки:
, (2.2)
где
-
расчетное наружное давление, Па;
=105
- атмосферное давление, Па;
-
остаточное давление в
корпусе
(при работе аппарата в условиях вакуума),
Па.
Для элементов корпуса, находящихся под рубашкой:
.
где
–
давление в рубашке, Па. (2.3)
Расчетная температура. За расчетную температуру принимается температура среды в аппарате.
Допускаемое напряжение для выбранного материала определяется по формуле
, (2.4)
где
-
допускаемое
напряжение, для данного типа материала,
Па;
-
поправочный коэффициент, учитывающий
пожароопасность и взрывоопасность
среды в аппарате;
-
допускаемое напряжение, принятое для
дальнейших расчетов, Па.
Для
взрыво- и пожароопасных сред
=0,9,
в остальных случаях принимают
=1,0.
Прибавка
для компенсации коррозии
к
расчетным толщинам конструктивных
элементов, находящихся в контакте с
агрессивной средой, определяется по
формуле
, (2.5)
где
-
скорость коррозии в рабочей среде,
мм/год,
- срок службы аппарата, количество лет.
2.3.1. Оболочки, нагруженные внутренним давлением
1) расчет толщины стенки цилиндрической обечайки (рис. 2.1).[31]
, (2.6)
при
,
где
-
внутренний диаметр корпуса;
-
расчетное давление;
-
допускаемое напряжение;
-
коэффициент прочности продольного
сварного шва обечайки;
-
прибавка на коррозию;

Рис. 2.3. Расчетные схемы корпусов аппаратов:
а) с эллиптическим днищем и крышкой;
б) со съемной крышкой, эллиптическим днищем и рубашкой;
в) со съемной крышкой и коническим днищем.
С - дополнительная прибавка на округление до стандартной толщины листа, которую определяют по минимальному значению ближайшей меньшей толщины листа сортамента.
Для стыковых и тавровых сварных швов с двухсторонним проваром, выполненных автоматической сваркой, допускается принимать φ=1,0, а при ручной сварке φ=0,95. Для односторонних сварных швов φ=0,9 [7].
2) расчет эллиптической крышки (днища) (рис. 2.3, а).
Для стандартных крышек исполнительная толщина стенки
, (2.7)
где
–
толщина стенки эллиптической крышки,
м;
3) расчет конического днища с тороидальным переходом (рис. 2.3, в).
Для стандартных днищ при угле конуса α=450 толщина цилиндрической части So принимается равной толщине конического элемента:
, (2.8)
где
–
толщина стенки конического днища, м;
Dp=0,8D - расчетный диаметр конического днища, м.
2.4. Расчет корпуса при нагружении наружным давлением
Расчетные схемы элементов корпуса представлены на рис. 2.3.
1. Толщина стенки цилиндрической обечайки предварительно определяется по формуле
. (2.9)
Коэффициент К2 определяется по номограмме, приведенной на рис. 2.4, в зависимости от вспомогательных коэффициентов:
,
где
=
2,4
-
коэффициент запаса устойчивости в
рабочем состоянии;
- модуль продольной упругости для
материала обечайки при расчетной
температуре стенки;
- расчетная длина гладкой обечайки (см.
рис. 2.3);
- внутренний диаметр аппарата.
После предварительного определения толщины стенки обечайки проверяют допускаемое наружное давление по формуле
, (2.10)
где допускаемое давление из условия прочности
, (2.11)
а допускаемое давление из условия устойчивости
, (2.12)
где
.

Рис. 2.4. Номограмма для расчета на устойчивость в пределах упругости обечаек, работающих под наружным давлением
2. Толщина стенки стандартного эллиптического днища, работающего под наружным давлением, определяется по формуле:
. (2.13)
3. Расчет конического днища. Толщину стенки предварительно определяют по формуле (2.9), условно считая оболочку цилиндрической.
После определения толщины стенки проверяют допускаемое наружное давление:
,
где
-
допускаемое давление из условия
прочности;
-
допускаемое давление из условия
устойчивости.
; (2.14)
. (2.15)
Коэффициент
.
За расчетную длину принимают
. (2.16)
Расчетный диаметр конической обечайки определяется по формуле
; (2.17)
где
-внутренний
диаметр аппарата;
-
внутренний диаметр нижнего штуцера;
-
угол
при вершине конуса.
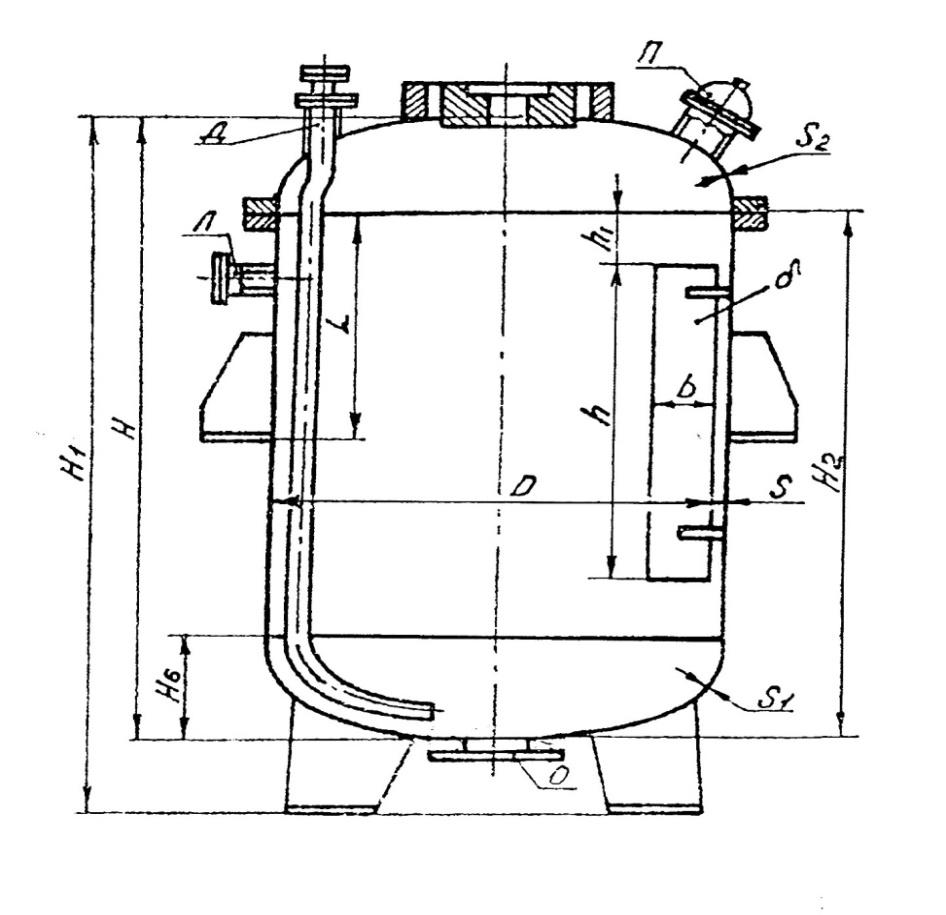
2.5. Варианты конструкций корпусов
Типы, параметры и размеры корпусов аппаратов
Таблица 2.4
Параметры конструкции корпуса типа 00 по ОСТ 26-01-1246-75
|
Ном. объем, м3 |
Размеры, мм |
|
Рис. 2.5. Корпус типа 00 |
||||||||
|
D |
H |
H1 |
H2 |
L |
h |
h1 |
b |
δ |
H6 |
||
|
0,63 |
1000 |
950 |
1375 |
725 |
360 |
325 |
50 |
100 |
6 |
275 |
|
|
1,00 |
1200 |
1450 |
1700 |
1175 |
450 |
825 |
50 |
120 |
325 |
||
|
1,25 |
1100 |
1320 |
775 |
420 |
575 |
50 |
340 |
||||
|
1,6 |
1650 |
1870 |
1325 |
450 |
925 |
50 |
350 |
||||
|
2,0 |
1400 |
1550 |
1750 |
1175 |
450 |
725 |
50 |
140 |
8 |
375 |
|
|
2,5 |
1850 |
2050 |
1475 |
540 |
1025 |
50 |
390 |
||||
|
3,2 |
1600 |
1850 |
2100 |
1425 |
540 |
925 |
50 |
160 |
425 |
||
|
4,0 |
2250 |
2560 |
1825 |
650 |
1325 |
50 |
440 |
||||
|
5,0 |
1800 |
2230 |
2510 |
1740 |
550 |
1175 |
50 |
180 |
490 |
||
|
6,3 |
2780 |
3060 |
2290 |
650 |
1700 |
50 |
500 |
||||
|
8,0 |
2000 |
2880 |
3230 |
2340 |
800 |
50 |
200 |
540 |
|||
|
10,0 |
2200 |
2980 |
3310 |
2390 |
800 |
50 |
220 |
550 |
|||
Таблица 2.5
Параметры конструкции корпуса типа 01 по ОСТ 26-01-1246-75 (размеры H6, h, h1, b, δ (табл. 2.4)
|
Ном. объем, м3 |
Размеры, мм |
Рис. 2.6. Корпус типа 01 |
||||||||
|
D |
D1 |
H |
H1 |
H2 |
H3 |
H4 |
L |
I |
||
|
0,63 |
1000 |
1100 |
950 |
1160 |
675 |
100 |
220 |
- |
200 |
|
|
1,0 |
1200 |
1300 |
1100 |
1320 |
775 |
110 |
240 |
540 |
250 |
|
|
1,25 |
1300 |
1520 |
975 |
|||||||
|
1,6 |
1650 |
1870 |
1325 |
|||||||
|
2,0 |
1400 |
1500 |
1550 |
1740 |
1175 |
150 |
260 |
650 |
||
|
2,5 |
1850 |
2100 |
1475 |
700 |
||||||
|
3,2 |
1600 |
1700 |
1850 |
1425 |
750 |
|||||
|
4,0 |
2250 |
2570 |
1825 |
|||||||
|
5,0 |
1800 |
1900 |
2230 |
2520 |
1740 |
|||||
|
6,3 |
2780 |
3010 |
2290 |
950 |
||||||
|
8,0 |
2000 |
2200 |
2880 |
3270 |
2340 |
320 |
375 |
|||
|
10,0 |
2200 |
2400 |
2980 |
3360 |
2390 |
1100 |
||||