Материал: 499

Внимание! Если размещение файла нарушает Ваши авторские права, то обязательно сообщите нам

ВВЕДЕНИЕ

На автомобилях для обеспечения электрической энергией потребителей применяется система электроснабжения. Она включает генератор, аккумуляторную батарею, регулятор напряжения и дополнительные приборы. На автомобиле генератор является основным источником электрической энергии. При работающем двигателе он обеспечивает электроэнергией все потребители и зарядку аккумуляторной батареи. В случае кратковременной перегрузки питание потребителей производится одновременно от генератора и аккумуляторной батареи.

Целью выполнения лабораторной работы является изучение конструкций и характеристик автомобильных генераторов, а также ознакомление с методами определения их технического состояния.

По результатам выполнения лабораторной работы составляется отчет. Отчет должен содержать цель работы, электрические схемы, результаты испытаний генератора, экспериментальную токоскоростную характеристику генератора, письменное мотивированное заключение о его техническом состоянии.

Порядок выполнения лабораторной работы:

-получение допуска к выполнению лабораторной работы у преподавателя (для этого нужно ознакомиться с техникой безопасности и изучить конструкции и характеристики генераторов);

-выполнение практической (экспериментальной) части лабораторной работы;

-обработка результатов, построение токоскоростной характеристики генератора;

-написание заключения о его техническом состоянии;

-защита лабораторной работы по прилагаемым контрольным во-

просам.

Техника безопасности при выполнении работ следующая. Выполнение лабораторной работы не предусматривает соблюдение

особых мер предосторожности и правил техники безопасности.

Работы по разборке и сборке генератора следует выполнять аккуратно, не прилагая больших усилий при демонтаже статора. При разборке генератора сначала снимается щеточный узел.

При испытаниях генератора напряжение на его клеммах не превышает 36 В и является безопасным.

8

Генератор на стенд устанавливается с помощью переходной муфты. При установке генератора не следует вплотную прижимать муфту к крышке генератора, нужно выставить зазор 1...3 мм. При испытаниях генератора не следует стоять в плоскости вращения соединительной муфты.

1. ГЕНЕРАТОРЫ ПЕРЕМЕННОГО ТОКА

1.1. Привод генераторов

Ротор генератора приводится во вращение с помощью клиноременной передачи. На двигателе автомобиля ремень охватывает шкив генератора, шкив коленчатого вала и часто шкив водяного насоса. Приводной шкив коленчатого вала имеет больший диаметр, чем шкив генератора. Передаточное отношение привода устанавливается в пределах от 1,5 до 2,4. Меньшие передаточные отношения привода у быстроходных карбюраторных двигателей автомобилей, а большие - у дизельных.

Частота вращения ротора генератора на автомобиле достигает 8...15 тыс. мин-1. Высокооборотные мощные генераторы оснащаются шкивом с двумя ручьями для снижения напряжений в ремнях и повышения срока их службы.

На двигателе генератор используется в качестве натяжного ролика. Для натяжения ремня ослабляют крепление генератора, поворачивают корпус и затем фиксируют в новом положении. Натяжение ремня контролируют по его прогибу при нажатии на ремень силой 40 Н. Прогиб составляет для грузовых автомобилей КамАЗ - 15…22, ЗИЛ - 8…14, ГАЗ - 10…15 мм, для легковых автомобилей ВАЗ 2108 прогиб 10…15 мм при усилии 100 Н.

В процессе эксплуатации ремень постепенно растягивается и изнашивается, натяжение ремня ослабевает. Поэтому в случае отказа генератора в первую очередь нужно проверить натяжение ремня. Большинство водителей предпочитают иметь запасной ремень.

1.2. Устройство генераторов

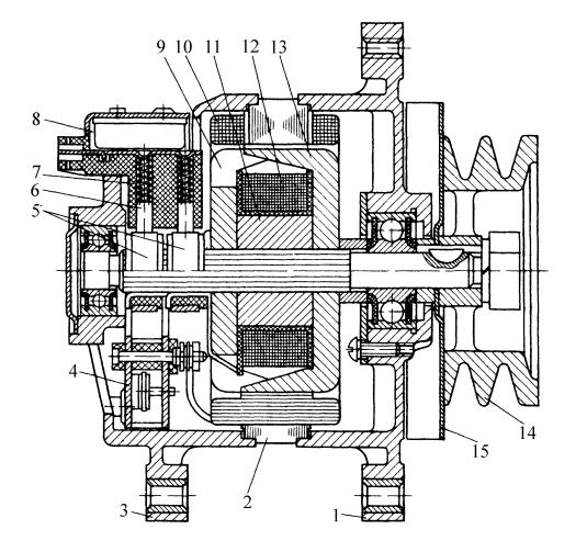
Автомобильный генератор состоит из следующих основных деталей: ротор, статор, крышки, выпрямительный и щеточный узлы. Корпуса, как отдельной детали, генераторы не имеют и собираются в один блок с помощью передней и задней крышек. Наиболее распространенная конструкция генератора показана на рис. 1. Это генератор на базе самого массового в России генератора Г250 со встроенным интегральным регулятором напряжения.

9

Рис. 1. Автомобильный генератор 17.3701:

1,3 – передняя и задняя крышки; 2 − магнитопровод статора; 4 – выпрямительный узел; 5 – кольца; 6 – щетки; 7 – щеточный узел; 8 – регулятор напряжения; 9, 13 – клювообразные полюсные половины ротора; 10, 12 – обмотки статора и возбуждения; 11 – втулка; 14 – шкив; 15 – крыльчатка вентилятора

1.3. Ротор генератора

Ротор располагается внутри генератора и вращается с большой угловой скоростью.

Ротор состоит из стального вала, на котором крепятся клювообразные полюсные половины ротора 9 и 13 (см. рис.1), токоподводящие кольца 5, обмотка возбуждения и шкив 14 с крыльчаткой вентилятора 15.

Шкив крепится гайкой с пружинной шайбой и фиксируется на шпонке.

10

В средней части ротора установлена втулка, на которой крепится обмотка возбуждения. Обмотка возбуждения наматывается медным изолированным проводом. Обмотка возбуждения при вращении ротора тоже вращается и ток к ней подводится с помощью щеток и колец 5, к которым припаяны выводы обмотки. Обмотка рассчитана на прохождение электрического тока 3…4 А, имеет большое число витков и значительную индуктивность.

С обеих сторон обмотка возбуждения охватывается полюсными половинами, по которым проходит магнитный поток, создаваемый током обмотки возбуждения.

Ротор генератора вращается на двух шариковых подшипниках закрытого типа. При сборке генератора подшипники смазываются консистентной смазкой. Со стороны шкива устанавливается подшипник большего диаметра, чем с противоположной стороны. Этот подшипник работает в более тяжелых условиях, так как нагружен усилием натяжения ремня. Во время эксплуатации он отказывает чаще, чем подшипник на задней крышке. Этот подшипник закрывается крышкой, на которой нанесена маркировка генератора.

При работе генератора через него продувается воздух, что необходимо для охлаждения обмоток и выпрямительных диодов. С воздухом поступает пыль, вода и др., которые загрязняют генератор и способствуют износу подшипников, щеток и токоподводящих колец.

1.4. Статор генератора

Между передней 1 и задней 3 крышками устанавливается статор 2. Крышки стягиваются крепежными винтами.

Для предотвращения потерь на вихревые токи магнитопровод статора изготавливается из тонких пластин электротехнической стали. Пластины изолируются друг от друга лаковым покрытием.

При штамповке в пластинах вырубаются пазы, в которые потом укладываются обмотки статора, обмотки изолируются от пластин прокладками из электротехнического картона. Статор имеет 18 обмоток, а ротор по 18 полюсов на полюсных половинах.

Обмотки статора наматываются изолированным медным проводом диаметром 1,2…1,6 мм и пропитываются лаком МЛ-92. Выводы обмоток подключаются к выпрямительному блоку 4. Чаще всего обмотки подключаются по схеме “звезда”. При изготовлении генератора обмотки наматываются отдельно и потом закладываются в пазы пластин статора.

1.5. Выпрямительный узел

11

Конструктивно выпрямительный узел состоит из двух выпрямительных блоков, закрепленных на задней крышке и изолированных друг от друга пластмассовыми шайбами.

Выпускаются выпрямительные блоки типов БПВ и ВБГ. В настоящее время блоки типа ВБГ применяются редко, так как они имеют более сложную конструкцию.

Основу выпрямительного блока БПВ составляют штампованные алюминиевые пластины, в которые запрессованы кремниевые диоды.

Во всех блоках используются диоды марок Д104-20 и Д104-20х. Всего в выпрямительном узле установлено 6 диодов. Три диода Д104-20 прямой проводимости и три диода Д104-20х обратной проводимости. Диоды по конструкции одинаковые. Чтобы их отличать друг от друга на диодах прямой проводимости нанесена красная полоска, а на диодах обратной проводимости – черная. При изготовлении или ремонте блоков диоды запрессовываются в пластины усилием не более 5000 Н.

Три диода прямой проводимости запрессовываются анодами в одну пластину и три диода обратной проводимости запрессовываются катодами в другую. Алюминиевые пластины используются одновременно в качестве соединительных проводов и радиаторов для охлаждения. Сокращаются размеры выпрямительных узлов и число соединительных проводов.

Ввыпрямительных узлах БПВ 8-10014 автобусных генераторов Г286

иГ289 используется 12 диодов. Генератор 37.3701 с выпрямительным узлом БПВ 11-60 содержит 9 диодов, три из которых марки КД223А используются для подачи тока на обмотку возбуждения генератора.

На пластинах выпрямительных блоков имеются три клеммы, к которым подключаются фазные выводы статора и выводы диодов.

1.6.Щеточный узел

Спомощью щеточного узла подводится ток к обмотке возбуждения генератора. Щеточный узел располагается на задней крышке генератора. Он крепится к крышке двумя винтами.

Щеточный узел имеет полиэтиленовый корпус, в котором выполнены пазы для щеток.

На генераторах Г221, Г222 и 37.3701 используются электрографитированные щетки ЭГ51А размером 5х8х18 мм. Для других генераторов применяются металлографитированные щетки М1А размером 6х6,5х18 мм.

При изготовлении щеток в них запрессовывают многожильные медные провода, на которые одевают пружины и провода припаивают к контактам щеточного узла. Пружины обеспечивают надежный контакт щеток

скольцами ротора.

У генератора Г250 одна щетка соединена с корпусом генератора, а другая изолирована и подключена к клемме Ш. У других моделей генера-

12